Miniature Wi-Fi
DV Camera
QC8102
User Manual
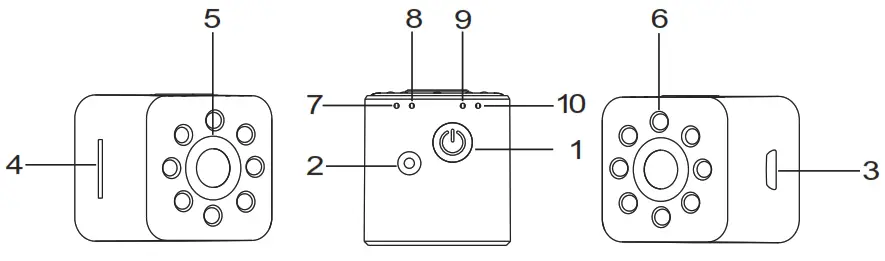
2. Mode key
3. US8 interface
4. TF card slot
5. 1-1d camera
6. Infrared light
7 . Power on indicator
8. Night vision indicator
9. WIFI indicator
10. Video/photo indicator
Features
- High solution pictures. FULL WIFI 1080 DV DC.
- Multi-Purpose holders for options, Applicable to a variety of environments.
- Compact design, portable handheld DV DC.
- Night Vision with 8 IR Lights, stronger night vision.
- WIFIwirelesshotspot,video real-time transmission.
- Video format: AVI1920x 1080P.
- Picture format: JPG4032x3024.
- USB 2.0 interface of high-speed transmission.
- Support 32GB TF card max.
- Support loop recording.
Operation
- Indicator light
1. Red light: Power-on/Standby Blue light: Video Recording/ Photograph Greenlight: WIFI on
2. No TF Card: Under the case of wifi off, red light flashing 5 times then power off. Under the case of wifi on, the green light
3. Built-in TF card: Under the case of wifi off and standby, red light bright, auto power-off after no operation within 1min
4. Low power: Auto power off after red light flashing 2 seconds - Power on/off: after long-press the
for 3 seconds, red light bright enter standby status. red light flashing once when device built-in TF card. Power off after long press
and red light flashing 5 times - Photograph: Under the case of standby status, shortly press, the red light flash once, picture done and saved, auto return to standby status. Video recording: Under the case of standby, shortly press the
, blue light flashing and enter the model of video recording, shortly press the - Video recording: Under the case of standby, shortly press the
blue light flashing and enter the model of video recording, shortly press the
again, auto video save and blue light off, auto return to standby status. - IR light: Under the mode of video recording, long-press
for 3 seconds, yellow light bright and IR light on, long press
for 3 seconds again, yellow light and IR light off. Auto return to video recording mode and blue light flashing. under the case of IR light on but stop video recording, IR light auto-off and return to standby - APP Download: Android mobile phone or tablet PC in the android market/Baidu mobile assistant/Google play store search “SPORTS DV” download! Phone mobile phone in App Store search “SPORTS DV” download. It can also be downloaded and installed by scanning instructions or two-dimensional codes on the outer packing box.

https://mobile.baidu.com/item?docid=11616538
https://itunes.apple.com/us/app/sports-dv/id1232416230?ls=1&mt=8
https://play.google.com/store/apps/details?id=com.libo.GPCamDemoa - Wifi Mode
(1) No TF Card and Wifi on: Under the case of standby, long press u for 3 seconds, green light bright and Wifi on, or over 8 seconds auto power off.
(2) Built-in TF card and Wifi off Under the case of standby, long press u for 3 seconds, green light bright, and Wifi on. Long press again for 3 seconds, green light and wifi off
- WIFI connection:
- Wii connecting: connecting the network start with “SQ13” like (SQ13 CE01) in the setting of mobile or tablet wifi; the default password is “12345678.
- When TF card built-in and successfully connect wf, green light on. open the APP and click”PLAY’enter the interface, it supports operating the video recording/Photograph on App as well as operate by the device button. If meet other problem, please click HELP to inquiry. (note: the video recording will stop if out of APP or return back the interface when watching the video recording.
(1) Change password: open the phone App and change it in the
settings. After the password is changed, the device needs to be restarted before it takes effect.
(2) R light: Under the case of Wifi video recording, long ress
for 3 seconds, yellow light bright and IRI fight on, long press
key again for 3 seconds, yellow light and IR light off. (Note: Only choose to save the video to TF card IR light can be open, it can’t be open when choose to save video on the phone which would make Wifi off)
• USB: Connecting to the computer under any case with USB cable, then enter the USB mode, now you can operate the disk, the wifi is off under this model.
• Charging: Built-in can charge Li-battery, if this is our first time use the device, you need to charge first with the following ways:
1. Charging by connecting to a computer with USB cable.
2. Recording and charging at same time. (connec tedUSB5V charger or power bank)
3. The red light is slow flash when charging, red It will long bright after charging finished. (Youcan charging more 30 mins to make sure the charging is 100% full.) Recording when charging: connecting to the charger, device will power on automatically, The machine automatically starts to wait for the red light to flicker, the device will not power off if no TF card or the card is full.
Time setting:
Time will be updated after the device connects wifi, please operate on App if no need for the watermark of time.
Pay attention:
(1) Please ensure Insert TF card, if no card, the device can’t be used (but can be used if under the case of wifi on)
(2) Please keep the lens at the distance of 50cm or more in a fully illuminated environment. This will be correct, the color is natural, the scenery is clear and the picture is stable.
Connect computer:
The device can be connected to the computer under the case of power on, standby and power off, and the device can use be USB flash for the file copy, paste, delete, and format. Connect the device to the USB port of a computer, the red light will long bright when the computer identifies the device. You can make the data transmission when the red light slows flash with the sign of a removable disk.
Note:
1. After the unit is connected to the computer, if the computer can not recognize it or the removable disk is not ejected after 30 seconds, reset it again and again.
2. recommended TF card reader directly to read the video file to play, and directly through the USB connection to save the machine built-in memory in the video file, the data may be too large, the transmission can not keep up, and lead to playback is not smooth.
Relevant parameters
| Ltem | Relevant parameter |
| Video Format | AVI |
| Video CODE | M-JPEG |
| Resolution | 1920x 1080P |
| Frame Rate | 30fps |
| Proportion | 16: 9 |
| Resolution | 4032 x 3024 |
| format | JPG |
| Battery type | Built-in high-capacity lithium polymer |
| Battery | 300mAh |
| Working time | 100minutes |
| Voltage | DC-5V |
| MEMORY | Max up to 32GB |
| Speed | High speed USB2.0 |
| Port | MicroUSB |
| System support | Windows me/2000/XP/W10/2003/Vista; Linux; Mac Os; |
| software | In system |
Final Note:
(1) Each time you use the battery and then charge, about to charge about 2 to 3 hours to fill, the indicator light is filled as much as possible after 30 minutes to ensure that the battery is full of useo
(2) please press the mode key and the power-on key at same time to reset if there is an abnormal or dead machine phenomenon happened.
(3) Bcause this product is the real HD DV, the product power consumption is larger than the Purple, the shell material using zinc alloy parts, and the use ofthe product maybe some hot state is normal, please do not worry about product failure, this product is After a long period of time after the test to ensure that the product is not quality problems when shipped.
Matters needing attention:
Intended Use: Please strictly abide by all relevant laws when using your Smart Camera. The product should not be used for any illegal purposes. Working in High Temperatures: Please use under natural room temperatures. The recorder may not function properly under extreme heat (above body temperature). Working in High Humidity: Please do not put the product in an overly damp or humid working environment. The product is not waterproof and may cease to function properly when wet (e.g. rainwater or spills). Shooting in High Illumination: Please avoid using the device under extreme light such as powerful spotlights or the direct sun to avoid damage to the lens.
Cleaning: Avoid using in an overly dusty environment, in order to protect the lens and other components from damage.
Distributed by: TechErands by Electus Distribution Pty. Ltd. 320 Victoria Rd. Rydalmere
NSW 2116 Australia
Ph: 1300 738 555
Intl: •61 2 8832 3200 Fax: 1300 738 500
www.techbrands.com
Made in China



(1) Change password: open the phone App and change it in the 


















