Haier QPCA08 Portable Room Air Conditioner

SAFETY INFORMATION
For your safety, the information in this manual must be followed to minimize the risk of fire, electric shock or personal injury.
- Use this appliance only for its intended purpose as described in this Owner’s Manual.
- This air conditioner must be properly installed in accordance with the Installation Instructions before it is used.
- Never unplug your air conditioner by pulling on the power cord. Always grip plug firmly and pull straight out from the receptacle.
- Replace immediately all electric service cords that have become frayed or otherwise damaged. A damaged power supply cord must be replaced with a new power supply cord obtained from the manufacturer and not repaired. Do not use a cord that shows cracks or abrasion damage along its length or at either the plug or connector end.
- Turn the unit OFF and unplug your air conditioner before cleaning.
- For your safety…do not store or use combustible materials, gasoline or other flammable vapors or liquids in the vicinity of this or any other appliance.
- If the receptacle does not match the plug, the receptacle must be changed out by a qualified electrician.
CONTROLS
Features and appearance will vary. Lights next to the touch pads on the air conditioner control panel indicate the selected settings.

NOTE: When the machine is powered on for the first time, the buzzer will play power-on music and then the machine will go into standby status.
Power Button
Turns ON/OFF power to the air conditioner.
NOTE: Turning off power by pressing the Power button does NOT disconnect the appliance from
power supply. Press the Power button. The power indicator and temperature display will illuminate, select desired settings. After one minute, the display lights will turn off. Press any button on the unit or the remote. The display will illuminate. Then press corresponding buttons to change unit function.
Note: If changes functions from the remote, it may required multiple button pushes to synchronize remote to the unit.
Mode Button
Press the Mode button to toggle among the operating options. The corresponding indicator will illuminate: Cool – Cools the room to the set temperature DRY – Reduces the humidity in the room Fan – Circulates the air in the room without cooling
+ and – Buttons
Sets the Temperature when in Cooling Mode or sets the Time when Timer is selected.
To Set the Temperature:
Press the + or – button to select the required temperature. NOTE: The temperature cannot be set when the air conditioner is in either Fan or DRY mode.
To Set the Time:
Press the + or – button to select the required time.
Fan Speed Button
The fan speed can be adjusted from Low to High speed when the air conditioner is in operation.
NOTE: The fan speed cannot be adjusted when the unit is in DRY mode.
Timer Button
Program a time from (1 hour to 24 hours) for the air conditioner to turn Off or On.
Sleep Mode
Press the Sleep button to turn on Sleep Mode.
NOTE: You cannot turn on the Sleep mode in the Dry or Fan Mode.
NOTE: When the inner unit chassis is full of water, the Water Full light will turn on. A buzzer will sound for several seconds and the compressor will stop.
Refer to the instructions on page 6 for draining the water from the unit.
CONTROLS
The display will always default to show SET temperature. When the air conditioner is turned on, it will automatically start in the last mode and fan settings selected.
FROST PROTECTION FUNCTION:
In cooling or dry mode, if the temperature of the exhaust hose is too low, the AC will automatically go into a unit protection state. When the temperature rises to a normal temperature, the unit will automatically resume normal operation.
OVERFLOW PROTECTION FUNCTION:
When water in the water pan exceeds the warning level, the machine will automatically sound an alarm, the FULL indicator light will flash and the unit will shut down. At this point, you need to drain the water from the lower drain (See Drainage instructions for details) After the water is emptied, the machine the machine will automatically resume normal operation.
AUTOMATIC DEFROSTING (on some models)
The machine has an automatic defrosting function.
PROTECTION FUNCTION OF THE COMPRESSOR
To increase the service life of the compressor, the AC has a 3-minute delay after the compressor has shut off to protect the compressor.
DRAINAGE INSTRUCTIONS
Draining the unit manually:
Note: Please move the AC carefully, do not spill the water in the water pan at the bottom of the unit.
- When the AC stops after the water is full, turn off the AC power and unplug the power plug.
- Place a water container larger than the sump capacity (at least 1-1/2 quart) below the lower rear water outlet on the back side of unit.
- Remove the plug, the water will automatically flow into the container.
- After water has been drained from the unit, re-install the water plug securely.
Continuous drainage (optional, and only in dry mode)
- Remove the upper drain plug.
- Connect a drain hose with an inside diameter of 5/8” to the water outlet.
- Route drain hose to a bucket or floor drain.
- Be sure to use a large container (3 gallons or larger is recommended) and monitor the water level in the container continuously. The unit will not shut off when the container is full. An overflowing container can cause flooding and damage to the floor.

CONTROLS
Features and appearance may vary. Icons on the remote control indicate the selected settings

REMOTE CONTROL
- Insert the two AAA batteries (provided).
- Aim the remote control at the signal receiver on the control panel to operate the air conditioner.
- A. Power Button
Turns ON/OFF power to the air conditioner. - B. Mode Button
Press the Mode button to toggle among the operating options, cooling, fan and dry mode. - C. + and – Button
Adjusts the Temperature or Timing set value. - D. Fan Button
Press the Fan button to adjust fan speed from Low to High speed. - E. Timer
Press Timer button to activate the ON/OFF timer. Use the + and – buttons to adjust the timer. - F. Sleep Button
Press the Sleep button to turn on the sleep mode.
Note: after last button is pushed. To turn on the LED display, press any button on the unit or the remote. Then press corresponding function to change settings, the remote may require multiple pushes to synchronize the unit.
CARE AND CLEANING
CLEANING THE SURFACE
Clean surface of machine with a wet soft cloth. Do not use chemicals, such as benzene, alcohol, gasoline, etc.; otherwise, the surface of the air conditioner will be damaged or the entire unit will be damaged.
AIR FILTER
The air filters should be cleaned at least every two weeks for your unit to operate at optimum efficiency.
STORAGE
If the unit is not being used for a long period of time: To Empty the Internal Water Tank:
- Unplug or disconnect power.
- Drain the water from the water tank. (See “Internal Water Tank section” above.)
- Use the original packaging to repack the unit to avoid a buildup of dust or dirt.
- Store the air conditioner in a cool, dry location.

INSTALLATION INSTRUCTIONS
BEFORE YOU BEGIN
Read these instructions completely and carefully.
- IMPORTANT — Save these instructions for local inspector’s use.
- IMPORTANT — Observe all governing codes and ordinances.
- Note to Installer – Be sure to leave these instructions with the Consumer.
- Note to Consumer – Keep these instructions for future reference.
- Skill level – Installation of this appliance requires basic mechanical skills.
- Completion time – Approximately 1 hour
- We recommend two people to install this product.
- Proper installation is the responsibility of the installer.
- Product failure due to improper installation is not covered under the Warranty.
CAUTION
- Do not, under any circumstances, cut or remove the third (ground) prong from the power cord.
- Do not change the plug on the power cord of this air conditioner.
- Aluminium house wiring may present special problems—consult a qualified electrician.

Power cord includes a current interrupter device. A test and reset button is provided on the plug case. The device should be tested on a periodic basis by first pressing stay engaged, discontinue use of the air conditioner and contact a qualified service technician.
LOCATION REQUIREMENTS
- Place the air conditioner on a flat, level surface in a location that is at least 20” (50 cm) from any wall.
- Maintain a minimum 20” (50 cm) clearance around the air conditioner to not block airflow.
- Keep the air conditioner free of any obstructions such as drapes, curtains, blinds, etc.
- The exhaust hose should be free of any obstructions.
- Do not place the air conditioner on an unstable or raised surface because it could fall and cause damage or injury.
- Do not place the air conditioner in direct sunlight or near a heat source such as baseboard heaters, stoves, etc.
- The window panel can be installed in a window with a minimum 20” (50.8 cm) to a maximum 48” (121.9 cm) opening.

PARTS INCLUDED (Appearance may vary)

- Top Cover
- Control Panel
- Side Panel
- Air Outlet / Louver
- Front Housing
- Rear Housing
- Caster
- Base Pan
- Upper Filter
- Upper Continuous Drain
- Cord Wrapping Post
- Exhaust Air Vent
- Lower Filter
- Lower Drain

WINDOW PANEL COMBINATIONS TO FIT WINDOW OPENINGS (Appearance may vary)

UNPACK AIR CONDITIONER
- Remove packaging materials. Save the carton and the foam packaging for storing the air conditioner when not in use.
- Properly dispose of/recycle all packing material.
- Handle the air conditioner gently.
- Keep the air conditioner upright and level. Do not set the air conditioner on its side, front, back or upside down.
INSTALL EXHAUST NOZZLE TO MAIN WINDOW PANEL

- Hold the main window panel so that the L-shaped edges of the panel are facing you.
- Align the exhaust nozzle with the slots in the opening, and then insert and slide the nozzle to access the hole from the back of the main window panel.
- Turn the main window panel over, so that the nozzle is away from you. Insert a flat tip screw through the hole to fasten the window panel to the adapter.
INSTALL MAIN WINDOW PANEL AND EXTENSION PANELS
- Open the window and place the window kit assembly into the window.

- Adjust the extension panel(s) to the width or height of the window as shown.
- Depending on the number of extension panels used, turn the knobs to secure the extension panel(s) to the main panel. Install from the back.

NOTE: There are many window types on the market today. Use the foam strips and brackets (provided) to secure the extension panels that will fit the window opening.
Skip to step 6 for wood windows.
Place the two top window brackets and two bottom window brackets where they will best support the extension panels. Use painted screws to attach top bracket to the support panels.

Apply the top foam strip (provided) across the top of the window panel assembly, and then apply the bottom foam strip (provided) across the bottom front edge of the window panel assembly, as shown.

- Top Foam Strip
- Top Bracket
- Extension Panel
- Bottom Bracket
- Bottom Foam Strip
Place the window panel assembly in the window, and using the screws provided, fasten the assembly to the window sill and window frame

Using one pointed screw, install the Security bracket to the window

- Security Bracket
- Pointed Screw (1)
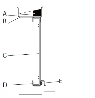
Attach Exhaust Hose to the Exhaust Nozzle
- Grasp both ends of the exhaust hose and gently pull to expand fully the ends of the hose. Note: Do not attach multiple hoses to extend the length, this would decrease the cooling efficiency and may cause damage to the air conditioner.
- Turn hose clockwise and screw into the nozzle in the window panel. Attach adapter to other end of hose by turning clockwise.

CONNECT EXHAUST HOSE TO THE AIR CONDITIONER
- Extend the flexible exhaust hose to reach out to the unit.
- Aim the opening of the hose to the air exhaust outlet and push it hard straight into the outlet until it clicks.

TROUBLESHOOTING TIPS
| Problem | Possible Causes | Solution |
| Unit does not start or operate | Power supply cord is not plugged into an outlet. | Plug the power cord into a grounded 3 prong outlet. |
| Power supply cord has tripped. | Press and release the RESET button on the power supply cord. | |
| The Power button has not been pressed. | Press the Power button on the Control Panel or Remote Control to turn ON the air conditioner. | |
| There is no power to the electrical outlet. | Plug a working lamp into the outlet to check for power. | |
| A household fuse has blown or a circuit breaker has tripped. | Replace the fuse or reset the circuit breaker. | |
| The control was programmed for a Time Delay. | Cancel the Time Delay. See “Control Panel.” | |
| The batteries in the remote control are dead. | Replace the batteries. | |
| The internal water tank is full. NOTE: The air conditioner automatically turns off, and the Water Full indicator illuminates to alert you of this condition. | Empty the water tank. See “Air Conditioner Care.” | |
| Remote control is not working | Batteries are dead. | Replace the batteries. |
| Batteries are installed incorrectly. | Make sure the batteries are inserted in the correct position. | |
| Air conditioner is working but the room is not cooling. | The room temperature is hot. NOTE: On extremely hot and humid days,the air conditioner will take longer to cool the room. | Allow time for the room to cool when you first turn on the unit. Make sure the air conditioner has an adequate BTU rating for the size of the room being cooled. |
| The control is set incorrectly to Fan or Dehum mode. | Set the Mode to Cool and the Fan Speed to High. | |
| Airflow is restricted. | Remove any obstacles to the airflow and redirect airflow for uniform cooling. | |
| Temperature set too high. | Lower the set temperature. | |
| Air filters are dirty or restricted. | Clean the air filter. See “Air Conditioner Care.” | |
| Air conditioner installed incorrectly | Check the exhaust hose and window panel for proper installation. | |
| Doors and windows are open. | Close the doors and windows to the room being cooled to prevent cooled air from escaping. |
LIMITED WARRANTY
What Haier Appliances Will Not Cover
- Service trips to your home to teach you how to use the product.
- Improper installation, delivery or maintenance. If you have an installation problem, or if the air conditioner is of improper cooling capacity for the intended use, contact your dealer or installer. You are responsible for providing adequate electrical connecting facilities.
- Failure of the product resulting from modifications to the product or due to unreasonable use including failure to provide reasonable and necessary maintenance.
- In commercial locations, labor necessary to move the unit to a location where it is accessible for service by an individual technician.
- Replacement of house fuses or resetting of circuit breakers.
- Failure due to corrosion on models not corrosion-protected.
- Damage to the product caused by improper power supply voltage, accident, fire, floods or acts of God.
- Incidental or consequential damage caused by possible defects with this air conditioner.
- Damage caused after delivery.
EXCLUSION OF IMPLIED WARRANTIES—Your sole and exclusive remedy is product repair as provided in this Limited Warranty. Any implied warranties, including the implied warranties of merchantability or fitness for a particular purpose, are limited to one year or the shortest period allowed by law. This limited warranty is extended to the original purchaser and any succeeding owner for products purchased for home use within the USA. If the product is located in an area where service by a GE Authorized Servicer is not available, you may be responsible for a trip charge or you may be required to bring the product to an Authorized your home. Some states do not allow the exclusion or limitation of incidental or consequential damages. This limited warranty gives you specific legal rights, and you may also have other rights which vary from state to state. To know what your legal rights are, consult your local or state consumer affairs office or your state’s Attorney General. Warrantor US: GE Appliances, a Haier company Louisville, KY 40225




















