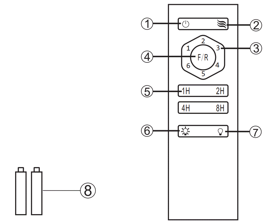
SANKEY 22040079 DC Fan Lamp Remote Controller

FUNCTION INSTRUCTION OF EMITTER
- Fan Shutdown
- Natural Wind
- Speed Controller
- Rotation Direction WIFI Pairing
- Timer
- Light ON
- Light OFF
- 1.5V AAA battery * 2pcs
KINDLY REMINDERS
- . If the emitter can not control the fan, learning code matching mode is used betvween emitter and receiver. Turn “ON” the supply power within 10 seconds and press the emitter’s ” ” button for 5 seconds, it can load normally after hearing a long sound “bee”, which means learning successfully and it can works normally. (PS: Learning mode is not accepted after turn “ON” the supply power for 10 seconds)
- When the emitter cannot control the receiver, please check the battery switch touching normally or not, correction of the positive and negative, full or empty of the power.
- When the emitter cannot control the receiver, please check is there any existence of similar remote controlled products nearby, then check whether they works, because remote controlled product with the same frequency will disturb each other.
- The App Linking method.(Only Intellectual product) Turn on the supply power within 60 seconds and Press the emitter’s ‘WIFI Pairing’ buttion for 5 seconds, still hear continuous ‘bee’ sound.
- Please take out the battery from the emitter when leaving unused for long time.
- When installing the fan,the fan ceiling cover don’t press the antenna(or other wire),it is easy to breakdown the wire and short-circuited.
FCC
This equipment has been tested and found to comply with the limits for a Class B digital device, pursuant to part 15 of the FCC Rules. These limits are designed to provide reasonable protection against harmful interference in a residential installation. This equipment generates, uses and can radiate radio frequency energy and, if not installed and used in accordance with the instructions, may cause harmful interference to radio communications. However, there is no guarantee that interference will not occur in a particular installation. If this equipment does cause harmful interference to radio or television reception, which can be determined by turning the equipment off and on, the user is encouraged to try to correct the interference by one or more of the following measures:
- Reorient or relocate the receiving antenna.
- Increase the separation between the equipment and receiver.
- Connect the equipment into an outlet on a circuit different from that to which the receiver is connected.
- Consult the dealer or an experienced radio/TV technician for help.
Caution: Any changes or modifications to this device not explicitly approved by manufacturer could void your authority to operate this equipment. This device complies with part 15 of the FCC Rules. Operation is subject to the following two
conditions: (1) This device may not cause harmful interference, and (2) this device must accept any interference received, including interference that may cause undesired operation. RF Exposure Information The device has been evaluated to meet general RF exposure requirement. The device can be used in portable exposure condition without restriction.


















