amaran P60x Bi-Color LED Panel User Manual
Foreword
Thank you for purchasing the amaran series LED photography light amaran P60x.
The amaran P60x is a panel photography light with adjustable temperature (3200K-6500K), power of 60w, and maximum illuminance of 5070lux@1m (5600K). The P60x is also excellent in terms of light quality, with a color rendering index of up to CRI95+, TLCI 97, and no flicker at all.
The amaran P60 series is creators’ best choice because of its feature of lightweight and flexibility.
IMPORTANT SAFETY INSTRUCTIONS
When using this unit, basic safety precautions should always be followed, including the following:
- Read and understand all instructions before using.
- Close supervision is necessary when any fixture is used by or near children. Do not leave the fixture unattended while in use.
- Care must be taken as burns can occur from touching hot surfaces.
- Do not operate the fixture if a cord is damaged, or if the fixture has been dropped or damaged, until it has been examined by quali fied service personnel.
- Position any power cables such that they will not be tripped over, pulled, or put into contact with hot surfaces.
- If an extension cord is necessary, a cord with an amperage rating at least equal to that of the fixture should be used. Cordsrated for less amperage than the fixture may overheat.
- Always unplug the lighting fixture from the electrical outlet before cleaning and servicing, or when not in use. Never yank the cord to remove the plug from the outlet.
- Let the lighting fixture cool completely before storing.
- To reduce the risk of electric shock, do not immerse this fixture in water or any other liquids.
- To reduce the risk of re or electric shock, do not disassemble this fixture. Contact [email protected] or take it to qualified service personnel when service or repair work is required. Incorrect reassembly may cause electric shock when the lighting fxture is in use.
- The use of an accessory attachment not recommended by the manufacturer may increase the risk ofre, electric shock, or injury to any persons operating the fixture.
- Power this fixture by connecting it to a grounded outlet.
- Please do not place the LED lighting fixture near any flammable object.
- Only use a dry microfiber cloth to clean the product.
- Please have the product checked by an authorized service personnel agent if your product has a problem.
- The malfunctions caused by unauthorized disassembly are not covered under the warranty.
- We recommend only using the original Aputure cable accessories.
Please note that our warranty for this product does not apply to any repairs required due toany malfunctions of unauthorized Aputure accessories, although you may request such repairs for a fee. - This product is certified by RoHS, CE, KC, PSE, and FCC. Please operate the product in full compliance with the operation standards. Please note that this warranty does not apply to repairs arising from malfunctions, although you may request such repairs on a chargeable basis.
- The instructions and information in this manual are based on thorough, controlled company testing procedures. Further notice will not be given if the design or specifications change.
SAVE THESE INSTRUCTIONS
FCC compliance statement
This device complies with Part 15 of the FCC rules. The operating equipment must meet the following two conditions:
- This device will not cause harmful interference;
- This device can withstand any external interference, including interference that may cause unintended operation.
[Warning] If the user makes changes or modifications without the express permission of Aitus, he may lose the right to continue to operate the device.
[Note] This device has been tested and determined to comply with the limits of a Class B digital device (in accordance with Part 15 of the FCC rules).
These limits are designed to provide reasonable protection from harmful interference in residential installations. This device generates, uses, and can radiate radio frequency energy. If it is not installed and used in accordance with the instructions, it may cause harmful interference to radio communications. However, under certain installation conditions, there is no guarantee that such interference will not occur. If this equipment does cause harmful interference to radio or television reception, and this can be determined by turning off and on the equipment, it is recommended that the user try one or more of the following measures to eliminate the interference:
- Increase the distance between the equipment and the receiver.
- Connect the equipment to an outlet on another circuit, not the outlet on the circuit to which the receiver is connected.
- Consult the dealer or an experienced radio/TV technician for help
FCC radiation exposure statement
This device complies with FCC radiation exposure limits for uncontrolled environments.
Componets List
amaran P60x
AC Power cable
Adapter
Carrying case
Bracket light stand
Softbox
Grid
Product Details


Installation
The lamp fixing
Screw the 1/4’’ to 3/8’’ screw clockwise into the 1/4’’ copper nut at the bottom (or side) of the LED lamp, and tighten it;Connect the 1/4’’ to 3/8’’ screw and the lamp holder through the lamp holder support column, adjust the appropriate angle and tighten it.

Softbox installation
The light soft box can be installed according to the needs of use.
- Stretch soft box

- Straighten the two support rodson both sides of the soft box to become a support rod

- Install the soft box to the lamp body.

- The grid can be installed according to the requirements.

Power supply
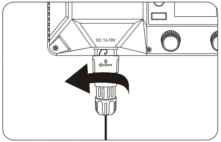
Adapter power supply 
When disassembling the power cable, please rotate the spring lock button on the power cable before disassembling, do not pull it hard.
Lithium battery power supply
* This product uses a lithium battery model Sony NP-F Series: NP-F960/F970
Battery Installation: Slide the lithium battery into the battery slot.
Battery Removing: Press the battery lock button while gently pushing up the battery to remove the battery.
V-mount battery or Anton Bauer battery power supply
Through the “D-tap to DC” connection cable, the lamp body can be connected to the V-mount battery or Anton Bauer battery for power supply.
* D-tap to DC cable needs to be purchased separately.
Operation Instructions
Turning on the Light
After connecting the lamp body to an appropriate power source, press the power switch to start the P60x.
Manual Control
* The speed at which you rotate the knob will result in different rates of change.
Rotate the Intensity (INT) Wheel to adjust the intensity of the light from 0-100
Rotate the CCT / HUE wheel to adjust the CCT of the light from 3200K-6500K.
- Press the LIGHTING button to enter CCT mode to adjust the CCT and INT of the light.

- Press the EFFECTS button, the default current light effect mode takes effect ( a total of four light effects: paparazzi, Strobe, fireworks, Pulsing ).
Paparazzi
Strobe
Fireworks
Pulsing
- Press the MENU button to enter the menu interface.

Menu introduction
- Fan Mode
Press the MENU button to enter the menu interface, rotate the INT wheel to select and press to enter the Fan mode, rotate the INT wheel to select the smart/medium mode, and then short press the INT wheel to confirm the selection.
- Studio Mode
Press the MENU button to enter the menu interface, rotate the INT wheel to select and press to enter the Studio mode interface. Rotate the INT wheel to select “Yes”, and the power-on light is on.
- Bluetooth Reset
Press the MENU button to enter the menu interface, rotate the INT wheel to select and press to enter the Bluetooth Reset. Rotate the wheel to select “YES” to reset the Bluetooth pairing; If you choose “NO”, then it will return to the previous menu.
- Fixture Serial No
Press the MENU button to enter the menu interface, rotate the INT wheel to select and press to enter the Fixture Serial No. and you can see that device has a unique serial number.
- Language
Press the MENU button to enter the menu interface, rotate the INT wheel to select and press to enter the Language menu. You can rotate the INT wheel to select English or Chinese, and then press the Select wheel to confirm the selection.
- Firmware Version
Press the MENU button to enter the menu interface, rotate the INT wheel to select and press to enter the Firmware Version, You can check the firmware version number of the fixture.
- Custom FX
Press the MENU button to enter the menu interface, rotate the INT wheel to select and press to enter the Custom FX. You can choose to enter Picker FX, Music FX, or Touchbar FX interface. Each type can save 10 custom FXs.
In the name of each FX, “NO FX” means unsaved FX, and “Untitled” means saved FX.
- Exit
Press the MENU button to enter the menu interface, rotate the INT wheel to select and press to enter the Exit.You can return to the initial interface of CCT mode.
Use of Sidus Link APP
You can download the Sidus Link app from the iOS App Store or Google Play Store for enhancing the functionality of the light. Please visit sidus.link /app/help for more details regarding how to use the app to control your Aputure lights.
Specifications
| CCT | 3200K~6500K |
| CRI | ≥95 |
| TLCI | ≥97 |
| CQS | ≥95 |
| SSI (D56) | ≥71 |
| SSI (D32) | ≥85 |
| Beam angle | 45° |
| Power Output | ≤60W |
| Power Input | ≤90W |
| Operating Current | 6A |
| Operating Voltage | 100V-240V 50Hz/60Hz |
| NP-F Battery Operating Voltage | 6.5v-8.4v |
| V/Anton Bauer Mount Battery Operating Voltage | 12.5V-16.8V |
| Operating temperature | -20°C ~ 45°C / -4°F ~ 113°F |
| Control Methods | Manual,Sidus Link APP |
| Wireless Operating Range (Bluetooth) | ≥80m / 262.5ft |
| Screen Type | OLED |
| Cooling Method | Active Cooling |
| Head Cable | 2-Pin DC Head Cable |
| Power cable | Locking Power cable(1.5m) |
| Lamp Head Size | 25.10*17.40*3.95cm |
| Lamp Head Weight | 979g |
Photometrics
| CCT | Distance | 0.5m | 1m | 2m |
| 3200K | Lux | 17570 | 4860 | 1280 |
| Fc | 1632 | 452 | 119 | |
| 4300K | Lux | 17670 | 4940 | 1283 |
| Fc | 1642 | 459 | 119 | |
| 5600K | Lux | 18120 | 5070 | 1328 |
| Fc | 1683 | 471 | 123 | |
| 6500K | Lux | 18410 | 5180 | 1354 |
| Fc | 1710 | 481 | 126 |
* This is an averaged result. The luminance of your individual unit may vary slightly from this data
Trademark statement
Sony is a trademark and product model of Sony Corporation in China or other countries.
GUARATEE CARD
| Serial No. | |
| Item Name | |
| Purchase Date | |
| Buyer Name | |
| Buyer Phone | |
| Buyer Add | |
| Franchiser Seal |
Aputure Imaging Industries Co.,Ltd.
Inspection: Qualified
Service Warranty
Aputure Imaging Industries Co., Ltd. warrants the original consumer purchaser from defects in material and workmanship for a period of one (1) year after the date of purchase. For more details of warranty visit www.aputure.com
Important:
Keep your original sales receipt. Be sure the dealer has written on it the date, serial No. of the product. This information is required for warranty service.
This warranty does not cover:
- Damage that is the result of misuse, abuse, accident (including but not limited to damage by water), faulty connection, defective or maladjusted associated equipment, or the use of the product with equipment for which it was not intended.
- Cosmetic defects that appear more than thirty (30) days after the date of purchase. Cosmetic damage caused by improper handling is also excluded.
- Damage that occurs while the product is being shipped to whoever will service it.
This warranty is void If:
- The product identification or serial No. label is removed or defaced in any way.
- The product is serviced or repaired by any one other than Aputure or an authorized Aputure dealer or service agency.
Aputure Imaging Industries Co., Ltd.
Add: F13, Building 21, Longjun industrial estate, HePing West Road, Shenzhen, Guangdong
E-MAIL: [email protected]
Sales Contact: (86)0755-83285569-613





































