gemini TT-4000 Direct Drive Professional DJ Turntable

PLEASE READ BEFORE USING APPLIANCE
IMPORTANT WARNING AND SAFETY INSTRUCTIONS!
- Caution: This product satisfies FCC regulations when shielded cables and connectors are used to connect the unit to other equipment. To prevent electromagnetic interference with electric appliances such as radios and televisions, use shielded cables and connectors for connections.
The exclamation point within an equilateral triangle is intended to alert the user to the presence of important operating and maintenance (servicing) instructions in the liter ature accompanying the appliance.
The lightening flash with arrowhead symbol, within an equilateral triangle, is intended to alert the user to the presence of uninsulated “dangerous voltage” within the product’s enclosure that may be of sufficient magnitude to constitute a risk of electric shock to persons. - READ INSTRUCTIONS: All the safety and operating instructions should be read before the product is operated.
- RETAIN INSTRUCTIONS: The safety and operating instructions should be retained for future reference.
- HEED WARNINGS: All warnings on the product and in the operating instructions should be adhered to.
- FOLLOW INSTRUCTIONS: All operating and use instructions should be followed.
- CLEANING: The product should be cleaned only with a polishing cloth or a soft dry cloth. Never clean with furniture wax, benzine, insecticides or other volatile liquids since
they may corrode the cabinet. - ATTACHMENTS: Do not use attachments not recommended by the product manufacturer as they may cause hazards.
- WATER AND MOISTURE: Do not use this product near water, for example, near a bathtub, wash bowl, kitchen sink, or laundry tub; in a wet basement; or near a swimming
pool; and the like. - ACCESSORIES: Do not place this product on an unstable cart, stand, tripod, bracket, or table. The product may fall, causing serious injury to a child or adult, and serious dam age lo the product. Use only with a cart, stand, tripod, bracket, or table recommended by the manufacturer, or sold with the product. Any mounting of the product should follow the manufacturer’s instructions, and should use a mounting accessory recommended by the manufacturer.
- CART: A product and cart combination should be moved with care. Quick stops, excessive force, and uneven surfaces may cause the product and cart combination to over
turn. See Figure A. - VENTILATION: Slots and openings in the cabinet are provided for ventilation and to ensure reliable operation of the product and to protect ii from overheating, and these openings must not be blocked or coveredA. The openings should never be blocked by placing the product on a bed, sofa, rug, or other similar surface. This product should not be placed in a built-in installation such as a bookcase or rack unless proper ventilation is provided or the manufacturer’s instructions have been adhered to.
- POWER SOURCES: This product should be operated only from the type of power source indicated on the marking label. If you are not sure of the type of power supply to your home, consult your product dealer or local power company.
- LOCATION: The appliance should be installed in a stable location.
- NON-USE PERIODS: The power cord of the appliance should be unplugged from the outlet when left unused for a long period of time.
GROUNDING OR POLARIZATION:
- If this product is equipped with a polarized alternating current line plug (a plug having one blade wider than the other), it will fit into the outÂlet only one way. This is a safety feature. If you are unable to insert the plug fully into the outlet, try reversing the plug. If the plug should still fail to fit, contact your electrician to replace your obsolete outlet. Do not defeat the safety purpose of the polarized plug.
- If this product is equipped with a three-wire grounding type plug, a plug having a third (grounding) pin, it will only fit into a grounding type power outlet. This is a safety feature. If you are unable to insert the plug into the outlet, contact your electrician to replace your obsolete outÂlet. Do not defeat the safety purpose of the grounding type plug.
- POWER-CORD PROTECTION: Power-supply cords should be routed so that they are not likely to be walked on or pinched by items placed upon or against them, paying particular attention to cords at plugs, convenience receptacles, and the point where they exit from the product.
- OUTDOOR ANTENNA GROUNDING: If an outside antenna or cable system is connected to the product, be sure the antenna or cable system is grounded so as to provide some protection against voltage surges and built-up static charges. Article 810 of the National Electrical Code, ANSI/NFPA 70, provides information with regard to proper grounding of the mast and supporting structure, grounding of the lead-in wire to an antenna discharge unit, size of grounding conductors, location of antenna-discharge unit, connection to grounding electrodes, and requirements for the grounding electrode. See Figure B.
- LIGHTNING: For added protection for this product during a lightening storm, or when it is left unattended and unused for long periods of time, unplug ii from the wall outlet and
disconnect the antenna or cable system. This will prevent damage to the product due to lightening and power-line surges. - POWER LINES: An outside antenna system should not be located in the vicinity of overhead power lines or other electric light or power circuits, or where it can fall into such power lines or circuits. When installing an outside antenna system, extreme care should be taken to keep from touching such power lines or circuits as contact with them might be fatal.
- OVERLOADING: Do not overload wall outlets, extension cords, or integral convenience receptacles as this can result in a risk of fire or electric shock.
- OBJECT AND LIQUID ENTRY: Never push objects of _any kind into this product through o_
- DAMAGE REQUIRING SERVICE: Unplug this product from the wall outlet and refer servicing to qualified service personnel under the following conditions:
- When the power-supply cord or plug is damaged.
- If liquid has been spilled, or objects have fallen into the product.
- If the product has been exposed to rain or water.
- If the product does not operate normally by following the operating instructions. Adjust only those controls that are covered by the operating instructions as an improper adjustment of other controls may result in damage and will often require extensive work by a qualified technician to restore the product to its normal operation.
- If the product has been dropped or damaged in any way.
- When the product exhibits a distinct change in performance, this indicates a need for service. Openings as they may touch dangerous voltage points or short-out parts that could result in a fire or electric shock. Never spIll llquId of any kind on the product.
- SERVICING: Do not attempt to service this product yourself as opening or removing covers may expose you to dangerous voltage or other hazards. Refer all servicing to qualified service personnel.
- REPLACEMENT PARTS: When replacement parts are required, be sure the service technician has used replacement parts specified by the manufacturer or have the same
characteristics as the original part. Unauthorized substitutions may result in fire, electric shock, or other hazards. - SAFETY CHECK: Upon completion of any service or repairs to this product, ask the service technician to perform safety checks to determine that the product is in proper operating condition.
- WALL OR CEILING MOUNTING: The product should not be mounted to a wall or ceiling.
- HEAT: The product should be situated away from heat sources such as radiators, heat registers, stoves, or other products (including amplifiers) that produce heat.
Note:
- If the appliance with the power plug and coupler as disconnect device, disconnect device should be easy to operate.
- Equipment should not have been dripping or splashing up and down but also shows the device should not be a class, such as vases filled with liquids.
TOP
PANEL SUPERIOR FACE SUPERIEURE OBEN

BACK
PANEL TRASERO FACE ARRIERE MINTEN

INTRODUCTION:
Congratulations on purchasing the Gemini TT-4000 turntoble. This unit is backed by a I year warranty.Prior to use, we suggest that you carefully read all the instructions.
FEATURES:
TT-4000
- Professional high torque turntable
- Bottle ond club style design
- +/-10% Variable pitch slider
- Solid aluminum platter
- Fully adjustable counter weight anti-skating control
- 33, 45 and 78 RPM, target light
- Headshell and
- CN-15 cartridge felt slipmat included
- RCA
- Audacity recording software included
- Line level RCA outputs (with built-in pre-amp)
PRECAUTIONS:
- All instructions should be read before using this equipment
- To reduce the risk of electrical shock, do not open the unit. Please refer all servicing needs to a Gemini-qualified service technician.
- Do not expose this unit to direct sunlight or a heat source such as a radiator or stove.
- This unit should be cleaned only with a damp cloth. Avoid solvents or other cleaning detergents
- When moving this equipment it should be placed in its original carton and packaging. This will reduce the risk of damage during transit
- DO NOT EXPOSE THIS UNIT TO RAIN OR MOISTURE
- DO NOT USE SPRAY CLEANERS OR LUBRICANTS ON CONTROLS SURFACES OR SWITCHES
ASSEMBLY & SETUP:
- Make sure you have placed the platter securely on the spindle
- Put the SLIPMAT on the PLATTER
- Set the TURNTABLE BASE on a flat, level surface free of vibration. Use the turntable feet to stabilize the unit horizontally
- Try to place the unit as far away from the speakers as possible.
- Keep the unit away from direct exposure to the sun, heat, moisture or dirt
- Keep the unit well ventilated
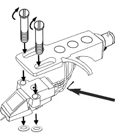
HEADSHELL INSTALLATION
Insert the HEADSHELL into the front of the tubular TONE ARM.
While holding the HEADSHELL firmly in a horizontal position, tum the LOCKING NUT counter clockwise until the HEADSHELL is locked in place. Be sure not to over tighten the LOCKING NUT.
COUNTERWEIGHT INSTALLATION
- Slide the COUNTERWEIGHT onto the rear of the TONE ARM with the numbered stylus gauge facing forward.
- Twist the CO WEIGHT counter clockwise lightly, to screw it onto the rear of the TONE ARM.
ADJUSTING HORIZONTAL ZERO BALANCE AND STYLUS PRESSURE:
- Without touching the stylus tip, remove the stylus protector(if your
cartridge has a detachable one. - Release the ARM CLAMP and lift the TONE ARM off the ARM REST
- Counter clockwise advancement of the COUNTERWEIGHT will cause the cartridge side of the TONE ARM to be lowered, turn in it clockwise will cause the opposite. Tum the COUNTERWEIGHT clockwise or counter clockwise as needed until the TONE ARM is balanced horizontally. You can easily tell this
by watching fore point where the TONE ARM”floats ” freely. - Place TONE ARM on ARM REST and lock it in place with the ARM CLAMP
- With the TONE ARM locked on the ARM REST, hold the COUNTERWEIGHT steady with one hand while rotating the STYLUS PRESSURE RING until the numeral” 0″on the ring aligns whe center line on the TONE ARM rear shaft. The HORIZONTAL ZERO (0) balance should be completed.
- Re-float the TONE ARM to ensure HORIZONTAL ZERO (0)balance.
If zero balance has not been maintained, repeat steps 3-5.
CONNECTIONS
- MAIN POWER RECEPTACLE:
Connect the detachable line cord (included in the box with your TT-4000 to the power receptacle, and plug the other end of the line cord into an AC outlet. The TT-4000 has a universal power supply that can accept any AC voltage from 100 VAC to 240 VAC. No need for voltage select switches. It will work virtually anywhere in the world. It is less susceptible to voltage sags or spikes than conventional power supplies, providing greater electro magnetic isolation and better protection against AC line noise - GROUNDING SCREW: You will need to ground the RCA cable(s) by screwing in the grounding fork(s) to the GROUNDING SCREW
located on the rear panel of the mixer. - PHONO RCA OUTPUTS: This set of outputs carries the audio \;;;,/ signal from the turntable portion of the unit and should be connected to an appropriate phono-level input on your audio mixer.
- OFF. POWER Make SWITCH: sure the The switch POWER is in the SWITCH ‘OFF’ turns position the unit prior ON to mor aking any connections.
- START/STOP BUTTONS: The buttons start and stop the turntable \::J motor.
- Hadsell locking nut
Attach the head shell by inserting it into the front end of the tone arm and when turn the locking nut clockwise. - SPEED 78 (33 & SELECTOR: 45 Select simultaneously) the desired SPEED speed SELECTOR by DE rebutton. sing the 33, 45
- PITCH CONTROL. SLIDE When CONTROL: the PITCH The SLIDE TI-4000 is CONTROL equipped is in the with a center PITCH position, SLIDE the speed will be 33, 45, or 78 depending on which SPEED SELECTOR button is pushed. When the PITCH SLIDE CONTROL is positioned off center, the pitch can vary t 10%
- the TARGET strobe LIFHT: pattern A of strobe the unit. illuminator (blue LED light) is used to illuminate
- COUNTERWEIGHT:
Attach the COUNTERWEIGHT to the back of the tonearm, with the number scale facing forwards, by turning the weight counterclockwise. - ANTI-SKATE ADJUSTMENT: This knob is used to compensate for inward tracking forces ..
- TONE ARM LIFT: Control the up and down action of the tonearm. @ ARM CLAMP: Release the ARM CLAMP found on the ARM REST . When play is over, raise the TONE ARM, move it onto the ARM REST and secure it with the ARM CLAMP.
- SLIPMAT: Pu the SLIPMAT on the PLATTER.
- PHONO/LINE SWITCH: There is a switch on the back panel, the RCA cables, that selects between PHONO/LINE .Use PHONO level for plugging into a turntable input on a home stereo. Use the LINE level for plugging into CD/AUX/TAPE inputs.
WARNING: You may damage your receiver if you plug in a LINE level into a PHONO input. - USB Audio Output: Use the included USB Cable to connect your turntable to your computer. The USB connection will provide audio from the turntable and stereo input to your computer. You may wish to install and use the AUDACITY software (PC and Mac),which allows you to take advantage of advanced audio editing features, such as audio normalization noise removal and automatic track separation.
CARTRIDGE INSTALLATION

Connect the lead wires to the cartridge terminals. For your convenience, the terminals of most cartridges are color-coded. Connect each lead wire to the terminal of the same color. In case your cartridge is not marked the positive leads are the ones on top negative below, left leads are the left channel, and right leads are the right channel.
- White (L+) ……………………………….. Left Channel+
- Blue (L-) …………………………………….. Left Channel –
- Red (R+) ………………………………… Right Channel +
- Green (R-) ………………………………. Right Channel –
SPECIFICATIONS
TT-4000
- Type …… PROFESSIONAL HIGH TORQUE TURNTABLE
- Drive Method ………… Direct Drive
- Motor. ……D C Motor
- Speed ……….. 331/3,45or78RPM
- Wow and Flutter. ……..l ess than 0.25% WRMS
- *THIS RATING REFERS TO THE TURNTABLE ASSEMBLY AND
- PLATTER ONLY ANDEXCLUDES EFFECTS OF RECORDS, CARTRIDGES
- OR TONEARMS.
TONEARM SECTION
- Type …………… Statically Balanced S-shaped Tonearm
- Headshell Weight …… 5.6g
GENERAL
- Output ……….. PHONO
- Power Supply. ……………………. AC l l 5V-60Hz/230V-50Hz
- Power Consumption ……………… 5.SW
- Dimension ………. l 7.67xl 4.56″x5.7 ……… (449x370xl 45mm)
- Weight ……………….. 8.1 lbs (4 kg)



















