
E-922CPQ
Voice Dialer
Manual

When triggered by an alarm system, the ENFORCER Voice Dialer can dial up to 6 numbers (up to 3times for each number) and deliver an 18-second user-recorded message, repeating up to two times. The last 6 seconds of the message can be customized depending on which of the three inputs has triggered the alarm. Each number can contain up to 14 digits, including the number, tones, and pauses. The receiver can then listen in, stop further dialing of alarm numbers, or trigger an auxiliary relay output connected to an external device such as a door lock, siren, strobe light, etc. The user is able to listen in by remote call in as well as a trigger or turn off the auxiliary relay.
NOTE: For single-line analog or VOIP telephone systems. The E-922CPQ may work with some digital phone systems (single-line or PBX), depending on the system.
![]()
![]()
ENFORCER Voice Dialer
Features:
- Trigger-activated dialer with user-recorded 18-second alarm message
- The last 6 seconds of the alarm message is individually customizable for each input
- 3 Trigger inputs and 1 inhibit input, each programmable high (input >3.5V) or low (input <1V)
- 1 Auxiliary relay output, NO/NC programmable for 1~255 seconds
- Works as a stand-alone unit or connected to a security system
- LCD display indicates status, either “ready” or “alarm” showing which input and number dialed
- Listen in, stop the dialing process, and/or turn the auxiliary output on or off during dialer call ou
- Call in at any time to listen in to the room and/or turn the auxiliary output on or off
- 6 Programmable alarm telephone numbers (up to 14 digits each)
- Programmable auto-dialing to call each number three times or call a single number
- Built-in flash memory to protect against system data loss in case of power failure
- Tone or pulse dialing
- Terminal blocks for all external connections
- Wall-mountable
Parts List:
| 1x Voice dialer unit | 2x Wall mount screws | 2x Plastic wall anchors | 1x User manual |
Specifications:
| Operating voltage | 10-18 VDC | |
| Current draw (max.) | Standby | 50mA@12VDC |
| Dialing | 200mA@12VDC | |
| Phone system | For single-line analog or VOIP phone systems* | |
| Alarm message length (user recorded) | 12s site message + 6s individual message for each input | |
| Programmable alarm phone numbers | 6 | |
| Maximum digits per phone number | 14 | |
| Programmable dial attempts | Up to 3 times per number | |
| Alarm message repeat | 1-2 times for each number | |
| Trigger inputs | 1-3 | Programmable high (input >3.5V, max. 15V) N.O. or N.C. or low (input <1V) N.O. or N.C. |
| Inhibit | ||
| Auxiliary output | 2A@24VDC, NO/NC, programmable 1-255s | |
| Operating temperature | 32°-140°F (0°-60°C) | |
| Weight | 15.9-oz (450g) | |
| Dimensions | 41/16″x59/16″x111/16″ (104x142x43 mm) | |
• The E-922CPQ may work with some digital phone systems (single-line or PBX), depending on the system.
Sample Applications and Wiring Diagrams:

Alarm system installation

Overview:

Installation:
- Select a location for the dialer. The dialer should not be exposed to direct sunlight or rain, and must not be mounted near heat sources such as radiators, heating ducts, or stoves.
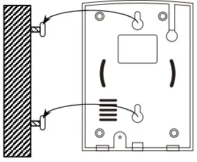
- Loosen the attachment screw on the lower end of the dialer (see pg. 4) and remove the back. For countertop installation. skip stepping 4. Fig. 1
- For wall mount, and use the back as a template to mark mounting holes and wiring Drill holes and attach 2 screws into the wall at the desired location. For convenience. 5-6ft (1.5-2m) above the floor is recommended (Fig. 1).

- Run wires for the telephone connection, for power. from the auxiliary output, and from up to three sensor contacts or groups of sensors/contacts connected in series referring to the wiring diagram (see Sample Applications and Wiring Diagrams. 3). Al natively. the dialer can be connected to three separate alarm control panel outputs.
- Thread all wires through the wiring hole. place the back over the heads of the screws installed in step 2 (Fig. 1). and slide down. Tighten or loosen the screws as needed.
- Connect all wires to the terminal block. again referring to the wiring diagram (see pg. 3) and attaching the dialer unit to its back, tightening the attachment screw to hold it firmly into place.
Programming the Voice Dialer:
You must enter setup mode to program the dialer functions. While in setup mode, if no key is pressed within 20 seconds, the dialer will automatically exit and return to standby mode.
Entering Setup Mode:
To enter setup mode:
- Press the ENTER button.
- Type in the current PIN (the factory preset PIN is 8888) on the keypad.
- Press the ENTER button again. You should hear a single beep and the first screen of the setup menu will appear.

Setting and Changing the PIN
In setup mode:
- Press the DOWN button until you see the “07 Password” on the display or press 07 on the keypad.
- Press the ENTER button. The current PIN will be shown on the display.
- Press ENTER again, type in the new PIN (4 digits), and press ENTER.

- Press the ESC button to return to the settings menu to program other functions.
- Press the ESC button again to exit the setup mode.
NOTE: If you forget your PIN, you must reset the dialer, deleting all settings and data. Disconnect the power and then power up while holding down the ENTER button until you hear a single long beep. This deletes all settings and data from the dialer (See pg. 11).
Setting Alarm Phone Numbers
You can program up to 6 alarm numbers. In setup mode:
- If “01 Alarm Number” is not shown on the display, press the UP button until it appears, or press 01 on the keypad.
- Press the ENTER button. The first alarm number will show on the screen (if already programmed), otherwise “1:” will appear followed by a blank line.

- Press ENTER to program or overwrite the first number or press the DOWN button to choose the second and following number locations (up to 6 phone numbers) and press ENTER.
- Type in the number, including the area code if that is required (up to 14 digits).
- Press the ENTER button to save the number. A single beep will sound.
- Press the UP or DOWN button to move to another location to enter another number and follow the same procedure.
- When finished, press the ESC button to return to the settings menu to program other functions.
- Press the ESC button again to exit the setup mode.
Programming the Voice Dialer (Continued):
Deleting a Stored Phone Number
From the setup mode:
- If “01 Alarm Number” is not shown on the display, press the UP button until it appears, or press 01 on the keypad.
- Press the ENTER button. The first alarm number will show on the screen showing the programmed number.

- Press ENTER to select that number or press the DOWN button to select another number to be deleted and press ENTER to select.
- To delete the selected number, press ENTER again.
- To delete other numbers, press the UP or DOWN button and follow the instructions above.
- When finished, press the ESC button to return to the settings menu to program other functions.
- Press the ESC button again to exit the setup mode.
Recording Alarm Messages
You can record up to four messages. One message (Message 0, up to 12 seconds) is the site message that will play first when the alarm call is answered. The remaining messages (Messages 1~3, up to 6 seconds each) correspond to each of the three inputs and will follow the site message. To record, rerecord, or playback a message, in the setup mode:
- Press the UP or DOWN button until you see “02 REC/PLAY” on the display or press 02 on the keypad. Press the ENTER button. You will see “0=site message” on
- Press the ENTER button. You will see “0=site message” on the display.
- Either press the ENTER button to select that message or select a different message by typing its number (0~3) or pressing the DOWN button to another message location and pressing the ENTER button.

- Press 0 to record (or rerecord over an existing message) or press 1 to playback an existing message
- Immediately after pressing 0 to record, speak clearly into the microphone located at the bottom of the dialer. While recording, a countdown will appear on the display. The recording will automatically stop when the time limit is reached, but you can stop recording at any time by pressing the ENTER button.

- When recording stops, the dialer will playback your message for review also showing the timer below

- Repeat the steps for the other messages
- When finished, press the ESC button to return to the settings menu to program other functions.
- Press the ESC button again to exit the setup mode.NOTE: You may want to record the important functions in the site message as a reminder, for example, “{Your name}’s security alarm has been activated. Please enter a command, “3” to repeat the message, “4” to listen in, or “0” to stop dialing and return to standby.”
Setting the Auto-Dial Mode
The dialer can be programmed to dial each programmed number once (up to 6 numbers) when an alarm is triggered, or it can continually dial each number in a loop until the dialer is reset. To set the dialing mode, in setup mode:
- Press the UP or DOWN button until you see “03 Dialing Mode” on the display or press 03 on the keypad.
- Press the ENTER button and press 0 or 1 to make your selection.

• 0 = Single (default) – The dialer will dial each number once and then stop.
• 1 = Loop – The dialer will continuously loop, dialing each number until the alarm is disabled. - After making your selection, press ENTER to set.
- When finished, press the ESC button to return to the settings menu to program other functions
- Press the ESC button again to exit the setup mode.
NOTE: With either setting, when you receive the call, you can remotely stop the dialing cycle and return the dialer to standby mode (see Remote Control by Telephone, pgs. 10~11).
Setting the Trigger Level
Each of the inputs (IP1, IP2, IP3, INH), can be set to match the type of input device connected. To change the trigger level, in the setup mode:
- Press the UP or DOWN button until you see “04 Trigger Level” on the display or press 04 on the keypad.
- Press the ENTER button. You will see “IP1Trigger Level” on the display for input 1 and its current setting.

- Press the DOWN button to select a different input if desired. When the desired input is shown, press the ENTER button to select.
- Press the number corresponding to your selection.

• 0 = H-NO – (High N.O.) N.O. input will trigger the dialer when the voltage at the input exceeds 3.5VDC (maximum is 15VDC).
• 1 = H-NC – (High N.C.) N.C. input will trigger the dialer when the voltage at the input exceeds 3.5VDC (maximum is 15VDC).
• 2 = L-NO – (Low N.O.) N.O. input will trigger the dialer when the voltage at the input is less than 1VDC.
• 3 = L-NC – (Low N.C.) N.C. input will trigger the dialer when the voltage at the input is less than 1VDC. - Press ENTER to set.
- Press the UP or DOWN button to select another input and repeat the steps above.
- When finished, press the ESC button to return to the settings menu to program other fun8. Press the ESC button again to exit the setup mode.
NOTE: If the “Inhibit” input is not being used, it should be left as Low N.C. (L-NC).
Setting the Trigger Mode
With this setting, you can control how the dialer responds to a trigger even after the trigger has stopped. To set the Trigger mode, in setup mode:
- Press the UP or DOWN button until you see “05 Trigger Mode” on the display or press 05 on the keypad.
- Press the ENTER button. You will see the current setting, (default is “1 = Level Trigger”) on the display.

- Type 0 or 1 to select the desired mode.
• 0 = Edge Trigger – When the triggering signal stops, the dialer will stop dialing, even if it has not finished dialing the first alarm number. This could be useful for any trigger that, if it does not continue, would not be an emergency.
• 1 = Level Trigger – When a trigger signal is received, the dialer will start the process of dialing alarm numbers as programmed and will follow that process until the alarm is reset either remotely by phone (see Remote Control by Telephone, pgs. 10~11) or locally on the keypad (see Stopping Dialing with the Dialer Keypad, pg. 10). - Press the ENTER button to set.
- When finished, press the ESC button to return to the settings menu to program other functions.
- Press ESC again to exit setup mode.
Setting the Dialer “Beep” Volume
To confirm an action or alert you to an error the dialer issues a “beep” sound. A single beep confirms an action and four rapid beeps alert you of an error. You can silence these sounds or change their volume. To set the dialer “beep” volume, in setup mode:
- Press the UP or DOWN button until you see “09 Volume” on the display or press 09 on the keypad.
- Press the ENTER button. You will see the current setting, on the display.

- Type 0, 1, or 2 to select the desired volume.
- Press the ENTER button to set.
• 0 – Silent
• 1 – Medium (default)
• 2 – Loud - When finished, press the ESC button to return to the settings menu to program other functions.
- Press the ESC button again to exit the setup mode.
Setting the Number of Rings for Remote Access
This setting controls the number of rings after which the voice dialer will “answer” to allow remote access by the user. To set the number of rings, in setup mode:
- Press the UP or DOWN button until you see “10 Ring Times” on the display or press 10 on the keypad.
- Press the ENTER button. You will see the current setting, on the display (default is 5) showing the number of rings.

- Type a number between 0 and 9 to select the desired number of rings.
- Press the ENTER button to set.
- When finished, press the ESC button to return to the settings menu to program other functions.
- Press the ESC button again to exit the setup mode.
Setting the Auxiliary Output Relay Time
The dialer has an auxiliary output to trigger an external device such as a gate/door, siren, strobe light, etc. To set the length of time for the trigger (1~255 seconds), in setup mode:
- Press the UP or DOWN button until you see “11 Relay Time” on the display or press 09 on the keypad.
- Press the ENTER button. You will see the current setting, on the display.

- Type a number between 1 and 255 to select the desired auxiliary output relay time in seconds (default is 10).
- Press the ENTER button to set.
- When finished, press the ESC button to return to the settings menu to program other functions.
- Press the ESC button again to exit the setup mode.
Setting the Number of Times the Alarm Message Plays
When the dialer is triggered and calls the alarm numbers, it will playback the prerecorded messages either once or twice at each number. To program the number of times, in setup mode:
- Press the UP or DOWN button until you see “12 Play Times” on the display or press 12 on the keypad.
- Press the ENTER button. You will see the current setting, on the display (default is 1).

- Type 1, or 2 to select the desired number of times to play the message.
- Press the ENTER button to set.
- When finished, press the ESC button to return to the settings menu to program other functions.
- Press the ESC button again to exit the setup mode.
Making a Test Call
The dialer can make a test call to ensure that the numbers have been set up correctly. During the call, the speaker allows you to monitor the call’s progress. To place a test call, in setup mode:
- Press the UP or DOWN button until you see “08 Test Number” on the display or press 08 on the keypad.
- Press the ENTER button. You will see the first of your programmed numbers on the display.

- Press the UP and DOWN buttons to select the number you want to test dial.
- Press the ENTER button to select and start the process. Listen in as it completes the call.
- To interrupt the call, press the ESC button and press the UP and DOWN buttons to select another number you want to test dial.
- When finished, press the ESC button to return to the settings menu to program other functions.
- Press the ESC button again to exit the setup mode.
Operating the Voice Dialer
The dialer is always active when powered. If connected to a security system, it will be ready when the system is armed. In stand-alone mode, it can be disarmed by turning off the power to the dialer.
Stopping Dialing with the Dialer Keypad
The dialer has no entry delay, so if it is installed in stand-alone mode when you open the door (assuming your door has a contact installed) or input is accidentally triggered when you are at the dialer location, it will immediately start dialing. You can stop its dialing and return it to standby mode by pressing the ESC button on the dialer, typing your 4-digit PIN, and pressing ENTER.
Remote Control by Telephone
The system can be remotely controlled and monitored through any touch-tone (DTMF) phone, including mobile phones.
REMOTE CONTROL WHEN THE ALARM IS ACTIVATED
When an alarm has been activated the voice dialer dials the pre-programmed alarm numbers. The receiver will hear the pre-recorded message and may press one of the following function codes within 10 seconds after the message ends to control the system remotely and a second code in 10 seconds for another function. If there is no response within 20 seconds, the dialer will hang up.
| Function | Code |
| Set dialer to play messages only once | 1 |
| Set dialer to play messages twice* | 2 |
| Repeat the message | 3 |
| Start listening in for 30 seconds, press code again to continue listening | 4 |
| Stop the dialing process and return the dialer to standby | 0 |
| ‘There will be a 10-second pause after or between each message to allow time to enter a function code. | |
Operating the Voice Dialer (Continued):
- REMOTE CONTROL BY USER CALL-IN (CALL BACK)
The user can dial in to perform the actions below remotely. To do so: - Using a mobile phone or any touch-tone (DTMF) phone, dial the phone number that the voice dialer is connected to. The voice dialer will answer and “beep” once after the number of rings set for remote access (see Setting the Number of Rings for Remote Access, pg. 9).
- Enter the PIN Number on the phone’s keypad. You will hear a “beep” sound if the correct code has been entered. If a wrong code is entered, the dialer will disconnect automatically and the user must dial in again. If there is no key entry within 20 seconds, the dialer will hang up.
- Press one of the following function codes to control the system remotely and press a second code within 10 seconds for another function.
| Function | Code |
| Start listening in for 30 seconds, press code again to continue listening | 4 |
| Activate the auxiliary output for the set time | 8 |
| Trigger or stop the auxiliary output | 9 |
Viewing the Last Event
To view the last event, in setup mode:
- Press the UP or DOWN button until you see “06 Last Event” on the display or press 06 on the keypad.
- Press the ENTER button and the last event will be shown. The example to the right shows that input 1 was triggered,

- When finished, press the ESC button to return to the settings menu to program other functions.
- Press the ESC button again to exit the setup mode.
Resetting the Dialer
Resetting the dialer deletes all settings and data. To reset, disconnect the power and then power up while holding down the ENTER button until you hear a single long beep.
Troubleshooting:
| Dialer will not dial out |
|
| Unit doesn’t respond to a call-back |
|
| Difficulty in activating ‘listen in’ by telephone remote control |
|
Notices, Warnings, and Warranty:
FCC Part 68
This equipment complies with Part 68 of the FCC rules and the requirements adopted by the ACTA On the bottom of the device of this equipment is a label that contains. among other information. a product identifier in the format US:7M7ALO1AE922CP0 and REN:0.1A for this equipment.
A plug and jack used to connect this equipment to the premises wiring and telephone network must comply with the applicable FCC Part 68 rules and requirements adopted by the ACTA.
REN (RINGER EQUIVALENT NUMBERS) STATEMENT
Notice: The Ringer Equivalence Number (REN) assigned to each terminal device provides an indication of the maximum number of terminals Slowed to be connected to a telephone interface. The termination on an interface may consist of any combination of devices subject only to the requirement that the sum of the Ringer Equivalence Numbers of all the devices does not exceed 5.
If this equipment US:7M7A101AE922CP0 causes harm to the telephone network. the telephone company will notify you in advance that temporary discontinuance of service may be required. Si if advance notice isn’t practical. the telephone company will notify the customer as soon as possible. Also. you will be advised of your right to file a complaint with the FCC if you believe it is necessary.
The telephone company may make changes in its facilities, out. shipment. operations or procedures that could affect the operation of the equipment. If this happens, the telephone company will provide advance notice in order for you to make necessary modifications to maintain uninterrupted service.
trouble is experienced with this equipment product Model: E-922CP0. for repair or warranty information. please contact SECO-LARM U.SA. Inc. If the equipment is causing harm to the telephone network. the telephone company may request that you disconnect the equipment until the problem is resolved.
Connection to party line service is subject to state tariffs. Contact the state p.blic utility commission. pudic service commission or corporation commission for information.
If your home has specially wired alarm equipment connected to the telephone line. ensure the installation of this US:7M7ALO1AE922CP0 does not disable your alarm equipment. If you have questions about what will disable alarm equipment, corGultyour telephone company or a qualified installer.
WHEN PROGRAMMING EMERGENCY NUMBERS AND/OR MAKING TEST CALLS TO EMERGENCY NUMBERS:
- Remain on the line and briefly explain to the dispatcher the reason for the call.
- Perform such activities in the off-peak hours. such as the early morning or late evening.
NOTE: While the system can provide valuable protection to homes and property when properly installed, it cannot guarantee complete protection against intrusion. SECO- ARM is not responsible for any losses or damage which may occur during the use of this product.
IMPORTANT: Users and installers of this product are responsible for ensuring this product complies with all national, state, and local laws and statutes related to monitoring and recording audio and video signals. SECO-LARM will not be held responsible for the use of this product in violation of any current laws or statutes.
California Proposition 65 Warning: These products may contain chemicals that are known to the State of California to cause cancer and birth defects or other reproductive harm. For more information, go to www.P65Warnings.ca.gov.
WARRANTY: This SECO-LARM product is warranted against defects in material and workmanship while used in normal service for one (1) year from the date of sale to the original customer. SECO-LARM’s obligation is limited to the repair or replacement of any defective part if the unit is returned, transportation prepaid, to SECO-LARM. This Warranty is void if damage is caused by or attributed to acts of God, physical or electrical misuse or abuse, neglect, repair or alteration, improper or abnormal usage, or faulty installation, or if for any other reason SECO-LARM determines that such equipment is not operating properly as a result of causes other than defects in material and workmanship. The sole obligation of SECO-LARM and the purchaser’s exclusive remedy shall be limited to the replacement or repair only, at SECO-LARM’s option. In no event shall SECO-LARM be liable for any special, collateral, incidental, or consequential personal or property damage of any kind to the purchaser or anyone else.
NOTICE: The SECO-LARM policy is one of continual development and improvement. For that reason, SECO-LARM reserves the right to change specifications without notice. SECO-LARM is also not responsible for misprints. All trademarks are the property of SECO-LARM U.S.A., Inc. or their respective owners. Copyright © 2021 SECO-LARM U.S.A., Inc. All rights reserved.
SECO-LARM® U.S.A., Inc.
16842 Millikan Avenue, Irvine, CA 92606 Phone: (949) 261-2999 | (800) 662-0800
Website: www.seco-larm.com
Email: [email protected]
![]()
MI_E-922CPQ_210601.docx
SECO-LARM U.S.A., Inc.

































