Wind 125 Domestic Window Fan
Owner’s Manual
Wind 125 Domestic Window Fan
BLAUBERG Company is happy to offer your attention the window axial Blauberg Wind fan.
The solid team of high-qualified professionals with many years of working experience, technological innovations in design and production, high-quality components and materials from the top worldwide producers have become the precondition for the best fan in its class.
The fan Wind is a symbiosis of perfect quality, high performance and silent operation.
INTRODUCTION
The present service instruction contains a technical description, technical data sheets, operation and mounting guidelines, safety precautions and warnings for safe and correct operation of the fan BLAUBERG Wind.
USE
BLAUBERG Wind fan is designed for extract ventilation of residential and public premises heated during winter season. The fan is designed for window mounting. The fan is equipped with automatic shutters to prevent air back flow when the fan is off.
COMPLETE SET
The complete set includes:
- fan – 1 item;
- fitting set – 1 item;
- sealing gasket – 2 items;
plastic screwdriver (for the models with timer) – 1 item; service instruction; packing box.
The fan design is regularly improved, so some models can slightly differ from those ones described in this service instruction.
BASIC CHARACTERISTICS
The fan designations, parameters, outer view, overall and connecting dimensions are shown in tables 1, 2, 3 and in fig. 1 -3.
Table 1
| Type | Max. air capacity [m3/h] | Rated power [WI | RPM [min-1] | Noise level, 3 m [dBik] |
| Wind 125 | 185 | 22 | 2400 | 35 |
| Wind-K 125 | 185 | 22 | 2400 | 35 |
| Wind 150 | 295 | 26 | 2400 | 41 |
The fan options are stated in the table 2.
Table 2
| Type | Switch | Timer | Humidity sensor | Motion sensor |
| Wind | ||||
| Wind S | • | |||
| Wind T | • | |||
| Wind ST | • | • | ||
| Wind H | • | • | ||
| Wind SH | • | • | • | |
| Wind IR | • | • |
Switch (S) – built-in pull cord switch;
Timer (T) – turn-off time range from 2 to 30 min;
Humidity sensor (H) – humidity level range from 60% to 90%;
Motion sensor (IR) – reach distance from 1 to 4 m and sensor viewing angle up to 100°.
Note: Wind ___ – Wind 125, Wind-K 125 or Wind 150.
The fan does not cause interference with radio-, TV- or video-equipment. Service life is not less than 5 years.

Wind 125/150
1 – cover, 2 – casing, 3 – motor, 4 – impeller,
5 – inner flange, 6 – sealing gasket,
7 – outer flange.

Wind-K 125
1 – cover, 2 – casing, 3 – motor, 4 – impeller,
5 – inner flange, 6 – sealing gasket,
7 – outer flange, 8 – hood.
Table 3
| Type | Dimensions [mm] | Weight [kg] | ||||||
| a | b | e | c | d | g | h | ||
| Wind 125 | 186 | 173 | 60 | 53 | 125 | 1,15 | ||
| Wind-K 125 | 186 | 173 | 60 | 125 | 183 | 160 | 1,25 | |
| Wind 150 | 210 | 195 | 66 | 60 | 150 | 1,50 | ||

OPERATION RULES
The fan is rated for connection to 220…240 V / 50 Hz power mains and is designed for continuous operation always connected to power mains.
The air motion direction in the system must match the pointer on the fan casing.
The fan is rated for operation at ambient temperature from +1 °C up to +45 °C.
The fan does not require grounding.
SAFETY RULES
All operations related to the fan electrical connections, servicing and repair works are allowed only after the fan disconnection from power mains.
All mounting and servicing operations are allowed for duly qualified electricians with valid electrical work permit for electric operations at the units up to 1000 V after careful study of the present user’s manual.
The single-phase power grid must comply with the acting local electrical norms and standards. The fixed electrical wiring must be equipped with an automatic switch that is used for connection of the fan to power mains with gap on all poles at least 3 mm.
Make sure the impeller and the casing are not damaged before starting installation. The casing internals must be free of any foreign objects which can damage the impeller blades. Misuse of the product or any unauthorized modification are not allowed.
The product is not allowed for use by children and persons with reduced physical, mental or sensory capacities, without proper practical experience or expertise, unless they are controlled or instructed on the product operation by the person(s) responsible for their safety. Supervise the children and do not let them play with the product.
Take steps to prevent ingress of smoke, carbon monoxide and other combustion products into the room through open chimney flues or other fire-protection devices. Sufficient air supply must be provided for proper combustion and exhaust of gases through the chimney of fuel burning equipment to prevent back drafting. The maximum permitted pressure difference per living units is 4 Pa. Operating medium must not contain any dust or other solid impurities, sticky substances or fibrous materials. The fan is not rated for operation in a media that contains hazardous or explosive materials and vapours, i.e. spirits, gasoline, insecticides, etc.
Do not close or block the fan intake or exhaust vent not to disturb the natural air passage.
Do not sit on the fan and do not put objects on the fan.
Follow the guidelines of this service instructions to ensure durable operation of the product.
MOUNTING AND SETUP
The fan is designed for mounting on a glass plate in the wall (fig. 4-5) or on a thin partition (fig. 6-7) and air extraction outside or to an adjacent room.
The fan mounting sequence is shown in fig. 8-9.
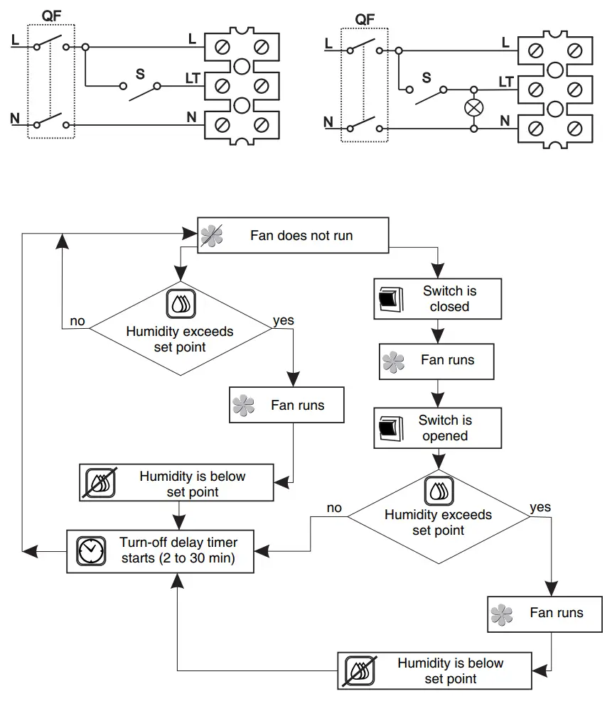
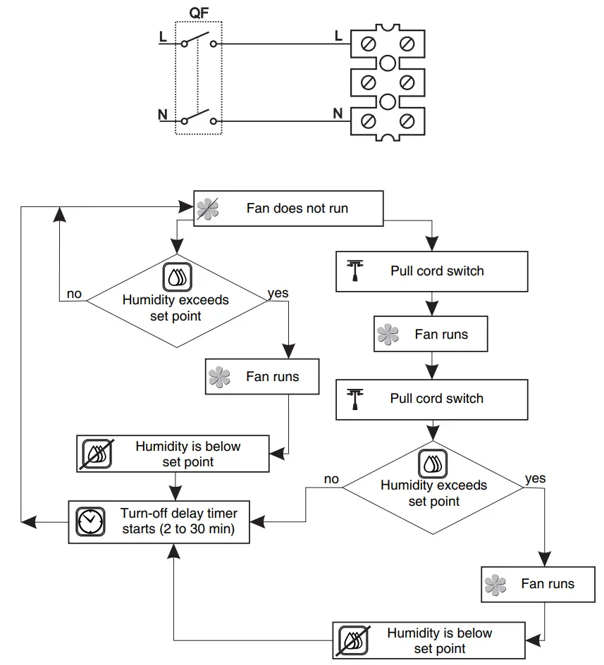
The fan wiring diagrams are shown in fig. 10-16.

Fig. 8

Table 4
| Type | Hole diameter d, mm |
| Wind 125 | 160 |
| Wind-K 125 | |
| Wind 150 | 180 |

WIRING DIAGRAMS AND FAN OPERATING LOGIC






WARNING!
The timer circuit is under mains voltage!
Disconnect the fan from power mains prior to any adjustment operations.
The fan delivery set includes a specially designed plastic screwdriver for fan settings adjustments. Use the screwdriver to alter the turn-off delay time threshold.
Do not use a screwdriver, knife, etc. for adjustment operations not to damage the circuit board.

MAINTENANCE
Any servicing and maintenance operations of the fan are allowed after it is disconnected from power mains only.
Maintenance means regular cleaning of the fan surfaces from dirt and dust. To clean the fan, wipe its surfaces with a cloth wetted in a mild soap solution, then wipe the surfaces dry.
Avoid water dripping on the motor and circuit board!
STORAGE AND TRANSPORTATION RULES
Transportation is allowed by any transportation vehicle provided that the product is in the manufacturer’s original package.
Store the delivered product in the manufacturer’s original packing box in a dry ventilated premise with the ambient temperature from +5°C up to + 40°C and relative humidity less than 80%.
The storage environment must be free of dust, acid or alkali vapours to prevent corrosion.
DISPOSAL
Do not dispose in domestic waste. The unit contains in part material that can be recycled and in part substances that should not end up as domestic waste.
Dispose of the unit once it has reached the end of its working life according to the regulations valid where you are.
MANUFACTURER’S WARRANTY
The fan complies with the requirements according to the EU norms and directives, to the relevant EU-Low Voltage Equipment Directives, EU-Directives on Electromagnetic Compatibility.
We hereby declare that the following product complies with the essential protection requirements of Electromagnetic Council Directive 2004/108/EC, 89/336/EEC and Low Voltage Directive 2006/95/EC, 73/23/EEC and CE-marking Directive 93/68/EEC on the approximation of the laws of the Member States relating to electromagnetic compatibility.
This certificate is issued following test carried out on samples of the product referred to above. Assessment of compliance of the product with the requirements relating to electromagnetic compatibility was based on the following standards.
Protection degree index according to IP rating against access to hazardous parts and water ingress – IP24.
The manufacturer hereby warrants normal operation of the fan over the period of five years from the retail sale date provided observance of the installation and operation regulations.
In case of failure due to faulty equipment during the warranty period the consumer has the right to exchange it.
If case of no confirmation of the sale date, the warranty term shall be calculated from the manufacturing date.
The replacement is offered by the Seller.
The MANUFACTURER shall not be liable for any damage resulting from any misuse of or gross mechanic interference with the fan.
Please follow the applicable instructions.
WARRANTY CARD


















