DOMETIC CAM80CM Rear View Video Camera

Explanation of symbols
WARNING!
Safety instruction: Failure to observe this instruction can cause fatal or serious injury.
CAUTION!
Safety instruction: Failure to observe this instruction can lead to injury.
NOTICE!
Failure to observe this instruction can cause material damage and impair the function of the product.
NOTE
Supplementary information for operating the product.
Safety and installation instructions
The manufacturer accepts no liability for damage in the following cases:
- Faulty assembly or connection
- Damage to the product resulting from mechanical influences and excess voltage
- Alterations to the product without express permission from the manufacturer
- Use for purposes other than those described in the operating manual
Please observe the prescribed safety instructions and stipulations from the vehicle manufacturer and service workshops.
WARNING!
Inadequate supply cable connections could result in short circuits, which could have as a consequence that:
- Cable fires occur
- The airbag is triggered
- Electronic control devices are damaged
- Electric functions fail (indicators, brake light, horn, ignition, lights)
NOTICE!
To prevent the risk of short circuits, always disconnect the negative terminal of the vehicle’s electrical system before working on it.
If the vehicle has an additional battery, its negative terminal should also be disconnected.
Please observe the following instructions:
- When working on the following cables, only use insulated cable lugs, plugs and flat push-on receptacles:
- 30 (direct supply from positive battery terminal)
- 15 (connected positive terminal, behind the battery)
- 31 (return line from the battery, earth)
- L (indicator lights left)
- R (indicator lights right)
Do not use terminal strips.
- Use a crimping tool to connect the cables.
- When connecting to cable 31 (earth), screw the cable
- to the vehicle’s earth bolt with a cable lug and a gear disc or
- to the sheet-metal bodywork with a cable lug and a self-tapping screw.
Ensure that there is a good earth connection.
If you disconnect the negative terminal of the battery, all data stored in the volatile memories will be lost.
- The following data must be set again, depending on the vehicle equipment options:
- Radio code
- Vehicle clock
- Timer
- On-board computer
- Seat position
You can find instructions for making these settings in the appropriate operating instructions.
Observe the following installation instructions:
CAUTION!
- Secure the parts installed in the vehicle in such a way that they cannot become loose under any circumstances (sudden braking, accidents) and cause injuries to the occupants of the vehicle.
- Secure any parts of the system covered by the bodywork in such a manner that they cannot become loose or damage other parts and cables or impair vehicle functions
(steering, pedals, etc). - Always follow the safety instructions of the vehicle manufacturer.
Some work (e.g. on retention systems such as the AIRBAG etc.) may only be performed by qualified specialists.
NOTICE!
- To prevent damage when drilling, make sure there is sufficient space on the other side for the drill head to come out.
- Deburr all drill holes and treat them with a rust-protection agent.
Observe the following instructions when working with electrical parts:
NOTICE!
- When testing the voltage in electrical cables, only use a diode test lamp or a voltmeter.
Test lamps with an illuminant take up voltages which are too high and which can damage the vehicle’s electronic system. - When making electrical connections, ensure that:
- they are not kinked or twisted
- they do not rub on edges
- they are not laid in sharp-edged ducts without protection.
- Insulate all connections.
- Secure the cables against mechanical wear with cable binders or insulating tape, for example to existing cables.
The camera is watertight. However, the sealings on the camera cannot withstand a high-pressure cleaner (fig.4). Therefore, you should observe the following instructions when handling the camera:

- Do not open the camera, as this impairs the sealing and the function of the camera (fig.5).

- Do not pull at the cables, as this impairs the sealing and the function of the camera (fig.6).

- The camera is not suitable for submerged operation (fig.7).

Scope of delivery
| No. in fig. 8 | Quantity | Description | Ref. no. |
| 1 | 1 | Colour camera CAM80CM | 9600000049 (PAL)/ 9600000198 (NTSC) |
| 2 | 1 | Camera bracket | 9102200073 |
| 3 | 2 | Side covers | |
| 4 | 1 | Extension cable | 9102200030 |
| – | 1 | Fastening material |

Accessories
Available as accessory (not included in scope of delivery):
| Description | Ref. no. |
| Extension cable 5 m | 91022000028 |
| Extension cable 8 m | 91022000029 |
| Extension cable 20 m | 91022000030 |
| Spiral cable for trailer operation | 91022000031 |
Intended use
The CAM80CM colour camera is designed primarily for use in vehicles. It can be used in video systems to observe the space around the vehicle from the driver’s seat when maneuvering or parking, for example.
WARNING! Risk of injury!
Since rear view systems are designed merely as an additional aid for reversing, it does not relieve you of the duty to take proper care when reversing.
Technical description
The camera, which is encased in aluminium housing, transmits image and sound to a monitor via a cable. The built-in infrared LEDs improve night vision.
The camera transmits the image as if you are looking in the rear mirror.
The camera consists of the following main elements:
No. in fig.9 Description
1 6-pin connection cable
2 Microphone
3 Infrared LEDs

Information on the electrical connections
Laying cables
NOTICE! Risk of damage!
- To prevent damage, when drilling ensure that there is sufficient space on the other side for the drill head to come out.
- Cables and connections which are not properly installed will cause malfunctions or damage to components. Correct installation of cables and connections is the basic prerequisite for lasting and trouble-free operation of the retrofitted components.
- The cables may not be exposed for long periods to solvents such as benzine, as the solvents can damage the cable.
Please observe the following instructions:
- As far as possible, use original openings or alternative openings for the connecting cable duct, e. g. the paneling edges, ventilation grilles or blank panels. If no openings are available, you must drill holes for the cables. Check beforehand that there is sufficient room for the drill head to come out on the other side.
- Wherever possible lay cables inside the vehicle, as they are better protected inside than outside the vehicle.
If you do need to lay a cable outside the vehicle, ensure that it is well secured (use additional cable ties, insulating tape, etc.). - To prevent damage to the cables, when laying them ensure that there is sufficient distance to hot or moving vehicle components (exhaust pipes, drive shafts, light systems, fans, heater etc.). Use corrugated piping or other protective materials to protect against mechanical wear.
- Screw on the plug connection of the connecting cables to protect against water penetration (fig. g, page 7).
- When laying electric connections, ensure that
- They are not kinked or twisted
- They do not rub on edges
- They are not laid in sharp edged ducts without protection (fig. 3, page 4)
- Attach the cables securely in the vehicles to prevent tripping hazards. Use cable binders, insulating tape or glue the cables in place.
- Protect every through-hole made in the bodywork against water penetration, e.g. by using a cable with a sealant and by spraying the cable and the the cable sleeve with sealant.
NOTE
Do not start sealing the through-holes until all installation work has been finished for the camera, and the required cable lengths have been established.
Mounting the camera
Tools required
For installation and assembly you will require the following tools:
- Drill bit set (fig. 1 1 )

- Drill (fig. 1 2)

- Screwdriver (fig. 1 3)

- Set of ring or open-ended spanners (fig. 1 4)
- Measuring ruler (fig. 1 5)
- Hammer (fig. 1 6)
- Centre punch (fig. 1 7)
To make and test the electrical connection, the following tools are required:
- Diode test lamp (fig. 1 8) or voltmeter (fig. 1 9)
- Crimping tool (fig. 1 10)

- Insulating tape (fig. 1 11)
- Cable bushing sleeves, if necessary
To fasten the cables you may require additional cable binders.
Mounting the camera
CAUTION!
Select a location for the camera and attach it so securely that it cannot under any circumstances fall off and injure bystanders (e.g. by being knocked off by branches brushing over the roof of the vehicle).
NOTE
If installing the camera alters the vehicle height or length specified in the vehicle documents, your vehicle must be inspected by the appropriate authorities. Make sure that you are in possession of documents verifying that your vehicle has passed this inspection.
Observe the following installation instructions:
- To provide a suitable viewing angle, the camera must be attached at a height of at least 2 m. Ensure that you have a firm place from which to work when mounting the camera.
- Ensure that the installation location of the camera is sufficiently firm (e.g. to prevent the camera from being knocked down by branches that may brush over the roof of the vehicle).
- Mount the camera bracket horizontally and in the middle of the rear of the vehicle (fig. 0).
- The most secure type of attachment is with screws fitted through the body. Please observe the following instructions:
- There must be sufficient space for the mounting procedure behind the chosen installation location.
- Suitable measures must be taken to prevent water penetrating through any holes made (e.g. by using screws and sealant and/or spraying the outer attachment parts with a sealant).
- The location on the body where you wish to attach the camera must be rigid enough to allow the camera to be tightly fastened.
- Check beforehand that there is sufficient room for the drill head to come out on the other side (fig. 2).
- If you are not sure about the location you have chosen, consult the vehicle manufacturer or dealer.
NOTE: We recommend greasing the threads of the bolts to prevent corrosion.
When mounting the camera, proceed as follows:
- Hold the camera on the chosen location and mark at least two different points for the drill holes (fig. 11).
- Using a hammer and centre punch, gently pre-punch the previously marked points to prevent the drill head from slipping off.

If you want to screw on the camera with self-tapping screws (fig. 12)

NOTICE! Risk of damage!
The holder may only be attached to steel panels with a minimum thickness of 1.5 mm using self-tapping screws.
- Drill Ø 4 mm holes at the points you have just marked.
- Deburr all drill holes and apply rust protection.
- Screw the camera bracket on with the 5 x 20 mm self-tapping screws.
If you would like to attach the camera with threaded screws fitted through the construction (fig. 13)

NOTICE! Risk of damage!
Ensure that that nuts cannot be pulled through the body shell when they are tightened. Use larger washers or metal plates if necessary.
- Drill Ø 4.5 mm holes at the points you have just marked.
- Deburr all drill holes and apply rust-protection.
- Screw the camera bracket on with the M5 x 20 mm threaded screws.
Depending on the thickness of the construction, you may require longer threaded screws.
Creating a through-hole for the camera connection cable (fig. 14)

NOTE
If possible, use available openings – such as ventilation grilles – to feed the connection cables through. If there are no existing openings, you must drill a hole with a 16 mm diameter.
NOTICE! Risk of damage!
Ensure that there is sufficient space on the other side for the drill head to come out
- Drill a hole of Ø 16 mm near the camera.
- Deburr all drill holes that have been made in the sheet metal and apply rust-protection.
- Place cable sleeves in all sharp edged ducts.
Mounting the camera
NOTICE! Risk of damage!
Only use the screws supplied to mount the camera in the camera bracket. Longer screws will damage the camera.
- Push the camera into the camera bracket.
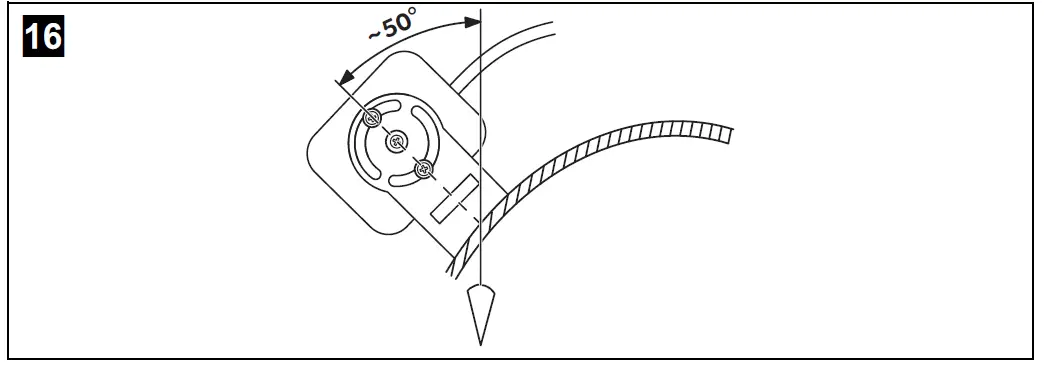
- Attach the camera loosely with the two screws M3 x 8 mm in the slots (fig. 15).

- Align the camera provisorily so that the lens is at an angle of approx. 50° to the perpendicular axis of the vehicle (fig. 16).

NOTICE! Risk of damage!
Never mount the camera without the camera guard.
Connecting the camera
NOTE
- Lay the camera cable so that should you need to remove the camera, you can access the plug connection between the camera and the extension cable easily.
This considerably eases dismantling work. - To minimise corrosion in the plug, apply a small amount of grease – such as pin grease – inside the plug.
- Additional extension cables are available on request (see chapter “Accessories”).
- Guide the camera cable into the vehicle interior.
- Insert the plug of the camera cable into the socket of the extension cable.
- Screw on the plug connection of the connecting cables to protect against water penetration (fig. 17).

Aligning the camera
NOTE
If necessary before aligning the camera connect the camera to a monitor and to a power supply (see connecting diagram, fig. 18

- Use the monitor image to align the camera:
The monitor image should show the bottom edge of the rear or the bumper of your vehicle (A). The middle of the bumper should be in the middle of the screen (fig. 19). - Check the function of the camera after you have connected it to a monitor.

Fastening the camera
- Thighten the two screws in the slots of the camera bracket.
- Mount the side covers with the two screws M3 x 8 mm in the middle drill holes (fig. 20).

Cleaning and caring for the camera
NOTICE! Risk of damage!
Do not use sharp or hard objects to clean the device as these may damage the device.
Clean the camera with a soft, damp cloth from time to time.
Guarantee
The statutory warranty period applies. If the product is defective, please contact the manufacturer’s branch in your country (see the back of the instruction manual for the addresses) or your retailer.
For repair and guarantee processing, please send the following items:
- Defect components
- A copy of the receipt with purchasing date
- A reason for the claim or description of the fault
Disposal
Place the packaging material in the appropriate recycling waste bins wherever possible.
If you wish to finally dispose of the product, ask your local recycling centre or specialist dealer for details about how to do this in accordance with the applicable disposal regu-lations.
Technical data
| PerfectView CAM80CM | ||
| Ref. no: | 9600000049 | 9600000198 |
| Image sensor: | 1/3″ CCD | |
| Pixels: | approx. 270000 pixels | |
| Video standard: | PAL, 1 Vpp | NTSC, 1 Vpp |
| Light sensitivity: | < 1 Lux | |
| Picture angle: | approx. 145° diagonal approx. 100° horizontal approx. 72° vertical | |
| Operating voltage: | 11 – 16 Vg | |
| Power consumption: | 1.8 W | |
| Operating temperature: | –20 °C to +65 °C | |
| Protection class: | IP68 | |
| Resistance against vibration: | 6g | |
| Dimensions W x H x D (with camera bracket): | 106 x 68 x 54 mm | |
| Weight: | approx. 0.35 kg | |
Approval
The device has the E13 approval.
YOUR LOCAL DEALER
dometic.com/dealer
YOUR LOCAL SUPPORT
dometic.com/contact
YOUR LOCAL SALES OFFICE
dometic.com/sales-offices
A complete list of Dometic companies, which comprise the Dometic Group, can be found in the public filings of:
DOMETIC GROUP AB • Hemvärnsgatan 15 • SE-17154 Solna • Sweden



















