BQE303 Digital Electric BBQ
Instruction Manual
Important: Retain these instructions for future use.
Gasmate® is a registered trademark of:
Citroen Group Australia Pty Ltd www.gasmate.com.au
Aber Living Ltd, N.Z www.gasmate.co.nz
IMPORTANT NOTES
This electric BBQ is not intended for use by persons (including children) with reduced physical, sensory, or mental capabilities, or lack of experience and knowledge unless they are under supervision or have been given instruction concerning the use of the electric BBQ by a person responsible for their safety.
It is important that you read, understand, and follow these instructions very carefully. They are designed for the safety of yourself and others ensuring a long and trouble-free service life from your electric BBQ.
This electric BBQ complies with Australian and International standards and safety requirements. Repairs should only be carried out by qualified persons using original spare parts. Failure to do so may result in considerable danger to the operator.
This electric BBQ is NOT designed for use by young children or infirm persons without supervision.
Keep children away from the packaging materials due to the risk of suffocation.
Before using this electric BBQ, please read the instructions carefully and keep them for future reference. If the equipment is used by others, the instruction manual shall accompany the electric BBQ.
Safety alerts labeled DANGER, WARNING, and CAUTION alert you to special instructions or precautions concerning procedures that would be hazardous if performed incorrectly or carelessly.
DANGER
Immediate hazards that will result in severe injury or death.
WARNING
Hazards or unsafe practices could result in severe personal injury or death.
CAUTION
Hazards or unsafe practices that could result in minor injury, product, or property damage.
DANGER
ELECTRICAL SAFETY
- The electric BBQ should be supplied through a residual current device (RCD) having a rated residual operating current not exceeding 30mA.
- Before each use, completely uncoil the power cord and ensure that the power cord is not damaged.
- The power cord should be regularly examined for signs of damage and the electric BBQ is not to be used if the cord is damaged. If the mains connection plug or power cord becomes damaged it must be replaced by an authorized service center.
- This electric BBQ is fitted with a sealed electrical connection plug that is compatible with the electric BBQ, the mains supply for Australia, and meets the requirements of Australian and international standards.
- This electric BBQ must be connected to a supply voltage that is equal to that stated on the rating label.
- Always follow the Australian requirements for connection to the main supply. If in doubt always consult a qualified electrician.
- Do not connect external timers or remote control devices to the BBQ.
DANGER
ELECTRIC SHOCK RISK
- DO NOT immerse in or splash with water or liquid.
- Always ensure that the electric BBQ is kept clean and free from dust.
- The electric BBQ may not be operated near swimming pools or water connections.
- Do not use the electric BBQ if there is any damage to the heating tubes, the power cord, or the plug if the product has fallen over, or if another damage has occurred.
- Make sure to remove the plug from the PowerPoint when not in use, before cleaning, when there is any error, or during thunderstorms.
- The electric BBQ shall not be modified without authorization.
WARNING
SAFE OPERATION
- Charcoal or similar combustible fuels must not be used with this appliance.
- The electric BBQ can only be used for heating and cooking foods such as meat, fish and vegetables. Do not use on dry foods such as bread.
- The electric BBQ is intended for personal home use only and is not intended for commercial use.
- The electric BBQ is intended for use in a well-ventilated area that is sheltered from weather exposure during use and storage.
- Ensure the electric BBQ is only used when it is positioned on a solid, level surface.
- Wear heat-proof gloves when using handles.
- Start and use the electric BBQ only after the element nets, grill, plate, and oil pan are in place.
- A small amount of water should be placed on the oil pan to avoid an oil fire. The amount of water should be continuously checked and if the water evaporates, turn off the electric BBQ and slide the oil pan out to add more.
- Grease and oil may catch fire when not handled properly. DO NOT use water to extinguish the fire. ALWAYS disconnect the power and use appropriate fire extinguishing equipment.
- Do not use aggressive cleaners, abrasive cleaning tools, hard sponges, or other harsh cleaning products.
- When cleaning, do not spray liquid directly on the surface or inside of the electric BBQ. Once cool, remove the grill, plate, and other parts for cleaning and reinstall after
they are fully dry - The surface of the electric BBQ and any non-removable part should be cleaned with a soft cloth moistened with mild detergent.
- If the power is cut off while using the electric BBQ, follow the following steps:
1. Remove food from the grill.
2. Make sure no one touches the electric BBQ and allow sufficient time for it to cool. The case of an electric BBQ will be very hot before it cools down.
3. If power is lost for an extended period, unplug the electric BBQ, ensure there is adequate ventilation around the electric BBQ and keep monitoring the electric BBQ until it is completely cooled. .
WARNING
RISK OF BURNING OR SCALDING
- Certain surfaces on the electric BBQ can become very hot while it is in operation.
DO NOT touch any part of the electric BBQ while on. Hot surfaces may burn. - Never touch the fat drip tray while the electric BBQ is in operation as it will be very hot and could cause burns. Wait until the electric BBQ has fully cooled down before removing and cleaning.
- Care should be taken when placing or removing food. Use a thick cloth or heat-resistant gloves.
- Do not place items such as rags or packaged food on or inside the electric BBQ.
There is a risk of fire. - Do not leave the electric BBQ unattended during heating up, cooking, or until it is completely cooled down.
- Overheated food or hot oil can cause a fire.
- Allow the electric BBQ to cool completely before moving, cleaning, and/or storing it.
- Both sides and the upper part of the electric BBQ are designed for heat dissipation – it is normal for them to become hot. The bottom is for air intake. Holes and vents should not be blocked, otherwise, there is a risk of fire.
SPECIFICATIONS
| Model No | 80E303 |
| Rated Voltage | 220-240V- /50Hz |
| Rated Power | 2000-2400W |
| Element Type | Carbon element tubes x2 |
| IP Rating | IP24 |
| Protection Class | I |
| Recommended minimum circuit rating | 10A |
PART DESCRIPTIONS

| Item | Part name | Item | Part name |
| 1 | Cover | 11 | Plug |
| 2 | Glass window | 12 | Power cable |
| 3 | Handle | 13 | Main power switch |
| 4 | Display | 14 | Power button |
| 5 | Timer knob | 15 | Splatter plate |
| 6 | Oil pan | 16 | Reflective plate |
| 7 | Frame post | 17 | Element protection net brackets |
| 8 | Casters | 18 | Element protection net |
| 9 | Side table | 19 | Grill & Plate |
| 10 | ON/OFF/Temperature knob |
UNPACKING & ASSEMBLY INSTRUCTIONS
NOTE: Remove any transit protection material and dispose of it responsibly, especially from around the cooking element.
Carefully remove the components of the electric BBQ and ensure you have all the parts as noted above.
Do not connect to the power supply until the electric BBQ is fully assembled.
TROLLEY ASSEMBLY
- Assemble the four frame uprights, bottom plate, and platen of the product.

- Install the casters and the caster positioning plate on the bottom plate.

- Install the side panels and rear panels to the trolley

- Attach the door handle to the door

- Install the front door – insert the lower shaft into the hole at the bottom, then press the upper shaft down and align the upper shaft with the top hole, and release.

- Install the 2pcs rear M6x10 round head screws in the hole at the bottom of the BBQ body. Only screw them in about ½ way at this stage.

- Align the bottom screw of the BBQ body with the holes in the top of the trolley, then insert it in place to make the body sit on the top of the trolley completely.
- Push the BBQ body back on the trolley so that the rear panel of the BBQ body is flush with the rear panel of the trolley.
- Install the other 4pcs of M6x10 screws from the underside of the trolley top, then tighten all 6pcs of the M6x10 round head screws, so that the BBQ body is secured tightly to the trolley.

- Attach the side table fixing brackets using M6x10 screws (3 each bracket)

- Install the side tables to the side table fix the brackets and tighten the screws.

- Install the reflector onto the support plate at the bottom of the product

- Install the splatter plate to the inside of the BBQ.

- Install the grill and plate on the top surface of the splatter plate.

PREPARATION FOR USE
- Before starting, make sure there is no strong source of heat nearby.
- Avoid using the electric BBQ in areas where heat is concentrated or where no heat is allowed.
- The bottom should have adequate ventilation and not be blocked.
- During first use, smoke and odor could be generated on the surface of the electric BBQ – this is normal and should dissipate after a short period of time.
- Use in a well-ventilated environment and start the electric BBQ and run for at least 10 minutes without food.
- DO NOT place in an enclosed area during use or with carpet, tablecloth, or other flammable goods nearby.
- Place the electric BBQ on a smooth, level, and heat-resistant surface.
CLEANING
Dust on the surface of the electric BBQ or residues from the packaging and production process should be cleaned prior to first use.
Then turn the electric BBQ on to heat it up and clean it again after cooling.
- Clean surfaces with warm water and let dry. Note that corrosive cleaners may cause damage to the stainless steel.
- Cleaning the surface and interior of the electric BBQ with a small amount of water and a flexible cleaner is best.
- Completely dry the electric BBQ. Plug in the power cord.
INSTALL GRILL AND PAN
When installing the grill and plate, be careful not to touch the heating tube to avoid product damage. Make sure the grill and plate are installed in the correct position and you are ready to install. The grill and plate and element nets must be in place when the electric BBQ is in operation. Remove the grill and plate only when the electric BBQ is fully cooled.
When removing the grill and plate, lift gently and remove. Please pay attention to safety when in contact with the electric BBQ. When barbecuing meat products, juice, and fat often spill. It is important to make sure that the juice and fat don’t get into the electric BBQ – ensure the oil pan is always installed when used.
INSTRUCTION FOR USE
- Confirm that the electric BBQ is connected to the correct power supply in accordance with the product data plate.
- Press the main power switch on the right side of the electric BBQ to the ON (I) position to supply power to the electric BBQ. A short time after starting up, the display screen will light up, and the buzzer will sound to indicate the electric BBQ is on standby.
- Press the temperature knob, and the display screen will light up and show the temperature setting and time setting values will flash (initial default values are 380°C and 30 minutes respectively).
- Rotate the Temperature knob clockwise to increase the set temperature in 50°C increments (the highest temperature is 380°C). Rotate the temperature knob counter-clockwise to decrease the set temperature (the lowest temperature is 50°C).
- Press the Temperature knob to fix the set temperature.
- When the temperature is set, cooking is finished, or is suspended, press the temperature knob again and the electric BBQ will stop immediately and enter standby mode.
- Rotate the Timer knob clockwise to increase the running time in 30-second increments (maximum time is 60 minutes). Rotate the Timer know counter-clockwise to reduce the running time (minimum time is 30 seconds).
- Press the Timer knob to fix the timer setting and start the countdown. The electric BBQ will now begin heating up to the set temperature.
- If it is necessary to adjust the running time of the electric BBQ during use, press the Timer knob, and the timer display will flash. You can adjust the running time as per step 7. After the adjustment, press the Timer knob to restart the electric BBQ.
- When the timer value displayed on the screen reaches “0”, the electric BBQ elements will stop automatically.
- Turn off the main power switch and unplug the power cord after use each time.
PREHEATING
The display shows the current temperature while the electric BBQ is working. When the preset temperature is reached, there will be an audio prompt. Note that the temperature display will have an error of ±20°C. The electric BBQ will reach the highest thermal efficiency after preheating. It is recommended to preheat the electric BBQ for 5-10 minutes before adding food for best results.
COOKING ON THE ELECTRIC BBQ
The cooking time of different foods can vary depending on the type of food and its thickness. Frozen meat should be removed from the refrigerator 1 to 2 hours in advance to thaw at room temperature before cooking.
STOPPING COOKING
If you need to stop the electric BBQ during cooking, press the temperature knob once.
Cleaning and maintenance
Clean the electric BBQ only after it has cooled down completely and ensure that the master power switch is turned off, the PowerPoint turned off and the plug removed from the socket.
Remove the oil pan, grill, plate, splatter plate, and reflectors, and clean with a suitable cleaner.
When choosing a cleaner, choose one that is suitable for stainless steel or cast iron for the grill and plate.
If the oil pan, grill, plate, splatter plate, and reflectors are very dirty, spray the cleaner several times (away from the electric BBQ) and use a non-scratching plastic brush to clean them thoroughly. DO NOT clean with an abrasive, wire brush, etc.
For the inside and surface of the electric BBQ, wipe with a soft, damp cloth. DO NOT spray fluids directly into the electric BBQ.
Notes:
- Grease residue may cause fire and should be thoroughly cleaned.
- Removable oven fittings are made of high-quality stainless steel and are dishwasher-safe.
HOT SURFACES
DO NOT TOUCH
This symbol indicates, the temperature of accessible surfaces may be high when the appliance is operating and for some time after use.
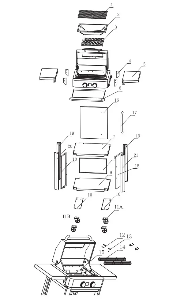
EXPLODED VIEW

| ITEM | PART NAME | ITEM | PART NAME |
| 1 | Grill & Plate | 11 B | Lockable casters |
| 2 | Splatter plate | 12 | M4x10 cross round head screws |
| 3 | Reflective plate | 13 | Element protection net fixing bracket |
| 4 | Side table fixing bracket | 14 | Element protection net |
| 5 | Side table | 15 | Element protection material |
| 6 | Oil pan | 16 | Front door |
| 7 | Trolley upper panel | 17 | Door handle |
| 8 | Rear panel | 18 | Side panel |
| 9 | Bottom shelf | 19 | Rear column |
| 10 | Caster alignment plate | 20 | Left column |
| 11A | Casters | 21 | Right column |
For any queries or assistance call![]()
Customer Service
(Australia Only)
1300 174 876
Hours of operation:
Monday to Friday 8am – 5pm EST
Do not return to place of purchase.
Keep your purchase receipt, this will be required to make any claims under the 1 year warranty.






























