TESY CN205EASLFRW Electric Panel Heater
IMPORTANT INSTRUCTION
WARNING!
- Please read this manual before operating the appliance and keep it at a safe place for future reference
- In case the appliance is obtained by a new owner, it should be transferred together with its manual.
- Children under 3 years of age should be kept away from the appliance unless they are under constant supervision.
- Children from 3 to 8 years of age are allowed to operate the on/off button ONLY, provided that the appliance is installed and ready for operation and such children have been supervised and instructed in safe operation of the appliance and they understand all related risks.
- Children from 3 to 8 years of age MUST NOT: connect the plug to power sockets, make adjustments, clean it or carry out user maintenance operations.
- This appliance can be used by children older than 8 years of age and by people with reduced physical, sensor and mental capabilities, as well as by people with insufficient experience and knowledge provided they are supervised or instructed in safe operation of the appliance and understand the related risks.
- Children should not be allowed to play with the appliance. Cleaning and user maintenance operations must not be carried out by children without supervision.
- CAUTION: Some of the appliance parts may get very hot during operation and thus cause burns to users. In case there are children and vulnerable people in the room, special attention should be paid.
- DO NOT leave your place while the appliance is operating: ensure that the power switch knob is switched to OFF position. Always disconnect the power plug from the socket.
- Keep inflammable objects, such as furniture, pillows, bedding, paper, clothes, curtains etc. at a distance of at least 100 cm away from the panel heater.
- Do not operate the appliance in areas of use or storage of combustible substances. Do not operate the appliance in areas of combustible media (for example in close proximity to inflammable gases or aerosols) – there is great risk of explosion and fire!
- Do not insert and do not allow foreign objects to enter the ventilation openings (inlet and outlet) because this will cause electric shock, fire or will damage the panel heater.
- This appliance is not suitable for animal breeding and it is intended for domestic use only!
- Keep the air inlet and outlet clear of any objects: an unobstructed distance of at least 1 metre in front and 1 metre behind the panel heater should be provided.
- The most common cause of overheating is fluff and dust deposits in the appliance. Clean the ventilation openings regularly with a vacuum cleaner. Before that disconnect the power plug from the socket.
- Never touch the appliance with damp or wet hands there is danger for your life!
- The power socket must be easily accessible all the time in case the power plug has to be disconnected as fast as possible! Never pull the power cord or the appliance itself in order to disconnect it from the mains.
- ATTENTION! Outgoing air gets hot during operation (up to more than 100°C).
- Do not cover the appliance. If the appliance gets covered, there is risk of overheating and fire.
- If the appliance is damaged or does not work properly, stop it and do not repair it yourself. For any kind of repairs call for assistance the after-sale service centre. This is the place where you will have your broken part replaced with an original one.
- Non-adherence to this instruction will compromise the appliance safety.
- If you decide to stop using such kind of appliance, it is advisable to render it unusable by cutting its power cord after disconnecting it from the mains.
- It is advisable all possible dangers related to the appliance to be prevented, especially in relation to children that may play with out-of-use appliances.
- Never keep the appliance unnecessarily switched on. Disconnect it from the power socket when you do not intend to use it for a long period of time.
- Warning: Do not use this appliance with a programming device, counter or any other device which can automatically switch it on because if the appliance is covered or improperly positioned this may cause fire.
- Position the power cord in such a way that it does not
PACKING
- After unpacking the appliance, check if all its elements are included in the packing and that it has not been damaged during transportation! In case damage or incomplete delivery is found, contact your authorized retailer!
- Do not throw away the original packing! It could be used for storage and transportation purposes in order to avoid damages during transportation!
- Disposal of pac king materials should be done in the appropriate way! Children should be prevented from playing with the polyethylene bags!
MAIN PARTS
INSTALLATION OF THE APPLIANCE

- Freestanding position
- Attach the two plastic feet to the base of the panel heater
- Use a suitable tool to fix the feet by means of four screws which are included in the appliance set;
- Place the panel heater into a proper working position before connecting it to the power supply;
- Choose a suitable place for the appliance, taking into account the safety instructions;
- At initial operation of the appliance and when the appliance has not been used for a long time, it is possible some odour or smoke to be emitted.
- These emissions will disappear after a short period of appliance operation.
- Moving the appliance:
- If it is necessary to move the appliance, turn it off by the major switch, unplug the power cord and move it with your both hands to its new place, having ensured it has cooled off. Moving hot appliances may lead to undesired consequences to the user such as burning one’s skin or inflammable materials getting on the appliance.

- If it is necessary to move the appliance, turn it off by the major switch, unplug the power cord and move it with your both hands to its new place, having ensured it has cooled off. Moving hot appliances may lead to undesired consequences to the user such as burning one’s skin or inflammable materials getting on the appliance.
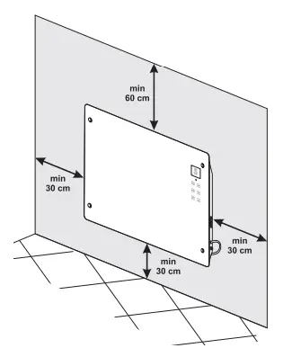
Wall Installation
- Choose a suitable place so that furniture and other objects not to obstruct proper convection of the appliance;
- Keep the minimum distances as prescribed on
- Minimum 60 cm away from the ceiling;
- Minimum 30 сm away from the floor;
- Minimum 30 сm away from a wall or another object on the left and right side of the panel heater.

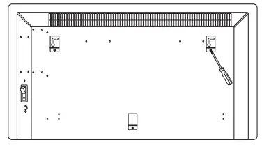
- Installation and fixation of the panel heater
- Install the – shaped wall support bars to the back panel by means of the screws included in the package
- Measure the distance between the two centers of the two upper horizontal openings of the support bars;
- Drill openings into the wall at the selected place (openings should correspond to the measured distance between the support bars centers), put the dowels into the drilled openings and wind the screws;
- Hang the panel heater on the wall and make sure that all minimum safety distances have been kept (according to fig. 4) and it has been securely fixed to the wall. Then you can operate the panel heater
- Thank you for choosing panel heaters – CN205EASLFRW.
- These are products providing heating in winter in the power range of 1000W or 2000W depending on the consumers’ needs for comfortable room temperature.
- If operated and taken care of properly, the appliance will provide you with many years of useful operation.
OPERATION OF THE APPLIANCE
Getting Started
- Connect the appliance to a safe power socket;
- Turn on the side mechanical switch – temperature display of the screen and time (00:00) lighting up, the product entering standby state
- Press button – the screen is displaying environment temperature (default working temperature is 35°C) display time (00:00), anti frost function icon , and day mode icon at that time, while other icons are not displayed The anti-freezing mode works only in the standby state and after timing, while the icon has been shining all the time.
- At this time the heater enters the day mode standby state.
- Day mode and week mode selection switch: when day mode is in the scintillation state, touch or to switch, and then touch to confirm. If you want to switch on day mode and week mode under working conditions, but day mode or
week mode icon do not flicker, you need to long press the mode button first to wake up and touch or to switch in the scintillation state of the icon.
Daily mode setting
- Touch (the day mode icon stops flickering), in order to choose one of the following functions. The selected mode icon will light up while the others don’t.
- Anti-freezing mode – the applience will be heated only when the environment temperature is below 5°C and stop heating when the temperature rises to 7°C.
- The icon is displayed when heating and the icon is extinguished when the heating is stopped.
- Eco (energy-saving) mode – the maximum working temperature is 18°C by default.
- When the environment temperature is below 18°C, select ECO energy-saving mode and the heater will be full power (highgrade) heating.
- When the temperature reaches 18°C, the heater automatically switches to lowgrade heating in low-grade working condition.
- When the temperature is reduced to 16°C, the heater will automatically recover heating.
- Economy heating mode – the heater will automatically switches to the state of economic heating (that is, the temperature is 3°C lower than the comfort temperature).
- Comfortable heating mode – the heater will be in the full power (high grade) heating state.
Temperature setting
- Touch temperature key , and temperature display flickers. Touch or to set proper temperature, and the machine will automatically default the temperature after 10 seconds.
- The temperature range of the heater is between 15 to 50°C.
- Only you can set the temperature in the comfort mode the other modes are set by default.
- When the environment temperature is higher than the set temperature of 1 degree, the heater stops heating.
- When the product stops heating (The heating icon is extinguished at the same time, and the corresponding pattern icon is still displayed), when the environment temperature is below 1 degrees , the heater will automatically recover heating. (heating icon is displayed meanwhile).
Set programs
| Mode programs | Rated power | Rated voltage |
| P1 | from 0 to 5 o’clock anti frost mode from 5 to 7 o’clock ECO energy-saving mode from 7 to 24 o’clock comfortable mode | It is suitable for the living room on Saturday and Sunday |
| P2 | from 0 to 10 o’clock – anti frost mode from 10 to 13 o’clock – ECO energy- saving mode from 13 to 15 o’clock – anti frost mode from 15 to 23 o’clock – comfortable mode from 24 o’clock – anti frost mode | It is suitable for the living room from Monday to Friday. |
| P3 | from 0-6 o’clock – economic mode from 6 to 7 o’clock – comfortable mode from 7 to 19 o’clock – anti frost mode from 19 to 20 o’clock – ECO energy- saving mode from 21-22 o’clock – comfortable mode from 22-24 o’clock – economic mode | It is suitable for the bedroom. |
| P4 | from 0 to 6 o’clock – anti frost mode ; from 6 to 17 o’clock – comfortable mode ; from 17 to 24 o’clock – anti frost mode ; | It is suitable for the office from Monday to Friday |
| P5 | from 0 to 24 o’clock – anti frost mode
| It is suitable for the office on Saturday and Sunday. |
Timing setting
Touch , and hour time 00: flickers. Touch or to set hour time, and then touch again: 00: minute time flickers. Touch or to set minute time. In the anti frost mode state, we can set an appointment to open the machine.(that is, after completing the appointment, the heater enters the high-grade heating mode .) In the heating state, an appointment can be set up for shutdown.( that is, after completing the appointment, the heater stops heating and automatically enters anti frost mode. )The timing time decreases with time and the display time also decreases meanwhile. (when the timing state is not set, the time is shown as 00:00). Note: The device shows the temperature around the location of the sensor and is not a means of accurately measuring the ambient temperature.
Week mode setting
- Start week mode
- Touch on-off button : the screen is displaying environment temperature , display time (00:00), anti frost function icon , and day mode icon at that time.
- Touch or to switch to week mode , and week mode icon flickers.
- Touch enter week mode standby state, and the screen is displaying environment temperature at that time, and display date ; mode number P1; time (00:00), anti frost function icon , and week mode icon .
Time setting
- press , date flickering, press or to set date within one week (1 to 7 any day);
- then press , time 00 : flickering and press or to set time from 1 to24 hours.
- press timing key ,00 minute: flickering and press up key or down key to set time from 0 to 59 minutes.
Week mode setting:
- enter week mode setting state, week mode icon flickering. Press to confirm, and week mode icon stops flickering.
- date flickering, press or to select date (1 to 7 any day); then press to confirm, pattern number flickering .
- Press or to select any suitable working mode and then press to confirm so that the selected pattern number will be light for a long time
- Then press , date flickering, and set the next day’s mode.
- According to the above settings, the operation process can be set in turn (Monday to Sunday any day, and P1 to P5 any one suitable working mode).
Temperature setting:
- touch , and temperature display flickers. Touch or to set proper temperature within the temperature setting range of 15 to 50 degrees.
- When the environment temperature is higher than the set temperature of 1 degrees, the heater stops heating.
- When the environment temperature is below 1 degrees, the heater will automatically recover heating.
- The set temperature is the temperature in the comfort mode, while temperature of other modes cannot be set freely.
- Default temperature of economic model is 3 degrees lower than comfortable mode . ECO energysaving mode automatically defaults to 18 degrees, and anti frost default mode automatically defaults to 5 degrees.
- The machine can automatically remember set programs.
- As long as the power supply is constantly opened, the set program and time keep working at all time.
- If the power goes off, you need to revise the time next time you open it, but the other settings will not change. Set programs
Child lock function
After entering the standby state for 1 minute, the product will be automatically locked and display the child lock icon . It can unlock the child lock by touching and for 1 seconds:
Window opening function
In all heating modes (comfort mode, economic mode, energy-saving mode and anti frost mode), when opening room windows, room temperature drops by 5°C in 30 minutes. The product stops heating automatically, and the window opening function icon on the display lights up. If you need to restore heating, you have to unlock it(if it has been locked), and then long press and for 1 seconds to return to the working mode before opening the window.
Shutdown
Press button – the heater stops working, and the display only displays the environment temperature, and the other function icons are not displayed. Please close the mechanical switch on the side when not using it for a long time.
SAFETY DEVICE
Your appliance is equipped with a safety device, which can turn the heater off in case of overheating. If the safety device cuts in, please disconnect the appliance and let it cool down completely. Check whether the inlet and outlet openings are blocked up. Then try to switch on the appliance again; if it still does not work, contact an authorized local service organization.
CLEANING
- It is compulsory first to switch off the appliance and disconnect its power cord from the socket. Before starting cleaning the panel heater you should wait until it cools down after disconnecting it from the power socket.
- Clean the body of the appliance with a damp cloth, vacuum cleaner or soft brush.
- Never immerse the appliance into water – there is danger to your life from electric shock!
- Never use petrol, thinner or coarse abrasive products for cleaning because they will damage the surface coating of the appliance.
STORAGE
- Before putting away the panel heater let it cool down after disconnecting it from the power socket.
- Use the original packing for storing the panel heater if it will not be used for a certain period of time. The product can be protected from excessive dust and dirt when it is kept in its original packing.
- Never put a hot appliance into its packing!
- The product has to be stored at a dry place away from direct sunlight.
- It is explicitly forbidden to store the appliance in wet or damp premises.
TECHNICAL CHARACTERISTICS OF THE APPLIANCE:
| Model | Rated power | Rated voltage | Rated fre- quency |
| CN205EASLFRW | 2000W | 230V~ | 50Hz |
Environment protection instructions
Old electric appliances contain valuable materials and therefore should not be disposed of as domestic waste! We ask you for your active cooperation to protect the resources and the environment by submitting your appliance to organized buy-back stations (if there are such).
TABLE 2: INFORMATION REQUIREMENTS FOR ELECTRIC LOCAL SPACE HEATERS
| Item | Symbol | Value 1. | Unit | Item | Unit |
| Heat output | Type of heat input for electric storage local space heaters only (select one) | ||||
| Nominal heat output | Pnom | 2,00 | kW | Manual heat charge control, with integrated thermostat | [no] |
| Minimum heat output (indicative) | Pmin | 1,00 | kW | Manual heat charge control, with room and/ or outdoor temperature feedback | [no] |
| Maximum continuous heat output (indicative) | Pmax,C | 2,00 | kW | Electric heat charge control, with room and/or outdoor temperature feedback heat charge control, with integrated thermostat | [no] |
| Auxiliary electricity consumption | Fan assisted head output | [no] | |||
| At nominal heat output | elmax | N/A | kW | Type of heat output/room temperature control (select one) | – |
| At minimum heat output | elmin | N/A | kW | Single stage heat output and no room temperature control | [no] |
| In standby mode | el SB | 0 Stand by 0.00094 | kW | Two or more manual stages, no room temperature control | [no] |
| With mechanic thermostat room temperature control | [no] | ||||
| With electronic room temperature control | [no] | ||||
| With electronic room temperature control plus day timer | [no] | ||||
| With electronic room temperature control plus week timer | [yes] | ||||
| Other control options (multiple selections possible) | |||||
| Room temperature control, with presence detection | [no] | ||||
| TESY Ltd – Head office 1166 Sofia, Sofia Park, Building 16V, Office 2.1. 2nd Floor PHONE: +359 2 902 6666, FAX: +359 2 902 6660, | Room temperature control, with open window detection | [yes] | |||
| With distance control option | [no] | ||||
| With adaptive start control | [no] | ||||
| With working time limitation | [yes] | ||||
| With black bulb sensor | [no] | ||||
























