Beacon LIGHTING 213302 DC Ceiling Fan
![]()
CAUTION
READ INSTRUCTIONS CAREFULLY FOR SAFE INSTALLATION AND FAN OPERATION.
AIR FUSION SLIPSTREAM Installation Instructions
THANK YOU FOR PURCHASING
Thank you for purchasing the latest in energy-saving ceiling fans. This fan runs on DC (direct current) power which gives it the benefit of being super energy efficient whilst still maintaining high volume air movement and silent operation.
Energy-saving – The DC motor is the latest technology in fan design. Its highly efficient motor saves up to 65% more energy than ceiling fans with traditional AC motors.
Silent operation – This DC fan motor is programmed with a stabilized current which efficiently reduces motor noise.
Low operating temperature – The DC power is managed effectively which brings down the motor operating temperature to less than 50℃. This results in a much cooler motor than a standard AC fan and increases the longevity of the motor.
6-speed remote control – Regular AC ceiling fans usually come with only 3 speeds, this DC fan comes complete with a 6 speed remote, which gives a greater choice of comfort levels.
SAFETY PRECAUTIONS
- The appliance is not intended for use by persons (including children) with reduced physical, sensory or mental capabilities, or lack of experience and knowledge unless they have been given supervision or instruction concerning the use of the appliance by a person responsible for their safety.
- Children should be supervised to ensure that they do not play with the appliance.
- An all-pole disconnection switch must be incorporated into the fixed wiring, in accordance with local wiring rules.
IN AUSTRALIA |
WARNING:
FOR SAFE USE OF THIS FAN AN ALL-POLE DISCONNECTION MUST BE INCORPORATED INTO THE FIXED WIRING IN ACCORDANCE WITH THE WIRING RULES.
As outline in clause 7.12.2 of AS/NZS 60335-1 for meeting the minimum electrical safety of this standard.
Please note warranty will be void if installation is without a means for an all-pole disconnection incorporated in the fixed wiring in accordance with the wiring rules.
Example: If a fan is connected to a circuit that can be isolated via an all-pole safety switch at the switchboard, then this is considered to be an all-pole disconnection to the ceiling fan electrical circuit, meeting the requirements of clause 7.12.2 of AS/NZS 60335.1.
A single-pole switch on the active of the receiver input of remote control must also be included in the wiring, and located the same room as the ceiling fan. - Do not dispose of electrical appliances as unsorted municipal waste, use separate collection facilities. Contact your local government for information regarding the collection systems available. If electrical appliances are disposed of in landfills or dumps, hazardous substances can leak into the ground water and get into the food chain, damaging your health and well-being.
- The structure to which the fan is to be mounted must be capable of supporting a weight of 21 kg.
- The fan should be mounted so that the blades are at least 2.1 m above the floor .
- This fan is suitable for indoor and alfresco areas where the fan is fully undercover with a minimum of 2 walls. This fan is not waterproof. When installed in an alfresco area, the ceiling fan must be positioned in a location protected from water, wind, dust and salt. Exposure to these elements will void the warranty. Mounting the fan in a situation where it is subject to water or moisture is dangerous and may increase the risk of damage, injury or electrical shock.
- Must be assembled and installed by a licensed electrician.
- WARNING: If unusual wobbling or oscillating movement is observed, immediately stop using the ceiling fan and contact the manufacturer, its service agent or suitably qualified persons.
- The replacement of parts of the safety suspension system device shall be performed by the manufacturer, its service agent or suitably qualified persons.
- The fixing means for attachment to the ceiling such as hooks or other devices shall be fixed with a sufficient strength to withstand 4 times the weight of the ceiling fan; that the mounting of the suspension system shall be performed by the manufacturer, its service agent or suitably qualified persons.
PARTS LIST
- Unpack your ceiling fan carefully. Remove all parts and hardware.
- Layout all the components on a smooth surface and make sure there are no components missing before assembling. If parts are missing, return the complete product to the place of purchase for inspection or replacement.
- Check whether the ceiling fan has been damaged during transport. Do not operate/install any product which appears damaged in any way. Return the complete product to the place of purchase for inspection, repair or replacement.
- Examine all parts, you should have the following:

| 1 | Mounting bracket x 1 | 9 | GX53 lamp x 1 |
| 2 | Canopy x 1 | 10 | Bottom cover x 1 |
| 3 | Canopy cover x 1 | 11a | Blade screws x 9 |
| 4 | Downrod and Ball Joint x 1 | 11b | Mounting screws x 2 |
| 5 | Bolt and pin cover x 1 | 11c | balancing kit x 1 |
| 6 | Fan assembly x1 | 12 | Blade Support Plates x3 |
| 7 | Fan Blades x 4 | 13 | Light kit extension cable x1 (For use with extension down rod) |
| 8 | Light kit plate x1 | 14 | Remote receiver and Remote controller, battery, holder x 1 set |
INSTALLING THE FAN
TOOLS REQUIRED:
- Phillips / flat head screwdriver
- Pair of pliers
- Adjustable spanner
- Step ladder
- Wirecutter
- Wiring, supply cable as required by local provincial and national wiring codes and regulations
INSTALLING THE MOUNTING BRACKET
- The ceiling fan must be installed in a location so that the blades are spaced 300mm from the tip of the blade to the nearest objects or walls.
- Install the hanging bracket to the ceiling joist or structure that is capable of carrying a load of at least 21 kg, with two long screws provided. Ensure at least 30mm of the screw is threaded into the support. (Fig. 2)
![]()
NOTE: The bracket screws provided are for use with wooden structures only. For structures other than wood, the appropriate screw-type MUST be used. Ensure the screws used are suitable for the mounting surface and the surrounding environment.
ANGLED CEILING INSTALLATION
This fan hanging system supports a maximum 6 degree angled ceiling installation. (Fig. 3)
![]()
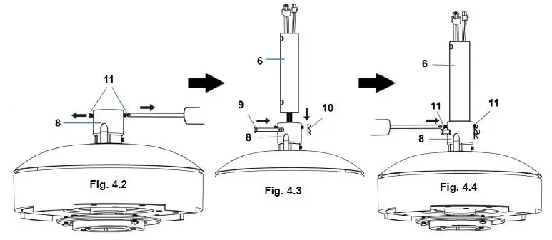
INSTALLING THE DOWN ROD (Fig. 4)
![]()
- Remove the ball joint (2) and dowel pin (3) by loosening the set screws (4) from the down rod (6). Remove the hitch pin (9) by removing the lock clip (10) (Fig. 4.1).
NOTE: Do not discard keep these parts, they are required to reassemble later.
- Loosen the set screws (11) on the down rod coupling housing (8). (Fig. 4.2)
- Carefully feed the fan wires (1) up through the down rod (6). (fig. 4.3)
- Assemble the down rod (6) into the down rod coupling housing (8), by inserting and line up the down rod coupling housing holes with the down rod holes and insert the hitch pin (9) and secure with the lock clip (10). (Fig. 4.3)
- Secure the down rod (6) by tightening the set screws (11). (Fig. 4.4)

- Insert the decorative cover (7) onto the down rod (6) to cover the down rod coupling housing (8).(Fig. 4.5)
- Insert the canopy (5) over the down rod (6) and install the ball joint (2) and dowel pin (3) back onto the down rod (6) and secure by tightening the set screws (4). (Fig. 4.5 and Fig. 4.6)
INSTALLATION OF BLADE (Fig. 5)
- Orientate the blade Support plate and fan blade onto the fan assembly (Fig.5)
Mount the fan blade onto the fan assembly using three blade screws with lockwashers (supplied in fan parts bag) (Fig.5).
Ensure all screws are tightened evenly to reduce the chance of warping or unbalancing.
Take care not to over tighten the screws, as this can damage the blades - Repeat for the remaining Two fan blades and support plates.
To secure the three blade support plates and the fan blades to the fan assembly, tighten all screws with lockwashers.
![]()
INSTALLATION OF LIGHT KIT (Fig. 6)
NOTE: The light kit must be installed by a licensed electrician.
- Loosen the screw (1) from the fan bracket. (Fig. 6)
- Align the two slot screws with the keyhole slots (2) of the light kit plate. (Fig. 6)
- Turn the light kit plate counterclockwise until the slot screws are firmly at the end of the slots (2).
- Secure screw (1) to the lamp shade bracket. Tighten all three screws. Do not over-tighten.
![]()
INSTALLATION OF LAMP (Fig. 7)
- Install the lamp on the fan assembly then secure it by turning clockwise. (Fig. 7)
![]()
INSTALLATION OF BOTTOM COVER (Fig. 8)
- If no lamp is required, Install the bottom cover to the fan assembly then secure it by turning clockwise.(Fig.8)
![]()
HANGING THE FAN
Lift the fan assembly onto the mounting bracket. Ensure the key slot (A) of the hanger ball is positioned on the key pin (B) of the mounting bracket (C) to prevent the fan from rotating when in operation. (Fig. 9)
![]()
ELECTRICAL WIRING DIAGRAM THE FAN
PREPARE AND COMPLETE THE ELECTRICAL WIRING — WIRING DIAGRAM (FIG. 10)
WARNING: FOR YOUR SAFETY ALL ELECTRICAL CONNECTIONS MUST BE UNDERTAKEN BY A LICENSED ELECTRICIAN.
NOTE: AN ADDITIONAL ALL POLE DISCONNECTION SWITCH MUST BE INCLUDED IN THE FIXED WIRING.
NOTE: IF THERE ARE TWO OR MORE DC CEILING FANS INSTALLED IN THE ONE LOCATION, AN ISOLATION SWITCH IS REQUIRED FOR EACH CEILING FAN. THIS IS REQUIRED WHEN PROGRAMMING THE REMOTE AND RECEIVER TO PAIR TOGETHER.
Ensure the motor earth wire is connected to the single earthing terminal block “1” in the diagram below.
(Fig. 10)
From mains supply to mounting bracket terminal block: (Fig. 10)
- Connect the live supply wire to the “L” terminal of the terminal block on the mounting bracket.
- Connect the neutral supply wire to “N” terminal of the terminal block on the mounting bracket.
- Connect earth wire to the earth terminal of the terminal block on the mounting bracket. Hang the fan (Refer to “hanging the fan” Fig. 9,page 8).
From mounting bracket to receiver and motor : (Fig. 10) - Connect the supply wiring from the mounting bracket to the input of the DC motor driver/receiver.
- Connect the output wires of DC motor driver/receiver to the input wires of the fan motor and the light kit.
![]()
Carefully insert the Remote Receiver above the hanger ball in the remainder spacing in the mounting bracket. Take care not to damage or loosen any of the wiring. (Fig. 11).
![]()
FINISHING THE INSTALLATION
NOTE: Ensure the earth wiring is secure and correct, by performing an earthing continuity test from the fan’s accessible metal body back to the earth terminal at the terminal block on the mounting bracket.
INSTALLATION OF THE CANOPY (Fig. 12)
- Loosen the 2 screws at the bottom of the mouthing bracket.
- Slide the canopy up to the mounting bracket and align the key holes on the canopy with the screws on the mounting bracket. Turn the canopy until it locks into place with the narrow section of the key holes and secure it by tightening the two screws. Avoid damaging the electrical wiring prepared previously.
- Slide the canopy cover up to the canopy.
![]()
INSTALLATION OF THE REMOTE CONTROL HOLDER (Fig. 13)
- Locate a suitable wall to fix the remote control holder with the 2 screws. (Fig.13a).
- Slide the remote into the holder. (Fig. 13b)
![]()
USING YOUR CEILING FAN
REMOTE CONTROL (Fig. 14 )
![]()
- Reverse control
- Natural wind (The fan speed automatic cycle between 1 to 6 speed)
- Speed control
- Light On/Off
- Fan On/Off
- 1.5V AAA battery x 2 pcs (Included)
The LED light has a 3-step dimmable function which is controlled by an ON/OFF switch.
When the LED light is ON and at 100% brightness, press the light button “ON and then OFF within 5 seconds”, to dim the LED light. Repeat pressing ON and then OFF within 5 seconds to dim further in the following sequence: 100% brightness → 50% brightness → 20% brightness → 100% brightness.
To switch back to 100% brightness at any stage, turn OFF the luminaire, and then wait after 5 seconds turn ON the luminaire, it will reset to 100% brightness.
PAIRING REMOTE AND RECEIVER – WHEN 1 DC CEILING FAN IS INSTALLED IN ONE LOCATION
NOTE: Ensure that you have installed a single pole disconnection switch in the fixed wiring for the fan.
NOTE: Ensure power to the receiver is ON prior to pairing the remote with the receiver.
- Turn OFF the mains supply to the fan by on/off wall switch.
- Install the batteries into the remote. Please make sure the polarity of the battery is correct.
- Turn ON the power to the receiver.
- Press and hold the “ ” button on the remote for 10 seconds within 30 seconds of switching the power ON to the receiver of the ceiling fan.
- There will be a notification ‘beep’ sound from the receiver to indicate that the paring process is successful.
- Turn ON and change the speed of the ceiling fan via the remote to check the operation and successful paring.
PAIRING REMOTE AND RECEIVER – WHEN 2 OR MORE DC CEILING FANS ARE INSTALLED IN ONE LOCATION
When two or more ceiling fans are located near each other, you may desire to have the remote/receiver for each fan paired so that the operation of one fan does not affect the operation of the other fans.
NOTE: Ensure that you have installed a single-pole disconnection switch in the fixed wiring for each fan. NOTE: Ensure power to the Receiver is ON prior to pairing the remote with the receiver.
Remote / Receiver pairing for ceiling fan 1:
- Turn OFF the mains supply to the receivers of both ceiling fans 1 and 2.
- Install the batteries into the remote. Please make sure the polarity of the battery is correct.
- Turn ON the power to receiver 1. Keep the power OFF to receiver 2. (Each ceiling fan must have its own isolation switch so that only the ceiling fan that needs to be paired with the transmitter will be ON).
- Press and hold the “ ” button of transmitter 1 for 10 seconds within 30 seconds of switching the power ON to the receiver of ceiling fan 1.
- There will be a notification ‘beep’ sound from the receiver to indicate that the paring process is successful.
- Turn ON and change the speed of the ceiling fan 1 by the transmitter to check the operation and successful paring.
Remote / Receiver paring for Ceiling fan 2:
- Turn OFF the mains supply to the receivers of both ceiling fans 1 and 2.
- Install the batteries into the remote. Please make sure the polarity of the battery is correct.
- Turn ON the power to receiver 2. Keep the power OFF to receiver 1. (Each ceiling fan must have its own isolation switch, so that only the ceiling fan that needs to be paired with the transmitter will be ON).
- Press and hold the “ ” button of transmitter 2 for 10 seconds within 30 seconds of switching the power ON to the receiver of ceiling fan 2.
- There will be a notification ‘beep’ sound from the receiver to indicate that the paring process is successful.
- Turn ON and change the speed of ceiling fan 2 by the transmitter to check the operation and successful pairing.
REPAIRING THE FAN RECEIVER & REMOTE PAIRING
Should the remote and receiver lose control after installation or during use, the pairing of the remote and the receiver must be repaired. Below are the operating symptoms and method to repair the pairing of the DC ceiling fan remote and receiver.
Issues:
- Loss of control – Fan is only running at high speed after installation
- Loss of control – No reverse function after installation
- Loss of control – Remote cannot communicate with the receiver
Solution:
- Switch off the main power of ceiling fan.
- Switch on the main power of the ceiling fan. Follow the same process as described in the ‘Paring remote and receiver’ section to repair your fan.
Turn on and select the different speed of the ceiling fan to check the operation of the fan.
AFTER INSTALLATION
NOTE: Ceiling fans tend to move during operation due to the fact that they are mounted on a rubber grommet. If the fan was mounted rigidly to the ceiling it would cause excessive vibration. Movement of a few centimeters is quite acceptable and DOES NOT suggest any problem.
TO REDUCE THE FAN WOBBLE: Please check that all screws which fix the mounting bracket and down rod are secure.
BALANCING KIT: A balancing kit is provided to balance the ceiling fan on initial installation. Please refer to the instruction on how to use the balancing kit. The balancing kit can be used to assist re-balancing should the ceiling fan become un-balanced again. Store your balancing kit away after installation for future use if required.
NOISE:
When it is quiet (especially at night) you may hear occasional small noises. Slight power fluctuations and frequency signals superimposed in the electricity for off-peak hot water control, may cause a change in fan motor noise. This is normal. Please allow a 24-hour “settling-in” period, most noises associated with a new fan disappear during this time.
The manufacturer’s warranty covers actual faults that may develop and NOT minor complaints such as hearing the motor run – All electric motors are audible to some extent.
CARE & CLEANING
NOTE: Always turn OFF the power at the mains switch before performing any maintenance or attempting to clean your fan.
- Every 6 months periodic cleaning of your ceiling fan is the only maintenance required. Use a soft brush or lint free cloth to avoid scratching the paint finish. Please turn off electricity power when you do so.
- Do not soak or immerse your ceiling fan in the water or other liquids. It could damage the motor or the blades and create the possibility of an electrical shock.
- Ensure that the fan does not come in contact with any organic solvents or cleaners.
- To clean the fan blade, wipe with only a damp clean cloth with NO organic solvents or cleaners.
- The motor has a permanently lubricated ball bearing so there is no need to oil.
SAFETY PRECAUTIONS FOR BATTERY - WARNING – Keep new and used batteries away from children.
- CAUTION – Do not ingest battery—Chemical burn hazard.
- Always use 2 x AAA battery type with this ceiling fan remote controller.
- Ensure the batteries are inserted with the correct polarity.
- To prevent false operation during battery insertion or replacement, this ceiling fan must be disconnected from the supply mains.
- Remove batteries from the product when not in use for long periods of time.
- Batteries must be removed from the remote transmitter before it is discarded.
- Dispose of exhausted batteries immediately and safely (so they cannot be retrieved by children). Batteries can still be dangerous. Contact your local council to safely dispose of the battery.
- Regularly check the product and make sure the battery box lid is correctly secured. If the battery compartment does not close securely, stop using the product and keep it away from children.
- If you think batteries might have been swallowed or placed inside any part of the body, seek immediate medical attention. If you suspect your child has swallowed or inserted a button battery, immediately call the 24-hour Poisons Information Centre on 13 11 26 for fast, expert advice.
- Battery Leaks: Battery contains chemicals and should be treated as any chemical would. Take precautions when handling leaked battery chemicals. Battery chemicals should not be placed near the eyes or ingested. Contact Poisons Information Centre on 13 11 26 for fast, expert advice.
TECHNICAL INFORMATION
| TECHNICAL INFORMATION | |
| Fan | 42’’ & 48” &52” DC fan – SLIPSTREAM |
|
Fan Models | SLIPSTREAM-42”- 4B WH, SLIPSTREAM-42”- 4B BLK, SLIPSTREAM-48”- 4B WH, SLIPSTREAM-48”- 4B BLK, SLIPSTREAM-52”- 4B WH, SLIPSTREAM-52”- 4B BLK / SKU#213302, SKU#213303, SKU#213304, SKU#213305, SKU#213306, SKU#213307 |
| Rated Voltage | 220-240V~ 50Hz |
| Rated Wattage (Motor) | 42”Slipstream – 22W / 48” & 52” Slipstream – 26W |
| Rated wattage (Lamp) | GX53 (SKU#121354 / SKU#121359) , Max.12W (SKU#121354 Included) |
| Battery for remote | 2 x AAA (Included) |
| Weight | 5.18kg |
| Canopy Dimensions | H:51mm Dia:138mm |
LUCCI CEILING FAN WARRANTY DETAIL
LUCCI FAN WARRANTY CONTACT INFORMATION:
Online Warranty Form: https://www.beaconlighting.com.au/warranty-claims Email: [email protected]
Lucci Fan Warranty Hotline: (Free Call) 1800 602 243
THIS WARRANTY IS VALID IN AUSTRALIA ONLY
In the event of service being required, please call the Lucci Fan Warranty Hotline on 1800 602 243 between 9am & 5pm (EST) Monday to Friday. Please make sure you have all the ceiling fan details filled out at the end of the manual before making the call.
Every Lucci ceiling fan is thoroughly inspected and tested before being released for sale. In addition to any warranty rights or conditions under statutory regulations, Lucci warrants all of its ceiling fans against defective workmanship and faulty materials for twenty-four (24) months from the date of purchase. Lucci undertakes, at its option, to repair or replace, free of charge, each product or part thereof on condition that;
- The fan or relevant part has not been subjected to misuse, neglect, or been involved in an accident.
- The repairs are not required as a result of normal wear and tear.
- The product was installed by a licensed electrical contractor.
- A copy of the original receipt of purchase is presented.
- 12-month warranty applies when used in any non-domestic applications.
- This warranty does not cover stains, scratch and scuff marks, or dents if the product is purchased through a factory outlet or to refurbished items.
Our goods come with guarantees that cannot be excluded under the Australian Consumer Law. You are entitled to a replacement or refund for a major failure and compensation for any other reasonably foreseeable loss or damage. You are also entitled to have the goods repaired or replaced if the goods fail to be of acceptable quality and the failure does not amount to a major failure.
Lucci Design cannot be held responsible for any repair other than those carried out by it or one of its Authorised Service Agents. Please keep this warranty information in a safe place. This information must be produced in the event of service being required.
Distributed by:
Beacon Lighting
140 Fulton Drive
Derrimut, Victoria, 3026
Australia
Ph +613 9368 1000
Email: [email protected]
CEILING FAN WARRANTY INFORMATION
LUCCI FAN WARRANTY CONTACT INFORMATION:
Online Warranty Form: https://www.beaconlighting.com.au/warranty-claims Email: [email protected]
Lucci Fan Warranty Hotline: (Free Call) 1800 602 243
Complete and retain this form for your personal records and warranty purposes.
NAME……………………………………………………………………………………………………..…
ADDRESS……………………………………………………………………………………………..……
……………………………………………………POSTCODE……………………………………………
MODEL NUMBER………………………………………………………………………………………..…
(PO# + DATECODE Sticker here)
PO NUMBER or DATECODE …………………………………………………………………………….
DATE OF PURCHASE………………………………………………………………………………….…
INSTALLING LICENSED ELECTRICIAN……………………………………………………………..…
………………………………………………………………………………………………………….……
LICENCE No………………………………………………………………………………….……………
ATTACH PROOF OF PURCHASE HERE
THIS COMPLETED DETAIL PAGE SHOULD BE PRODUCED AND FAXED TO THE WHOLESALER OR THEIR AUTHORISED AGENTS BEFORE OBTAINING WARRANTY SERVICE



















