LEXON LL137 Nomaday Flash Wearable LED Lamp

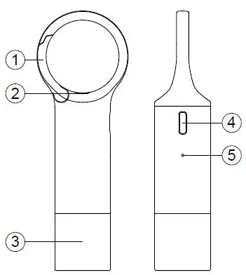
OVERVIEW

- Hook
- Button
- LED light
- Type-C charging port
- LED indicator (battery & charging status)
FEATURES
- Visibility: Up to 200m
- Light modes: Steady light, Slow blinking, Fast blinking & Breathing light
- LED colors: White & Red
CHARGING INSTRUCTIONS
We recommend you to fully charge the battery before using Nomaday Flash for the first time.
Charge with USB cable
- Plug the provided USB Type-C cable into the charging port of Nomaday Flash.
- Plug the other USB end into any computer or any DC 5V-1A power supply charger.
LED information
| Operation mode | Light status |
| In use | White LED off |
| Charging | White LED flashes slowly |
| Low battery | White LED flashes slowly |
| Fully charged | While LED stays on |
OPERATING INSTRUCTIONS
- Press the button once to turn on the light. By default, the light is set in steady white mode.
- When turned on, press and hold the button to switch between white and red lights.
- • When turned on, short press the button to toggle among the following modes:
- Press once to switch to slow blinking mode
- Press twice to switch to fast blinking mode
- Press three times to switch to breathing mode
- Press four times to switch to Off mode
- Press again to turn On the light
The system operates in loop and works with both LED colors (white/red)
Note: Switching the LED color will not change the chosen lighting mode. If you turn off the unit, it will save the last selected LED color in memory.
SAFETY PRECAUTIONS
Read all the instructions before using the device:
- Attach and handle the LED keyring with care.
- Do not attempt to dissemble the device by yourself.
- Do not use any inappropriate tools that can cause damages
- Keep it far away from the flammable and explosive gas.
- Make sure the adaptor output is 5V when charging.
PRODUCT SPECIFICATIONS
- Material: ABS/ Zinc Alloy/ Stainless steel
- Battery voltage: 3.7V
- Dimensions: 3.5 x 1.8 x 10 cm
- LED light: Red & White
- Input: DC 5V – 1A
- Battery capacity: 300 mAh
- Port type: USB Type-C
- Charging time: 1.5h
- Working time: Up to 12h
- Battery type: Li-polymer
- Operating temperature: -10 – +55°C
- Water resistance: IPX4 withstands spray and heavy persistent rain.




















