
The Sound Experience![]()
OWNER’S MANUAL
Sub
hertz-audio.com
Mille
Congratulations on purchasing our product. Your satisfaction is the first requirement that our products must meet: the same satisfaction as the one gained by those who long for experiencing the car audio emotion. This manual has been drawn to provide the main instructions required to install and use the system properly. However, the range of possible applications is wide; for further information, please feel free to contact your trusted dealer or our technical support at the email [email protected]. it Before installing the components, please carefully read all of the instructions contained in this manual. Failure to respect these instructions may cause unintentional harm or damage to the product.
- All components must be firmly secured to the vehicle structure. Do the same when installing any custom structures you may have built. Confirm your installation is solid and safe. A component coming loose while driving may cause serious damage to the passengers, as well as to other vehicles.
- Always wear protective eyewear when using tools, as splints or product residue may become airborne.
- In order to avoid incidental damage, keep the product in the original packaging until you are ready for the final installation.
- Do not carry out any installation inside the engine compartment.
- Before starting with the installation turn the head unit and all other audio system devices off, avoiding any possible damage.
- Make sure that the location you choose to install the components does not interfere with the normal operation of any mechanical or electrical devices of the vehicle.
- Do not install loudspeakers where they may be exposed to water, excessive humidity, dust or dirt.
- Do not install the components or make cable run close to electronic or mechanical devices of the vehicle.
- Be very cautious when drilling or cutting into the vehicle chassis, making sure there are no cables or structural elements essential to the vehicle underneath or in the selected area.
- When routing cables, make sure that the cable does not come in contact with sharp edges or near-moving mechanical devices. Make sure that it is firmly attached and protected along its entire length and its insulation is self-extinguishing.
- Only use cables with the proper section (AWG) indicated herein.
- When running the cable through a hole in the chassis of the vehicle, protect the cable with a rubber ring (grommet). Be sure to provide proper protection for cables running
close to heat-generating devices. - Do not run the wires outside of the vehicle.
- Use top-quality cables, connectors, and accessories such as found in the Connection catalog.
- Warranty certificate: For more information visit the Hertz website.
Information on electrical and electronic equipment waste (for those European countries which organize the separate collection of waste). Products that are marked with a wheeled bin with an X through it can not be disposed of together with ordinary domestic waste. These electrical and electronic products must be recycled in proper facilities, capable of managing the disposal of these products and components. In order to know where and how to deliver these products to the nearest recycling/disposal site please contact your local municipal office.
Recycling and disposing of waste in a proper way contributes to the protection of the environment and prevents harmful effects on health.
Hertz Warranty
The Hertz products are warranted, under normal functioning conditions, for the period of time as set by the laws in force, against defects concerning materials or their manufacturing. The warranty is valid from the date of purchase, certified by the receipt.
The warranty is not valid if:
- the product is damaged by incidents, installations, and/or improper use, or by any other causes not depending on materials or manufacturing defects;
- the product is modified or tampered with by unauthorized people;
- its serial number has been altered or canceled.
While the product is under warranty, defective parts will be repaired or replaced at the manufacturer’s discretion.
The defective product, along with a notification about it, must be returned to the dealer from which it was purchased together with the warranty certificate duly filled in. If the product is no longer under warranty, it will be repaired at the current costs.
Elettromedia s.r.l. does not undertake any liability for damages due to transportation.
Elettromedia s.r.l. does not take any responsibility for: costs or loss of profit due to the impossibility to use the product, other accidental or consequential costs, expenses or damages suffered by the customer.
Warranty according to laws in force.
For more information visit the Hertz website.
Packaging contents

Size
| A | B | B1 | C | D | E | F | U | V | S | ||
| MP 250 D2.3 /MP 250 D4.3 | 268 | 236 | 39 | 160 | 141 | 274 | 58,5 | 250 | 5,5 | 3,50 | mm |
| 10.55 | 9.29 | 1.54 | 6.3 | 5.55 | 10.79 | 2.3 | 9.84 | 0.22 | 0.14 | in. | |
| MP 300 D2.3 /MP 300 D4.3 | 321 | 287 | 39 | 187 | 164 | 328 | 60 | 302 | 5,5 | 3,5 | mm |
| 12.64 | 11.3 | 1.54 | 7.36 | 6.46 | 12.91 | 2.36 | 11.89 | 0.22 | 0.74 | in. | |
| MPS 250 S2 /MPS 250 S4 | 274,5 | 231,6 | – | 103,2 | 82,6 | 244,6 | 38,9 | 255 | 5,5 | – | mm |
| 10.81 | 9.12 | – | 4.06 | 3.25 | 9.63 | 1.53 | 10.04 | 0.22 | – | in. | |
| MPS 300 S2 /MPS 300 S4 | 318,3 | 282,5 | – | 108,88 | 88 | 291,8 | 42,6 | 302 | 5,5 | – | mm |
| 12.53 | 11.12 | – | 4.29 | 3.46 | 11.49 | 1.68 | 11.89 | 0.22 | – | in. |
Mounting

IMPEDANCE | MP 250 D2.3 MP 250 D2.3 | MP 250 D4.3 MP 300 D4.3 | |
1 Speaker | 2+2 | 4+4 | Ω |
1 Speaker series | 4 | 8 | Ω |
1 Speaker parallel | 1 | 2 | Ω |
2 Speakers parallel – parallel | – | 1 | Ω |
2 Speakers series-parallel | 2 | 4 | Ω |
3 Speakers series-parallel | 1.3 | 2.6 | Ω |
Connections 
MP 250 D2.3 / MP 250 D4.3 – MP 300 D2.3 / MP 300 D4.3
Mounting
MPS 250 S2 / MPS 250 S4 – MPS 300 S2 / MPS 300 S4
HOW TO REMOVE

WARNING
Connections 
Technical specifications
| Component | Size | Power handling | Impedance | Magnet Size | Voice Coil ∅ | Magnet | Cone | Weight of one component | |
| Peak | Continuous | ||||||||
| mm (in.) | W | W | Ω | mm (in.) | mm (in.) | Kg (lb.) | |||
| MP 250 D2.3 | Subwoofer | 250 (10) | 1200 | 600 | 2 + 2 | 165 x 75 x 35 (6.5 x2.95 x1.38) | 65 (2.56) | High-density flux ferrite | Pressed-pulp cone with mineral powders | 8,2 (18.08) |
| MP 250 D4.3 | Subwoofer | 250 (10) | 1200 | 600 | 4 + 4 | 156 x 80 x 35 (6.14 x3.15 x1.38) | 65 (2.56) | High-density flux ferrite | Pressed-pulp cone with mineral powders | 7,8 (17.2) |
| MP 300 D2.3 | Subwoofer | 300 (12) | 1200 | 600 | 2 + 2 | 165 x 75 x 35 (6.5 x2.95 x1.38) | 65 (2.5) | High-density flux ferrite | Pressed-pulp cone with mineral powders | 8,63 (19.03) |
| MP 300 D4.3 | Subwoofer | 300 (12) | 1200 | 600 | 4 + 4 | 165 x 75 x 35 (6.5 x2.95 x1.38) | 65 (2.56) | High-density flux ferrite | Pressed-pulp cone with mineral powders | 8,63 (19.03) |
| MPS 250 S2.3 | Subwoofer | 250 (10) | 1000 | 500 | 2 | 134 x 55 x 3 (6.28 x2.17 x1.42) | 38 (1.5) | High density flux ferrite | Polypropylene | 5,11 (11.27) |
| MPS 250 S4.3 | Subwoofer | 250 (10) | 1000 | 500 | 4 | 134 x 55 x 36 (6.28 x2.17 x1.42) | 38 (1.5) | High density flux ferrite | Polypropylene | 5,11 (11.27) |
| MPS 300 S2.3 | Subwoofer | 300 (12) | 1000 | 500 | 2 | 156 x 60 x 36 (6.14 x2.36 x1.42) | 38 (1.5) | High-density flux ferrite | Polypropylene | (14.64) |
| MPS 300 S4.3 | Subwoofer | 300 (12) | 1000 | 500 | 4 | 156 x 60 x 36 (6.14 x2.36 x1.42) | 38 (1.5) | High density flux ferrite | Polypropylene | 6,64 (14.64) |
ENCLOSURE DESIGN MP/MPS
In the following pages the Hertz Tech Team developed Sealed and Reflex designs for MP and MPS subwoofers. They are ready-to-build solutions, including the panel cut list, considering wood thickness 19mm (0.75in.) for MP and 16mm (0.63in.) for MPS series. The Vb data is the net volume for the enclosure, i.e. it excludes the speaker volume, ports, any internal bracing and any other internal component. The declared Fb is the actual tuning frequency of the box realized according to the ready-to-build solution. This geometry can not be accurately modeled using lumped parameter-based design software, hence those software may produce different results.
ENCLOSURE DESIGN MP 250 D2 / D4
SEALED BOX ASSEMBLY
DAMPING MATERIAL BOX ASSEMBLY AND SHAPE
This manual features the box assemblies and shapes which are easiest to create. However, the bass frequency performance can be noticeably improved with different box shapes, assembly methods and construction materials.
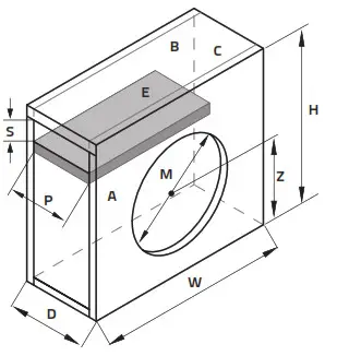
| BOX TECH DATA | Vb | Fc / Fb | Qtc | External dimensions (Pic .1) | Mounting Hole – M | Wood Thickness | PxS-Port inner size | Lp- ort length | Damping Material | |||
| W | H | D | P | S | ||||||||
| l (cu. ft.) | Hz | mm (in.) | mm (in.) | mm (in.) | mm (in.) | mm (in.) | mm (in.) | mm (in.) | mm (in.) | |||
| MP 250 D2.3 | 17 | 50 | 0,85 | 450 | 350 | 190 | 236 | 19 | – | – | – | Pic. 1 |
| Sealed (Fc) | (0.60) | (17.72) | (13.78) | (7.48) | (9.29) | (0.75) | – | – | – | |||
| MP 250 D4.3 | 17 | 47 | 0,82 | 450 | 350 | 190 | 236 | 19 | – | – | – | Pic. 1 |
| Sealed (Fc) | (0.60) | (17.72) | (13.78) | (7.48) | (9.29) | (0.75) | – | – | – | |||
| MP 250 D2/D4.3 | 24,5 | 38 | – | 568 | 330 | 276 | 236 | 19 | 292 | 50 | 670 | Pic. 2 |
| Reflex (Fb) | (0.96) | (22.36) | (12.99) | (10.87) | (9.29) | (0.75) | (11.50) | (1.97) | (26.38) | |||

| PANELS CUT LIST | A | Qty | B | Qty | C | Qty |
| mm (in.) | Pcs | mm (in.) | Pcs | mm (in.) | Pcs | |
| MP 250 D2/D4.3 Sealed | 450 X 350 (17.72 x 13.78) | 2 | 450 x 152 (17.72 x 5.98) | 2 | 312 x152 (12.28 x 5.98) | 2 |
| MP 250 D2/D4.3 Reflex | 568 x 330 (22.36 x 12.99) | 2 | 568 x 238 (22.36 x 9.37) | 2 | 292 x 238 (11.50 x 9.37) | 2 |
REFLEX
BOX ASSEMBLY
DAMPING MATERIAL BOX ASSEMBLY AND SHAPE
This manual features the box assemblies and shapes which are easiest to create.
However, the bass frequency performance can be noticeably improved with different box shapes, assembly methods and construction materials.

| FILTER | Suggested Subsonic filter cut-off | Suggested Lo-pass filter cut-off |
| MP 250 D2/D4.3 Sealed | 15 Hz / 24dB Oct | 70-80 Hz / 24 db Oct |
| MP 250 D2/D4.3 Reflex | 20 Hz / 24dB Oct | 60-70 Hz / 24 db Oct |

ENCLOSURE DESIGN MP 300 D2 / D4
SEALED BOX ASSEMBLY
DAMPING MATERIAL BOX ASSEMBLY AND SHAPE
This manual features the box assemblies and shapes which are easiest to create. However, the bass frequency performance can be noticeably improved with different box shapes, assembly methods, and construction materials.
| BOX TECH DATA | Vb | Fc / Fb | Qtc | External dimensions (Pic .1) | Mounting Hole – M | Wood Thickness | PxS-Port inner size | Lp-Port lenght | Damping Material | |||
| W | H | D | P | S | ||||||||
| l (cu. ft.) | Hz | mm (in.) | mm (in.) | mm (in.) | mm (in.) | mm (in.) | mm (in.) | mm (in.) | mm (in.) | |||
| MP 300 D2.3 | 28 | 48 | 1 | 450 | 360 | 280 | 287 | 19 | – | – | – | Pic. 3 |
| Sealed (Fc) | (0.99) | (17.72) | (14.17) | (11.02) | (11.30) | (0.75) | – | – | – | |||
| MP 300 D4.3 | 28 | 48 | 0,82 | 450 | 360 | 280 | 287 | 19 | – | – | – | Pic. 3 |
| Sealed (Fc) | (0.99) | (17.72) | (14.17) | (11.02) | (11.30) | (0.75) | – | – | – | |||
| MP 300 D2/D4.3 | 41 | 35.6 | – | 620 | 390 | 330 | 287 | 19 | 352 | 60 | 744 | Pic. 4 |
| Reflex (Fb) | (1.61) | (24.41) | (15.35) | (12.99) | (11.30) | (0.75) | (13.86) | (2.36) | (29.29) | |||

| PANELS CUT LIST | A | Qty | B | Qty | C | Qty |
| mm (in.) | Pcs | mm (in.) | Pcs | mm (in.) | Pcs | |
| MP 300 D2/D4.3 Sealed | 450 X 360 (17.72 x 14.17) | 2 | 450 x 242 (17.72 x 9.53) | 2 | 322 x242 (12.68 x 9.53) | 2 |
| MP 300 D2/D4.3 Reflex | 620 x 390 (24.41 x 15.35) | 2 | 620 x 292 (24.41 x 11.50) | 2 | 352 x 292 (13.86 x 11.50) | 2 |
REFLEX
BOX ASSEMBLY
DAMPING MATERIAL BOX ASSEMBLY AND SHAPE
This manual features the box assemblies and shapes which are easiest to create. However, the bass frequency performance can be noticeably improved with different box shapes, assembly methods, and construction materials.

| FILTER | Suggested Subsonic filter cut-off | Suggested Lo-pass filter cut-off |
| MP 300 D2/D4.3 Sealed | 15 Hz / 24dB Oct | 70-80 Hz / 24 db Oct |
| MP 300 D2/D4.3 Reflex | 20 Hz / 24dB Oct | 60-70 Hz / 24 db Oct |

Mille
ENCLOSURE DESIGN MPS 250 S2 / S4
SEALED BOX ASSEMBLY
DAMPING MATERIAL BOX ASSEMBLY AND SHAPE
This manual features the box assemblies and shapes which are easiest to create. However, the bass frequency performance can be noticeably improved with ifferent box shapes,
assembly methods and construction materials.
| BOX TECH DATA | Vb | Fc | Qty | External dimensions (Pic .1) | Mounting Hole – M | Wood Thickness | Damping Material | ||
| W | H | D | |||||||
| l (cu. ft.) | Hz | mm (in.) | mm (in.) | mm (in.) | mm (in.) | mm (in.) | |||
| MPS 250 S2 | 14,2 | 47,7 | 0,68 | 615 | 352 | 110 | 232 | 16 | Pic. 5 |
| Sealed Shallow | (0.5) | (24.21) | (13.86) | (4,33) | (9.13) | (0.63) | |||
| MPS 250 S2 | 14,2 | 47,7 | 0,68 | 386 | 352 | 160 | 232 | 16 | Pic. 5 |
| Sealed Regular | (0.5) | (15.2) | (13.86) | (6.30) | (9.13) | (0.63) | |||
| MPS 250 S4 | 14,2 | 49 | 0,81 | 615 | 352 | 110 | 232 | 16 | Pic. 5 |
| Sealed Shallow | (0.5) | (24.21) | (13.86) | (4,33) | (9.13) | (0.63) | |||
| MPS 250 S4 | 14,2 | 49 | 0,81 | 386 | 352 | 160 | 232 | 16 | Pic. 5 |
| Sealed Regular | (0.5) | (15.20) | (13.86) | (6.30) | (9.13) | (0.63) | |||
| PANELS CUT LIST | A | Qty | B | Qty | C | Qty |
| mm (in.) | Pcs | mm (in.) | Pcs | mm (in.) | Pcs | |
| MPS 250 S2 Sealed Shallow | 615 x 352 (24.21 x 13.86) | 2 | 615 x 78 (24.21 x 3.07) | 2 | 320 x 78 (12.60 x 3.07 | 2 |
| MPS 250 S2 Sealed Regular | 386 x 352 (15.20 x 13.86) | 2 | 386 x 128 (15.20 x 5.04) | 2 | 320 x 128 (12.60 x 5.04) | 2 |
| MPS 250 S4 Sealed Shallow | 615 x 352 (24.21 x 3.07) | 2 | 615 x 78 (24.21 x 3.07) | 2 | 320 x 78 (12.60 x 3.07 | 2 |
| MPS 250 S4 Sealed Regular | 386 x 352 (15.20 x 13.86) | 2 | 386 x 128 (15.20 x 5.04) | 2 | 320 x 128 (12.60 x 5.04) | 2 |

| FILTER Suggested Subsonic filter cut-off | Suggested Lo-pass filter cut-off | |
| MPS 250 S2/S4 Sealed | 15 Hz / 24dB Oct | 70-80 Hz / 24 db Oct |
| MPS 250 S2/S4 Reflex | 20 Hz / 24dB Oct | 60-70 Hz / 24 db Oct |

REFLEX BOX ASSEMBLY

DAMPING MATERIAL BOX ASSEMBLY AND SHAPE
This manual features the box assemblies and shapes which are easiest to create. However, the bass frequency performance can be noticeably improved with different box shapes, assembly methods and construction materials.


| BOX TECH DATA | Vb | Fb | External dimensions (Pic .1) | Mounting Hole – M | Wood Thickness | PxS-Port inner size | Lp-Port lenght | Damping Material | ||||
| W | H | D | Z | P | S | |||||||
| l (cu. ft.) | Hz | mm (in.) | mm (in.) | mm (in.) | mm (in.) | mm (in.) | mm (in.) | mm (in.) | mm (in.) | mm (in.) | ||
| MPS 250 S2 | 17 | 35 | 817 | 372 | 110 | 232 | 16 | 146 | 78 | 63,7 | 565 | Pic. 6 |
| Reflex Shallow | (0.6) | (32.17) | (14.65) | (4.33) | (9.13) | (0.63) | (5.75) | (3.07) | (2.51) | (22.24) | ||
| MPS 250 S2 | 17 | 35 | 660 | 372 | 130 | 232 | 16 | 146 | 98 | 50.7 | 565 | Pic. 6 |
| Reflex Regular | (0.6) | (25.98) | (14.65) | (5.12) | (9.13) | (0.63) | (5.75) | (3.86) | (2) | (22.24) | ||
| MPS 250 S4 | 19 | 35,5 | 882 | 372 | 110 | 232 | 16 | 146 | 78 | 65,7 | 511 | Pic. 6 |
| Reflex Shallow | (0.7) | (34.72) | (14.65) | (4.33) | (9.13) | (0.63) | (5.75) | (3.07) | (2.59) | (20.12) | ||
| MPS 250 S4 | 19 | 35,5 | 713 | 372 | 130 | 232 | 16 | 146 | 98 | 52,3 | 511 | Pic. 6 |
| Reflex Regular | (0.7) | (28.07) | (14.65) | (5.12) | (9.13) | (0.63) | (5.75) | (3.86) | 2.06 | (20.12) | ||
| PANELS CUT LIST | A | Qty | B | Qty | C | Qty | D | Qty | E | Qty |
| mm (in.) | Pcs | mm (in.) | Pcs | mm (in.) | Pcs | mm (in.) | Pcs | mm (in.) | Pcs | |
| MPS 250 S2 Reflex Shallow | 817 x 372 (32.17 x 14.65) | 2 | 817 x 78 (32.17 x 3.07) | 2 | 340 x 78 13.39 x 3.07 | 1 | 276 x 78 10.87 x 3.07 | 1 | 549 x 78 21.61 x 3.07 | 1 |
| MPS 250 S2 Reflex Regular | 660 x 372 (25.98 x 14.65) | 2 | 660 x 98 (25.98 x 3.86) | 2 | 340 x 98 (13.39 x 3.86) | 1 | 289 x 98 11.38 x 3.86 | 1 | 549 x 98 21.68 x 3.86 | 1 |
| MPS 250 S4 Reflex Shallow | 882 x 372 (34.72 x 14.65) | 2 | 882 x 78 (34.72 x 3.07) | 2 | 340 x 78 (13.39 x 3.07) | 1 | 274 x 78 (10.79 x 3.07) | 1 | 495 x 78 (19.49 x 3.07) | 1 |
| MPS 250 S4 Reflex Regular | 713 x 372 (28.07 x 14.65) | 2 | 713 x 98 (28.07 x 3.86) | 2 | 340 x 98 (13.39 x 3.86) | 1 | 288 x 98 (11.34 x 3.86) | 1 | 495 x 98 (19.49 x 3.86) | 1 |
ENCLOSURE DESIGN MPS 300 S2 / S4
SEALED BOX ASSEMBLY
DAMPING MATERIAL BOX ASSEMBLY AND SHAPE
This manual features the box assemblies and shapes which are easiest to create. However, the bass frequency performance can be noticeably improved with different box shapes, assembly methods, and construction materials.
| BOX TECH DATA | Vb | Fc | Qtc | External dimensions (Pic .1) | Mounting Hole – M | Wood Thickness | Damping Material | ||
| W | H | D | |||||||
| l (cu. ft.) | Hz | mm (in.) | mm (in.) | mm (in.) | mm (in.) | mm (in.) | |||
| MPS 300 S2 | 22,7 | 47 | 0,68 | 770 | 406 | 115 | 283 | 16 | Pic. 7 |
| Sealed Shallow | (0.8) | (30.31) | (15.98) | (4,53) | (11.14) | (0.63) | |||
| MPS 300 S2 | 22,7 | 47 | 0,68 | 510 | 406 | 160 | 283 | 16 | Pic. 7 |
| Sealed Regular | (0.8) | (20.08) | (15.98) | (6.30) | (11.14) | (0.63) | |||
| MPS 300 S4 | 22,7 | 45 | 0,81 | 770 | 406 | 115 | 283 | 16 | Pic. 7 |
| Sealed Shallow | (0.8) | (30.31) | (15.98) | (4,53) | (11.14) | (0.63) | |||
| MPS 300 S4 | 22,7 | 45 | 0,81 | 510 | 406 | 160 | 283 | 16 | Pic. 7 |
| Sealed Regular | (0.8) | (20.08) | (15.98) | (6.30) | (11.14) | (0.63) | |||
SEALED BOX PANELS LAYOUT
| PANELS CUT LIST | A | Qty | B | Qty | C | Qty |
| mm (in.) | Pcs | mm (in.) | Pcs | mm (in.) | Pcs | |
| MPS 300 S2 Sealed Shallow | 770 x 406 (30.31 x 15.98) | 2 | 770 x 83 (30.31 x 3.27) | 2 | 374 x 83 (14.72 x 3.27) | 2 |
| MPS 300 S2 Sealed Regular | 510 x 406 (20.08 x 15.98) | 2 | 510 x 128 (20.08 x 5.04) | 2 | 374 x 128 (14.72 x 5.04) | 2 |
| MPS 300 S4 Sealed Shallow | 770 x 406 (30.31 x 15.98) | 2 | 770 x 83(30.31 x 3.27) | 2 | 374 x 83 (14.72 x 3.27) | 2 |
| MPS 300 S4 Sealed Regular | 510 x 406 (20.08 x 15.98) | 2 | 510 x 128 (20.08 x 5.04) | 2 | 374 x 128 (14.72 x 5.04) | 2 |

| FILTER Suggested Subsonic filter cut-off | Suggested Lo-pass filter cut-off | |
| MPS 300 S2/S4 Sealed | 15 Hz / 24dB Oct | 70-80 Hz / 24 db Oct |
| MPS 300 S2/S4 Reflex | 20 Hz / 24dB Oct | 60-70 Hz / 24 db Oct |
REFLEX BOX ASSEMBLY

DAMPING MATERIAL BOX ASSEMBLY AND SHAPE
This manual features the box assemblies and shapes which are easiest to create. However, the bass frequency performance can be noticeably improved with different box shapes, assembly methods and construction materials.


| BOX TECH DATA | Vb | Fb | External dimensions (Pic .1) | Mounting Hole – M | Wood Thickness | PCC-Port inner size | Lp-Port length | Damping Material | ||||
| W | H | D | Z | P | S | |||||||
| l (cu. ft.) | Hz | mm (in.) | mm (in.) | mm (in.) | mm (in.) | mm (in.) | mm (in.) | mm (in.) | mm (in.) | mm (in.) | ||
| MPS 300 S2 | 26.9 | 34 | 817 | 372 | 110 | 283 | 16 | 146 | 98 | 82,9 | 605 | Pic. 8 |
| Reflex Shallow | (0.9) | (32.17) | (14.65) | (4.33) | (11.14) | (0.63) | (5.75) | (3.86) | (3.26) | (23.82) | ||
| MPS 300 S2 | 26.9 | 34 | 660 | 372 | 130 | 283 | 16 | 146 | 133 | 61.1 | 605 | Pic. 8 |
| Reflex Regular | (0.9) | (25.98) | (14.65) | (5.12) | (11.14) | (0.63) | (5.75) | (5.24) | (2.41) | (23.82) | ||
| MPS 300 S4 | 36,8 | 33 | 882 | 372 | 110 | 283 | 16 | 146 | 98 | 81,4 | 460 | Pic. 8 |
| Reflex Shallow | (1.3) | (34.72) | (14.65) | (4.33) | (11.14) | (0.63) | (5.75) | (3.86) | (3.20) | (18.11) | ||
| MPS 300 S4 | 36,8 | 33 | 713 | 372 | 130 | 283 | 16 | 146 | 133 | 60 | 460 | Pic. 8 |
| Reflex Regular | (1.3) | (28.07) | (14.65) | (5.12) | (11.14) | (0.63) | (5.75) | (5.24) | 2.36 | (18.11) | ||
| PANELS CUT LIST | A | Qty | B | Qty | C | Qty | D | Qty | E | Qty |
| mm (in.) | Pcs | mm (in.) | Pcs | mm (in.) | Pcs | mm (in.) | Pcs | mm (in.) | Pcs | |
| MPS 300 S2 Reflex Shallow | 895 x 422 (35.24 x 16.61) | 2 | 895 x 98 (35.24 x 3.86) | 2 | 390 x 98 (15.35 x 3.86) | 1 | 307 x 98 12.09 x 3.86 | 1 | 589 x 98 23.19 x 3.86 | 1 |
| MPS 300 S2 Reflex Regular | 690 x 411 (27.17 x 16.18) | 2 | 690 x 133 (27.17 x 5.24) | 2 | 379 x 133 (14.92 x 5.24) | 1 | 318 x 133 (12.52 x 5.24) | 1 | 589 x 133 23.19 x 5.24 | 1 |
| MPS 300 S4 Reflex Shallow | 1112 x 422 (43.78 x 16.61) | 2 | 1112 x 98 (43.78 x 3.86) | 2 | 390 x 98 (15.35 x 3.86) | 1 | 309 x 98 (12.17 x 3.86) | 1 | 444 x 98 (17.48 x 3.86) | 1 |
| MPS 300 S4 Reflex Regular | 836 x 422 (32.91 x 16.61) | 2 | 836 x 133 (32.91 x 5.24) | 2 | 390 x 133 (13.39 x 5.24) | 1 | 330 x 133 (12.99 x 5.24) | 1 | 444 x 133 (17.48 x 5.24) | 1 |
Electro-Acoustic parametre
All specifications subject to change without notice
| MP 250 D2.3* | MP 250 D4.3* | MP 300 D2.3* | MP 300 D4.3* | MPS 250 S2 | MPS 250 S4 | MPS 300 S2 | MPS 300 S4 | |
| D mm | 213 | 213 | 260 | 260 | 216,6 | 216,6 | 262,6 | 262,6 |
| Xmax mm | ± 17 | ± 17 | ± 17 | ± 17 | 16,8 | 16,8 | 16,8 | 16,8 |
| Re Ω | 0,85 | 1,8 | 1 | 1,9 | 2,2 | 3,3 | 1,9 | 3,4 |
| Fs Hz | 30 | 27 | 23 | 24 | 28 | 29 | 24 | 23 |
| Le mH | 0,65 | 1,6 | 0,63 | 1,6 | 2,67 | 3,65 | 1,48 | 3,75 |
| Vas l | 25 | 31 | 88 | 74 | 24,5 | 21,2 | 64,9 | 62,1 |
| Mms g | 182 | 187 | 221 | 235 | 250 | 234 | 295 | 320 |
| Cms mm/N | 0,14 | 0,18 | 0,22 | 0,19 | 0,13 | 0,11 | 0,16 | 0,15 |
| BL T•m | 7,1 | 10,5 | 7,7 | 12 | 14,7 | 17,3 | 12,3 | 18,7 |
| Qts | 0,54 | 0,5 | 0,48 | 0,42 | 0,41 | 0,48 | 0,51 | 0,42 |
| Qes | 0,6 | 0,53 | 0,53 | 0,45 | 0,45 | 0,52 | 0,55 | 0,45 |
| Qms | 5,92 | 5,8 | 5,9 | 5,9 | 5,3 | 5,6 | 7,5 | 6,3 |
| Spl dB | 83,5 | 83,5 | 86 | 86 | 82,5 | 83,5 | 84,5 | 85 |
*The Thiele and Small parameters are measured with coils in parallel. For series coils specification multiply Re and Le by 4 and BL by 2, all other specifications remain the same.
The Thiele and Small parameters are measured after the speaker has been conditioned by a specific signal and represent the expected long-term parameters after a short period of use.
PART OF ELETTROMEDIA
Strada Regina Km 3,500 – Marignano
62018 Potenza Picena (MC) Italy
T +39 0733 870 870 – F +39 0733 870 880
www.elettromedia.it


















