LEIF
PTL1
HUDSON VALLEY
LIGHTING GROUP
Hudson Valley Lighting I Troy Lighting I Mitzi I Corbett Lighting
Instruction Manual
PTL8132-PBR-SSD Leif 1-Light Patina Brass Soft Sand Plug-in Sconce
WARNING/CAUTION
- DISCONNECT POWER BEFORE RE-LAMPING OR WIRING THE FIXTURE. READ ALL INSTRUCTIONS COMPLETELY BEFORE STARTING INSTALLATION.
- TO AVOID THE RISK OF FIRE OR SHOCK, FIXTURE MUST BE INSTALLED IN COMPLIANCE WITH ALL APPLICABLE NATIONAL AND LOCAL ELECTRICAL/BUILDING CODES. THE INSTALLATION AND MAINTENANCE OF THIS UNIT SHOULD BE COMPLETED BY A LICENSED ELECTRICIAN OR CERTIFIED FACTORY TRAINED TECHNICIAN.
- CALIFORNIA PROP 65: THIS LIGHTING FIXTURE CONTAINS CHEMICALS KNOWN TO THE STATE OF CALIFORNIA TO CAUSE CANCER, BIRTH DEFECTS, AND/OR OTHER REPRODUCTIVE HARM.
WASH HANDS AFTER USE. - UNPACK FIXTURE, PARTS AND PARTS BAG(S) BEFORE DISCARDING THE CARTON. MAKE CERTAIN THAT ALL PARTS ARE FOUND. INSPECT THE FIXTURE PRIOR TO INSTALLATION FOR ANY DAMAGE. HVLG DOES NOT PAY OR REIMBURSE ELECTRICIAN FEES. FIXTURE MAY NOT BE RETURNED ONCE IT HAS BEEN INSTALLED. SEE WARRANTY FOR EXCEPTIONS.
- PLEASE CLEAN WITH A SOFT, DRY CLOTH ONLY! DO NOT USE CLEANSERS.
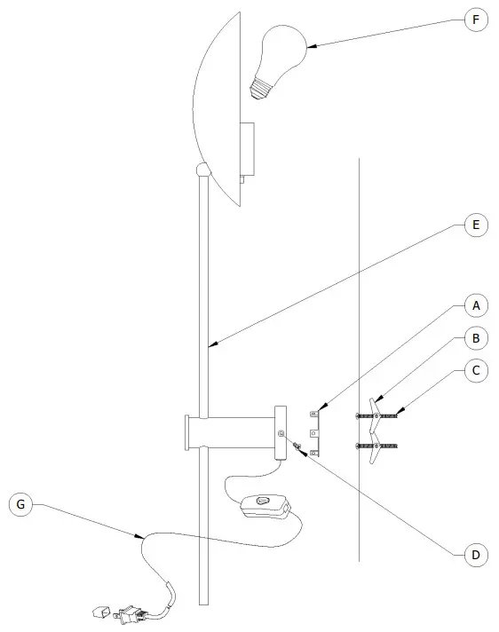
FIXTURE INSTALLATION
- Using the MOUNTING PLATE (A) mark holes on the wall for the WING FASTENERS (B), drill holes and push the WING FASTENERS (B) into the wall, with the WOOD SCREWS (C) attached . Place the MOUNTING PLATE (A) over the WOOD SCREW (C) and tighten on the wall.
- Hang the FIXTURE ASSEMBLY (E) onto the MOUNTING PLATE (A), and secure with the SET SCREWS (D).
- Screw the BULB (F) up into the SOCKET of the fixture. THIS FIXTURE IS RATED FOR 60 WATT TYPE Al9 LAMP. DO NOT EXCEED THE RECOMMENDED WATTAGE!
- Plug the CORD (G) into the wall outlet. Turn the switch on the socket.

| PART(S) | REPLACEMENT PART NAME | NUMBER |
| A,B,C,D | HARDWARE KIT | HDW-PTL1 |















