G21 Grill California BBQ

ASSEMBLY AND OPERATION INSTRUCTIONS
Model: California BBQ
USE ONLY THE HOSE AND HOSE CONNECTOR PROVIDED! IF A REPLACEMENT IS NECESSARY, PLEASE CONTACT EITHER OUR CUSTOMER SERVICE DEPARTMENT OR YOUR LOCAL DEALER. THE USE OF UNAUTHORISED PARTS CAN BE DANGEROUS.
0359/15

FOR OUTDOOR USE ONLY PLEASE READ INSTRUCTIONS CAREFULLY BEFORE ASSEMBLY RETAIN THIS MANUAL FOR FUTURE REFERENCE
WARNING
Hazardous fire or explosion may result if instructions are not followed.
It is the consumer’s responsibility to see that the barbecue is properly assembled, installed, and taken care of. Failure to follow instructions in this manual could result in bodily injury and/or property damage.
FOR YOUR SAFETY IF YOU SMELL GAS:
- Turn off gas supply at bottle.
- Extinguish all naked flames; do not operate any electrical appliances.
- Ventilate the area.
- Check for leaks as detailed in this manual.
- If odour persists, contact your dealer or gas supplier immediately.
SAFETY PRECAUTIONS:
- Perform impermeability check after each tank refill.
- Never perform impermeability check with a match or open flame.
- Do not store gasoline or other flammable vapours and liquids in the vicinity of this or any other appliance.
- Any LP cylinder not connected for use shall not be stored in the vicinity of this or any other appliance.
Assembly:
WARNING: Whilst every effort has made in manufacture of your barbecue to remove any sharp edge, you should handle all components with care to avoid accidental injury.
Tools required: Either a crosshead screwdriver or flat-bladed screwdriver and either a spanner (we have supplied a multifunction spanner) or a pair pliers.
ASSEMBLY:
Please read all instructions thoroughly before proceeding. Find a large, clean area to assemble your barbecue. Please refer to the parts list and assembly diagram as necessary.
Assembly of the barbecue involves many large components, it is advisable to have two people to assemble the unit.
NOTICE: Rip off all the plastic protection before assembling!
WARNING: Do not move the appliance during use.
Turn off gas supply at the gas cylinder when appliance is not in use.
Do not modify the appliance.
Minimum distance from sides and back of unit to combustible construction is 3 m from side and 3 m from back.
The English version of the manual is an exact translation of the original manufacturer‘s instructions.
Images used in this manual are for illustrational purposes only and may differ from the actual product.
Technical Information
![]()
| BRAND | G21 | ||
| APPLIANCE CODE: | California BBQ | ||
| THERMAL POWER | 13.65 kW (993 g/h) The grill burner is dimensioned to 3.5 kW and the side grill burner is dimensioned to 3.15 kW. | ||
| GAS CATEGORY: | I3+(28-30/37) | I3B/P(30) | |
| GAS TYPES | Butane | Propane | Butane, Propane or their mixture |
| GAS PRESSURE: | 28 – 30 mbar | 37 mbar | 30 mbar |
| INJECTION JET SIZE: | Grill: 0.90 mm Side: 0.85 mm | 0359/15 | |
| IDENTIFICATION CODE: | 0359CQ00453 | ||
| ONLY FOR OUTDOOR USE. | |||
| WARNING: PARTS OF THE GRILL CAN BE VERY HOT. KEEP OUT OF REACH OF CHILDREN. | |||
| BEFORE USE, PLEASE READ THE INSTRUCTION MANUAL CAREFULLY. | |||
Note:
Diameter dimension of pan used for side burner, must be between 140-240mm Digits on the injector indicates its size, For example, ”0.85”on the injector means injector size is ”0.85mm”
WARNING INFORMATION
IMPORTANT:
- Read the following instructions carefully and be sure your barbecue is properly installed, assembled and cared for.
Not following these instructions may result in serious injury and/or property damage. - If you have any questions concerning assembly or operation, contact your dealer or LPG Gas Company.
- Prior to use please make sure the appliance and cylinder are placed on a flat level ground.
- Never light the GRILL OR REAR BURNERS with the HOOD in the closed position.
- Never light the SIDE BURNER with the lid in the closed position.
- Your barbecue can be used with gas cylinders with maximal weight 15 kg.

NOTE FOR CONSUMER: Retain for future Reference
CONNECTING THE GAS CYLINDER TO THE GRILL
This appliance is only suitable for use with low-pressure butane or propane gas or LPG mixtures, fitted with the appropriate low-pressure regulator via a flexible hose. The hose should be secured to the regulator and the appliance with hose clips. For barbecue which is set to I3B/P(30), I3+(28- 30/37) use a regulator which operates butane gas at 30 mbar and propane gas at 37 mbar. For I3B/P(50), a regulator operates the butane, propane gas mixture at 50mbar. Ensure the regulator was certified by standard EN16129. Never store gas cylinder inside the grill.
Regulator and Hose
Use only regulators and hose approved for LP Gas at the above pressures. The life expectancy of the regulator is estimated as 2 years. It is recommended that regulator is changed within 2 years of the date of manufacture. The use of the wrong regulator or hose is unsafe; always check that you have the correct items before operating the barbecue. The hose used must conform to the relevant standard for the country of use. The length of the hose must be 1.5 metres (maximum). Worn or damaged hose must be replaced. Ensure that the hose is not obstructed, kinked, or in contact with any part of the barbecue other than at its connection.
Storage of Appliance
Storage of an appliance indoors is only permissible if the cylinder is disconnected and removed from the appliance. When the appliance is not to be used for a period of time it should be stored in its original packaging and stored in a dry dust free area.
Gas Cylinder
The gas cylinder should not be dropped or handled roughly! Always keep the cylinder in upright position. during operation. Make sure the cylinder is from any source of flame before you change the cylinder. If the appliance is not in use, the cylinder must be disconnected. Replace the protective cap on the cylinder after disconnecting the cylinder from the appliance. The gas cylinder must be sited outside the body of the appliance.
Cylinders must be stored outdoors in an upright position and out of the reach of children. The cylinder must never be stored where temperatures can reach over 50°C. Do not store the cylinder near flames, pilot lights or other sources of ignition. DO NOT SMOKE.
This barbecue is designed for use outdoors, away from any flammable materials. It is important that there are no overhead obstructions and that there is a minimum distance of 3 m from the side or rear of the appliance. It is important that the ventilation openings of the appliance are not obstructed. The barbecue must be used on a level, stable surface. The appliance should be protected from direct draughts and shall be positioned or protected against direct penetration by any trickling water (e.g. rain).
Parts sealed by the manufacturer or his agent must not be altered by the user. No modifications should be made to any part of this barbecue and repairs and maintenance should only be carried out by a registered service engineer.
Since this barbecue has no restriction in the Emission of unburned gas, this barbecue must be installed and/or used outdoors or in an amply ventilated area.
Appliance connection
Before connection, ensure that there is no debris caught in the head of the gas cylinder, regulator, burner and burner ports. Spiders and insects can nest within and clog the burner/venturi tube at the orifice. A clogged burner can lead to a fire beneath the appliance.
Fit the hose to the appliance using a spanner to tighten it onto the connection thread. If the hose is replaced it must be secured to the appliance and regulator connections with hose clips. Disconnect the regulator from the cylinder (according to the directions supplied with the regulator) when the barbecue is not in use. The Barbecue must be used in a well ventilated area. Do not obstruct the flow of combustion air to the burner when the barbecue is in use.
GRILL CAN ONLY BE USED OUTDOOR.
BEFORE USE CHECK FOR LEAKS.
NEVER CHECK FOR LEAKS WITH A NAKED FLAME, ALWAYS USE A SOAPY WATER SOLUTION.
TO CHECK FOR LEAKS
- Make 2-3 fluid ounces of leak detecting solution by mixing one part washing up liquid with 3 parts water.
- Ensure the control valve is “OFF”.
- Connect the regulator to the cylinder and ON/OFF valve to the burner, ensure the connections are secured then turn ON the gas.
- Brush the soapy solution onto the hose and all joints. If bubbles appear you have a leak, which must be rectified before use.
- Retest after fixing the fault.
- Turn OFF the gas at the cylinder after testing.
- If leakage is detected and cannot be rectified. Do not attempt to cure leakage but contact your gas dealer.
Lighting Instructions
- Open the hood of the barbecue before attempting to light the burners.
- Turn all the control knobs clockwise to “OFF” position.
- Connect the regulator to the gas bottle. Turn the gas supply “ON” at the regulator. Check with the use of soapy water for any gas leakage between the bottle and the regulator.
- Push down the front left control knob and keep pressing whilst turning anti-clockwise to the “HIGH” position (a clicking sound is heard), this will light the left hand burner. Observe if the burner has lit. If not repeat this process.
- If the burner has not lit after retrying wait 5 minutes and repeat step 4.
- Adjust the heat by turning the knob to the High/Low position.
- If the burner does not light. Light the appliance with a match using the lighting hole in the side of the appliance. Consult your gas dealer to rectify the ignition.
- To light the remaining burners in sequence from left to right, repeat step 4 above. The cross lighting channel between the burners will light the burner adjacent to it. Never attempt to light other burners except left hand burner first.
- To turn the barbecue ‘OFF’ turn the cylinder valve or regulator switch to the ‘OFF’ position and then turn the control knob on the appliance clockwise to the ‘OFF’ position.
Lighting Instructions (Side burner)
- Open the lid of the side burner.
- Push down the side burner control knob and keep pressing whilst turning anti-clockwise to the “HIGH” position (a clicking sound is heard), this will light the side burner.
Observe if the burner has lit. If not, repeat this process. - If the burner has not lit after retrying wait 5 minutes and repeat step 2.
- Adjust the heat by turning the knob to the High/Low position.
- If the burner does not light. Light the appliance with a match using a long match or taper.
Consult your gas dealer to rectify the ignition. - To turn the side burner ‘OFF’, turn the control knob clockwise to the ‘OFF’ position. If you wish to turn the complete barbecue ‘OFF’ turn the cylinder valve or regulator switch to the ‘OFF’ position and then turn the control knob on the appliance clockwise to the ‘OFF’ position.
Warning: If the burner fails to ignite, turn the control knob off (clockwise) and also turn the cylinder valve off. Wait five minutes before attempting to relight with ignition sequence.
Before cooking for the first time, operate the barbecue for about 15 minutes with the lid closed and the gas turned on LOW. This will “heat clean” the internal parts and dissipate odour from the painted finish. Clean your barbecue after each USE. DO NOT use abrasive or flammable cleaners, as it will damage the parts of the product and may start a fire. Clean in warm soapy water.
WARNING: Accessible parts may be very hot. Keep young children away from the hot appliance at all times (even while cooling down!). It is recommended to use protective gloves (eg oven gloves) when handling particularly hot components.
CLEANING AND MAINTENANCE
CAUTION: All cleaning and maintenance should be carried out when the barbecue is cold and with the fuel supply turned OFF at the gas cylinder.
CLEANING
“Burning off” the barbecue after every use (for approx 15 minutes) will keep excessive food residue to a minimum.
OUTER SURFACE
Use mild detergent or baking soda and hot water solution. Non-abrasive scouring powder can be used on stubborn stains, then rinse with water.
INTERIOR OF BARBECUE BOTTOM
Remove residue using brush, scraper and/or cleaning pad then wash with a soapy water solution. Rinse with water and allow to dry.
WOODEN SURFACE
Wash with a soft cloth and hot soapy water solution. Rinse with water. Do not use abrasive cleaners, degreasers or a concentrated barbecue cleaner on wooden parts.
COOKING GRID
Use a mild soapy water solution. Non-abrasive scouring powder can be used on stubborn stains then rinse with water.
BURNER CLEANING
- Turn the gas OFF at the control knob and disconnect the cylinder.
- Remove grate.
- Clean the burner with a soft brush or blow clean with compressed air and wipe with a cloth.
- Clean any clogged ports with a pipe cleaner or stiff wire (such as an opened paper clip).
- Inspect burner for any damage (cracks or holes). If damage is found, replace with a new burner. Reinstall the burner, check to ensure that the Gas valve orifices are correctly positioned and secured inside the burner inlet (venturi).

SERVICE
Your gas barbecue should be serviced annually by a competent registered person.
TROUBLESHOOTING
| PROBLEM | POSSIBLE CAUSE | SOLUTION |
| The burner does not ignite using the ignition system |
|
|
| The burner cannot be ignited even with the use of matches |
|
|
| Low flame or flashback (fire in burner tube-a hissing or roaring noise may be heard) |
|
|
CARE AND PROTECTION OF STAINLESS STEEL SURFACES
Your BBQ features Stainless Steel components, using moderate grade Stainless Steels. All Stainless Steel grades require a level of care and protection to retain their appearance. Stainless Steels are not immune to corrosion and neither are they maintenance-free, contrary to popular public perception. Even the highest marine grades of Stainless Steel require frequent cleaning with fresh water to avoid oxidation and other corrosive issues.
After assembly, we recommend that owners apply a thin layer of Olive Oil with a clean rag, to all exposed Stainless Steel areas. This should then be polished in and buffed off with another clean rag to a non-oily finish. This process will aid protection against dirt and other corrosive contaminants, by providing a temporary food-safe shield. The Olive Oil layer also makes later polishing and removal of fingerprints easier. This process should be repeated frequently when cleaning your grill.
You may have bought a protective cover for your BBQ. It is recommended that a BBQ cover should be used at all times when the BBQ is not in use to protect your investment. However it is vital to understand that unless the BBQ is cool, clean and dry when the cover is fitted, use of a cover can in fact be detrimental. A cover placed on a warm, wet or unclean BBQ (or any mix of these factors) can in fact be a very effective corrosion breeder!
For this reason, the BBQ should always be cool, cleaned of any surface contaminants or dirt and be thoroughly dry before a protective cover is fitted. This is especially important before a BBQ is stored for any length of time i.e. if the BBQ doesn’t get frequent use, or when the BBQ is stored away over winter months.
In order to maintain the quality of the finish of your Stainless Steel BBQ, the owner must be vigilant with care and maintenance according to this advice.
Look after your investment carefully and it will serve you well for many years to come.
Parts list

| 1 | Cooking rack | 1 |
| 2 | Grill plate | 2 |
| 2A | Hot plate | 1 |
| 3 | Flame tamer | 3 |
| 4 | Dish | 1 |
| 5 | Left side table assembly | 1 |
| 6 | Grill body assembly | 1 |
| 7 | Side burner rack-rotundity | 1 |
| 8 | Right side table(for side burner) | 1 |
| 9 | Side burner nozzle bracket | 1 |
| 10 | Side burner assembly | 1 |
| 11 | Drip tray | 1 |
| 12 | Trolley bracket-front | 1 |
| 13 | Cylinder hook | 1 |
| 14 | Axis pad | 2 |
| 15 | Grill left bracket | 1 |
| 16 | Trolley side sheet | 2 |
| 17 | Leg-left front assembly | 1 |
| 18 | Leg-left rear assembly | 1 |
| 19 | Wheel cover | 2 |
| 20 | Wheel-7” | 2 |
| 21 | Wheel axle | 1 |
| 22 | Door assembly | 1 |
| 23 | Leg-right front assembly | 1 |
| 24 | Leg-right rear assembly | 1 |
| 25 | Grill right bracket | 1 |
| 26 | Castor-3” | 2 |
| 27 | Door baffle-bottom | 1 |
| 28 | Trolley bottom shelf | 1 |
| 29 | Door handle | 1 |
Hard Wares List
![]() | ||
| A | M4×10 Screw | 4 |
![]() | ||
| B | M6×12 Screw | 36 |
![]() | ||
| C | R Clip | 2 |
![]() | ||
| D | Ø 13 Flat Washer | 2 |
Assembly



Untighten the screws (both side), keep 6mm gad, as shown.
Hang the side table on the pre-fixed screws, then tighten the screws with a screwdriver
Remove the nut from the nozzle assembly, attach the nozzle assembly thought the hole of bracket, and fix by the nut, as shown.




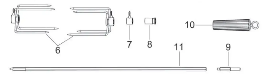
Optional accessories
(not included)

Motor kit


| 1 | Motor | 1 |
| 2 | Motor mounting bracket | 1 |
| 3 | Rotisserie bracket | 1 |
| 4 | M6 screw | 4 |
| 5 | M6X12 screw | 4 |
| 6 | Meat prong | 2 |
| 7 | Lock ring | 1 |
| 8 | Rolling ring | 1 |
| 9 | Rotisserie shaft tail | 1 |
| 10 | Handle | 1 |
| 11 | Rotisserie needle | 1 |
























