BLUE SKY 6 Piece Privacy Screens

TIME WELL SPENT
- Here at Blue Sky Outdoor Living, we believe in the value and benefits of spending time in nature. Our products are designed for your home’s backyard, on the patio, camping, at the beach, or tailgating at your favorite sporting event.
- You can rely on Blue Sky Outdoor Living to deliver durable, easy to use products that will enhance you next backyard, outdoor gathering or adventure.
- Connect with us @blueskyoutdoorliving
Fill in the following information and retain this manual for future reference:

WARNING
Cancer and Reproductive Harm – www.P65Warnings.ca.gov
PARTS LIST
UNPACK PARTS, MAKING SURE ALL PIECES ARE PRESENT BEFORE ATTEMPTING TO ASSEMBLE.

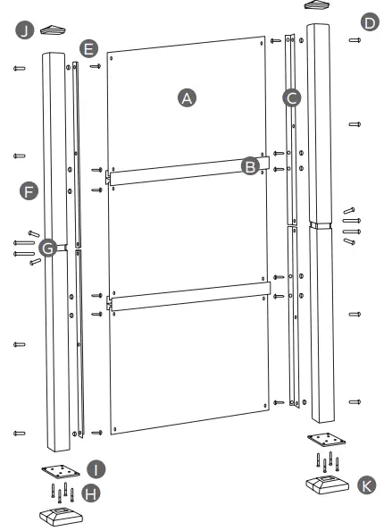
| REF | QTY | DESCRIPTION |
| A | 3 | Privacy Screen Panels |
| B | 2 | H-brackets |
| C | 4 | L-Bracksts |
| D | 12 | Self-tapping screws |
| E | 12 | Nuts & Bolts |
| F | 4 | Post Sections |
| G | 2 | Post Connector |
| H | 8 | Screws |
| I | 2 | Post Base |
| J | 2 | Post Cap |
| K | 2 | Post Skirt |
YOU WILL NEED
NOT INCLUDED IN PACKAGE
- Corded or cordless power drill
- Phillips head driver bit
- Phillips screwdriver
- 10mm wrench
ASSEMBLY
- STEP 1
Lay flat on the ground or on a workbench. (If placing on the ground – place on a blanket or carboard to protect the posts finish) - STEP 2
- Insert the post connector (G) adapter half way into a post section (F) and secure in place with 1 small self tapping screw (D).
- Slide the other side of the post connection (G) into another post section(F) and secure with 1 small self taping screw.
- Repeat this step again for the remaining post sections (F) and connector (G).

- STEP 3
Attached the post base (I) to the bottom of the assembled post using the 4 bolts provided (H).
Note: Holes are provided in the post bases so you can attach the base to the ground or other surface, if desired. Screws not included. Purchase screws appropriat e to the surface material. - STEP 4 – Attach the L-Bracket
When installing the L-bracket, you will need to determine your desired position as there are a few options. Note: you will need to leave room at the top of the post to allow the post cap to go on.- The L-bracked can be mounted high on the post to give more clearance underneath the screen (i.e. for snow clearing)
- The L-bracket can be centered in the middle of the post toward the front edge Once you determine your desired position, clamp L-bracket (C) in place. Next, attach the L-brackets (C) using the self tapping screws (D) included. For the second post, make sure the L-bracket (C) in the same height position so that the holes line-up for the privacy screen.

- STEP 5
- Next, begin from the bottom and work your way up. Attached the bottom privacy screen panel (A) to the L-bracket (C) using the nuts & bolts provided (E). Next, slide the H-bracket (B) on top of the privacy screen.
- Then, slide the second privacy screen panel (A) into the H-bracket (B) and attach the second privacy screen (A) to the L-bracket (C). Then, slide the third prvacy screen panel (A) into the H-bracket (B) and attache to the L-bracket (C). Once you have completed attaching all three panels (A) to the L-bracket (C) and post (F), you willl then attach each panel to the other remaining post (F).

- STEP 6
Insert the post cap (J) into the top of each post (F). For the post skirt (K), place the two ends around the bottom of each post (F).

ABOUT COMPANY
- Romeoville, IL 60446
- [email protected]
- 1-800-459-4409
- www.blueskyoutdoorliving.com























