TRIFECTE FCD-713A Food Waste Dispenser
FOOD WASTE DISPoSER INSTALLATION
Read through the entire Installation, Care & Use manual before installing the disposer. Determine which of the tools, materials, and accessories you will need before you begin. Make sure you have all necessary disposer parts before installing the disposer.
NOTE
The Evolution models grind much finer than any other disposer. For this reason, you may notice that it takes sal little longer to grind some food waste.
NOTE
Make sure that the installation of this appliance is allowed by the authorities.
TOOLS & MATERIALS YOU WILL NEED
Slotted Screwdriver, Adjustable Pliers, Electrical Tape TOOLS, MATERIALS, AND ACCESSORIES YOU MAY NEED Phillips Screwdriver, Drain Auger, 9.5 mm Electrical Clamp, Wire Nuts (2), Safety Glasses, Hammer, Hacksaw, Water Hose Clamp, Pipe Wrench, Copper Earth Wire, Dishwasher Drain Connection Kit
PARTS LIST
MOUNTING ASSEMBLY
- Multifunctional sink plug
- Sink Flange
- Rubber Gaskets
- Fiber Gasket
- Backup Ring
- Splash guard seal ring
- Lower Mounting Ring
- Models
- Drainpipe Gland
- Rubber Gasket
- Drainpipe
- Screw(2)
- Mounting Ring
- Screws (3)
- Splash guard
DANGER Danger indicates an imminently hazardous situation that, if not avoided, will result in death or serious injury.
WARNING Warning indicates a potentially hazardous situation that, if not avoided, could result in death or serious injury.
CAUTION Caution indicated a potentially hazardous situation, which, if not avoided, may result in minor or moderate injury.
CHECK INSTALLATION DIMENSIONS
- Disposer Height
- Distance from bottom of sink bowl to the centerline of discharge outlet. (Add 12 mm when stainless steel sink is used.)
- Distance from the centerline of the discharge outlet to the end of the discharge tube.
- Disposer Width
- Distance from disposer vertical centerline to centerline of trap connection.
To properly drain and prevent standing water in the disposer, the waste pipe entering the wall must be lower than the disposer discharge outlet.
DISCONNECT SINK DRAIN

CAUTION PERSONAL INJURY
Wearing safety glasses is recommended during the installation of the food waste disposer.
- Loosen nut (1) at top of trap (4) with a pipe wrench
- Loosen nut (2) at top of extension pipe. Remove extension pipe.
- Loosen nut (3) at the base of the sink flange.
- Push sink flange up through sink hole and remove it
- Clean sink flange area of any putty or other debris.
DISASSEMBLE NEW DISPOSER
MOUNTING ASSEMBLY
- Use a screwdriver to pry the mounting ring off of the sink flange.
- mounting assembly over and loosen three mounting screws (1) Mounting assembly will now come apart.
ATTACH UPPER MOUNTING ASSEMBLY TO SINK
Reference Figure in Instruction 1 for part identification of items
- Place rubber gaskets (3) under sink flange (2). Ensure the sink hole area is clear of debris and place the sink flange/gasket into a sink hole. You may wish to place a weighted object in the sink to hold the sink flange in place. (Place a towel under the object to prevent scratching.)
- Working under the sink, slip fiber gasket(4) and metal backup ring (5) (flat side up) over the sink flange.
- Holding second rubber gasket, fiber gasket, and metal backup ring in place, slip mounting ring (6) over sink flange so it seats against the backup ring.
- With the rubber gasket, fiber gasket ring tight against sink bottom, install the snap ring on the groove of the sink flange backup ring and mounting
CLEAN SINK WASTE PIPE
Failure to clean sink waste pipelines may result in waste pipe blockage.
- Remove trap.
- With a drain auger, clear away all hardened waste material in the horizontal drain line running from the drain trap to the main pipe. IF YOU ARE NOT CONNECTING A DISHWASHER TO A DISPOSER, SKIP AHEAD TO THE INSTRUCTION
DISHWASHER ATTACHMENT AND OVERFLOW CONNECTION
Wastewater from a dishwasher can be plumbed into the disposer through the inlet access on the upper part of the disposer. There is a plug on the inside of the inlet tube on all models. Once removed, the knockout plug cannot be replaced.
NOTE: If the dishwasher connection is made without removing the plug, the dishwasher may overflow. (Connections must comply with local plumbing codes.) REMOVE KNOCKOUT PLUG
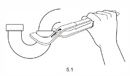
- Lay the disposer on its side and insert a screwdriver into the dishwasher inlet so the tip rests on the outer edge of the knockout plug.
- Tap the end of the screwdriver handle with the hammer until molded plug breaks loose (see Figure 6.1).
- Remove loose knockout plug from the inside disposer. If you have a sink overflow, it should be connected to the overflow inlet on the tailpipe (see Figure 6.2).
CONNECTDISPOSERT OM MOUNTING ASSEMBLY
CAUTION
PERSONAL INJURY
To avoid personal injury, do not position your head or body under the disposer; the unit could fall during installation. Clear any objects from inside the disposer grind chamber before mounting the disposer to the sink.
- Position disposer with three mounting tabs (1) aligned in position to slide over mounting tracks (2).

- Lift disposer, insert top end (mounting gasket) into mounting assembly, and turn the lower mounting ring to the right (with adjustable pliers) until mounting tabs lock over ridges (3) on mounting ring track

- Make sure all three mounting tabs are locked over ridges. The disposer will now hang by itself.
- Run water into a sink then check for leaks.
ATTACH DISCHARGE TUBE TO WASTE DRAIN PIPE
CAUTION
PROPERTY DAMAGE
Wearing safety glasses is recommended during the installation of the food waste disposer. Do not use the plumber’s putty on any other disposer connection other than on the sink flange. Do not use thread sealants or pipe dope. These may harm the disposer and cause property damage. Regularly inspect disposer and plumbing fittings for water leaks, as water leaks can cause property damage. Manufacturers cannot be held responsible for property damage as a result of water leaks.
DISCHARGE TUBE INSTALLATION
- Place metal flange (2) over-discharge tube (4). Insert rubber gasket (1) with gasket lip facing the metal flange into the discharge tube. (See Figure 8.1)
- Secure metal flange and discharge tube to disposer with two 13 mm bolts (3).
- Put the rubber plug (5) on the housing through the drain pipe. (Only FCD-714A has a rubber plug(5)) ALL DISPOSERS CONTINUE WITH STEPS 3-6
- Rotate disposer so that discharge tube is aligned with drain trap. (To prevent leaks, do not pull or bend the discharge tube to the drain trap.) If the discharge tube is too short, you can purchase an extension from the hardware store. (Disposer must remain in a vertical position to prevent vibration.)
- Place nut, then ferrule on discharge tube (not supplied) and tighten on drain trap. (if you have a double sink, use separate drain traps for both sides of the sink.)
- Ensure the lower mounting ring is still securely locked over ridges on the mounting flange.
- Place stopper in a sink in close position. Fill the sink with water, remove the stopper and check for leaks.
CONNECT DISPOSER TO ELECTRICAL SUPPLY
DANGER
ELECTRICAL SHOCK
To avoid electrical shock, disconnect power before installing or servicing the disposer. If you are not thoroughly familiar with electric power, contact a qualified electrician to connect the disposer to an electrical circuit. If a three-prong, earth (grounded) plug is used, the plug must be inserted into a three-hole, earth (grounded) receptacle. Do not modify the plug provided with the unit (if applicable). Improper connection of equipment earth (grounded) conductor can result in electric shock. All wiring must comply with local electrical codes. Do not attach earth wire (ground wire) to the gas supply pipe. Do not reconnect the electrical current at the main service panel until proper earth (grounded) outlets are installed. If the supply cord is damaged, it must be replaced by the manufacturer, its service agent, or similarly qualified persons in order to avoid a hazard.
NOTE
You must have access to the earth (grounded) wall socket. Any additional socket should be fitted by a qualified electrician and properly earthed (grounded). The disposer is fitted with a molded plug and cable.
WARRANTY TERMS
This warranty is for a period of 6 years against manufacturing defects from the date of original purchase, subject to the following terms and conditions.
- The Warranty card is to be completed and signed by the dealer immediately on purchase.
- The Waste disposer is to be installed by its Authorized Service person and serviced by the Company Regional Service Centre or authorized service Centre only.
- The Customer shall carry the Waste disposer to the nearest Company Regional Service Centre or Authorized Service Centre or purchased Dealer point as his/her own cost and risk.
- The company shall make all endeavors/ attempts to carry out the service/replacement under this warranty at the earliest, but shall not be obliged to do so within any specified time.
- The warranty will continue and remain in force only for the unexpired period of the original warranty, in regards to the Repair/Replacement of parts of the Waste Disposer.
- TOO Wmte Disposer site is used strictly for domestic purpose in accordance v.ith the users manual.
- TOO Company shall not be held 1, able for an)’ accide.11. loss or damage(direct or indirect)
To a person, or property caused by reason of Installation/Repair/Service attended by an unauthorized service person. Overloading/Misuse/abuse and negligence on the part of the person using the Waste Disposer. Defects caused by improper/reckless fittings and usage. Use of chemicals, spurious spares, or old, non-genuine spares. Failure to a company with any safety precaution or maintenance tip suggested by the company Original serial number is deleted/defected or altered. In case the warranty is void due to any of the reasons listed above, the customer shall be liable to pay the cost of all the spares and service charges. - The warranty does not cover damages due to negligence mishandling, breakage of glass/Abs body dents of body, and breakage/fuse of lighting parts.
- The company shall not be responsible for any special consequential damages or loss arising directly or indirectly from any delay in the performance of this warranty.
- The company reserves the right to retain any part or component at the regional service center/branches or authorized service center or at its workshop and shall effect repairs/ replacement of parts or components at its sole discretion.
- This warranty shall not, in any case, extend towards payment or any monetary consideration whatsoever and shall be limited to the product replacement only.
- Electrical appliances are prone to voltage fluctuation risks, therefore precautions should be taken before every use. The company shall not be responsible for any damage to electrical parts viz. coil, motor, etc. arising out of this problem.
- The decision of the company is final in all cases of complaints.
- The company will not be responsible for delay in service of the appliance or complaint resolution if it is due to reasons beyond its control.
- These products are not for use by children. The company is not liable for any damages or physical injury arising out of improper use, modification, or alteration of the product or due to unauthorized spares use and poor maintenance of this product
- The Labour charges shall be payable by the customer after 12 months from the date of purchase.
- What we will charge or not cover during the warranty period: Re-installation or service trips to your home to teach how to use the product. Incidental or consequential damage caused by possible defects with this appliance. Failure of the product is abused, misused, or used for other than the intended purpose or used commercially. Replacement of house fuses or resetting of circuit breakers. Product not accessible to provide required service.
WARRANTY CARD
- NAME OF DEALER
- BILL NO: & DATE PRODUCT & MODEL NAME
- CUSTOMER’S NAME
- ADDRESS & TELNOS
- DEALERS ADDRESS & STAMP
- INSTALLED BY NAME
- INSTALLED DATE & REG.NO
AIR SWITCH INSTALLATION
- Drill a 28 mm wide hole into the kitchen worktop, or the corner of the sink unit, at the most convenient point for use. Some sink units may already have a suitable hole in them which can be exposed by removing the cap.
- Remove the nut from the push button bellows, while keeping the stainless steel washer and rubber gasket in place. Push one end of the PVC tubing onto the spout of the push button bellows, and feed the other end of the tube through the hole in the worktop and through the nut underneath the worktop. (See Figure 9.2)
- Fit the push button bellows in the hole and then screw up the nut underneath the worktop until it is hand tight not use a wrench to tighten the nut. (See Figure 9.3)
- Take the other end of the air tube and firmly push it over the spout of the air switch, which is located on the underside of the waste disposer.
TROUBLESHOOTING TIPS 
Disposer leaks
If the leak is at the top, it may be caused by:
- Improper seating of sink flange (gasket choice, putty, or tightening)
- The support ring was not tightened properly.
- Defective cushion mount.
If the leak i5 at the discharge elbow, the leak may be caused by improper tightening of elbow flange screws.
TRIFECTE FCD-713A Food Waste Dispenser





























