Actxa Spur Heart Rate Activity Tracker AX-H100 User Manual
![]()
01 Introducing The Actxa Spur
The Actxa Spur is an all-day activity tracker with continuous heart rate monitoring and heart rate zone indication markers.
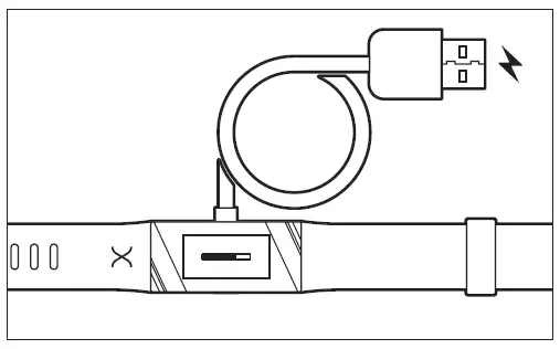
02. Turning On
All new Actxa Spur activity trackers are pre-packaged on hibernation mode for battery conservation purposes. On your first use, place the Actxa Spur on the magnetic charging cable, before switching on the power either from an adapter or standard USB port.
Please allow a minimum of two-hours charge up before attempting to pair the Acbca Spur to your smartphone.

03. Optimum Fit
For the best heart rate tracking results, position the Actxa Spur approximately one finger-width away from your wrist bone, and ensure the buckle is secured for a tight, but breathable flt.

04. Set Up With The Acxta App
Download the Actxa App to set up your personal account and to activate the Actxa Spur activity tracker. The Actxa App can be installed from the App Store or Google Play.

05. Syncing On The Actxa App
Launch the Actxa App and follow the onscreen instructions to activate your Actxa Spur activity tracker and pair the device with your smartphone. Once successfully paired, you will be able to sync all daily activity statistics from the tracker to the Actxa App.

Daily Use
A gentle tap on the screen will activate the display. Continue tapping to toggle between the various screens to view different activity information. Alternatively, simply raise your wrist to activate the display automatically.
To turn on heart rate monitoring, tap to the heart rate screen, long press on the screen to start. When heart rate monitoring is turned on, the display will indicate your current heart rate reading and zone.

Understanding Your Heart Rate Readings
| Relax › | Below 50% of your maximum heart rate |
| Warm Up › | Between 50% to 59.9% of your maximum heart rate |
| Fat Burn › | Between 60% to 69.9% of your maximum heart rate |
| Cardio › | Between 70% to 79.9% of your maximum heart rate |
| Intense › | Between 80% to 89.9% of your maximum heart rate |
| Max › | Greater than 90% of your maximum heart rate |
To find out your maximum heart rate, the number can be estimated using the common formula of deducting your current age from 220. For example, a 30 year-old will have an estimated maximum heart rate of 190 (220 – 30). For more information on HR zones, go to www.actxa.com/spur.
Charging
The battery indicator is displayed on the home screen. Charge the Actxa Spur whenever there’s only 1 remaining bar of power. To charge, place the Actxa Spur on the magnetic charging cable, before switching on the power either from an adapter or standard USB port for at least two hours.
Important Note: Heart rate monitoring will automatically be turned off once the battery indicator falls below 2 bars.

License & Copyright
©2017 Actxa Pie Ltd. All rights reserved. Actxa, the Actxa logo, and the Actxa Spur logo are trademarks or registered trademarks of Actxa Pte Ltd, in Singapore and/or other countries. The Bluetooth® word mark and logos are registered trademarks owned by Bluetooth SIG Inc. Apple and the Apple logo are trademarks of Apple Inc., registered in the U.S. and other countries. App Store is a service mark of Apple Inc., Android, Google Play and the Google Play logos are trademarks of Google Inc., and any use of such marks by Actxa Pie Ltd is under license. All other trademarks and trade names are those of their respective owners. All specifications are subject to change without prior notice. Use of this product is subject to a limited hardware warranty. Actual contents may differ slightly from those pictured.
Limited Product Warranty
The Actxa Spur (The ‘Product’) is guaranteed against manufacturer’s defects for a period of 1 year from the date of purchase. This warranty only covers defects in material and workmanship.
Actxa will inspect the product to ascertain the nature of defect(s). Actxa will repair the product at no charge, using new or refurbished replacement parts, or replace the product with a new or refurbished product. Where a replacement product is supplied, this shall be guaranteed for the balance of the original warranty period. Any models that are no longer available shall be replaced by a model of a value and with such features as Actxa considers appropriate in the given circumstance.
The warranty does not cover normal wear and tear, excessive abuse, or misuse and damage arising from failure to follow instructions relating to the Product’s use.
This Limited Warranty does not cover the services provided by Actxa Pie Ltd or any 3rd party service provider rendered to owners of the Product. All warranty claims must be accompanied by a valid sales receipt and this warranty booklet.
Ready to Begin
Congratulations! You are now ready to begin using your Actxa Spur. For support enquiries, check out www.actxa.com/support, or contact our customer service team at [email protected].

Complies with IDA Standards DA107472
Returns and Warranty
General Information
We want you to love what you have purchased from us. However, if you need to return an item, we’re here to help.
As with any shopping experience, there are terms and conditions that apply to transactions at the Actxa Store (www.sgstore.actxa.com). Note that by placing an order or making a purchase at the Actxa Store, you agree to the terms set forth below along with Actxa’s Privacy Policy and Terms of Use.
Our Return Policy
Actxa’s Return Policy:
- All Actxa products come with a 1 year warranty from the date of purchase.
- Actxa products purchased through other retailers must be returned in accordance with their respective returns and refunds policy.
- If you have received defective product(s), you may choose to drop our support team a support request via our contact form or visit Actxa’s authorised service centre located at Oui Click, 107 North Bridge Rd, #03-12, Singapore 179105.
- To receive service and support for Actxa’s products under warranty, please produce a valid proof of purchase at Actxa’s authorised service centre. Actxa will inspect the product to ascertain the nature of failure or defects. Actxa will repair or service the product at no charge. In the event that the product is defective, it will be replaced with another unit.
Can I exchange a product?
For any purchases made on Actxa’s Online Store (https://www.lazada.sg/shop/actxa-pte-ltd/), we do not support the exchange of products after purchase.
For purchases made at Actxa’s retailers, please refer to their exchange policy.
About Actxa Spur
The Actxa Spur is an all-day activity tracker with heart rate monitoring and heart rate zone indication markers.
Key features of Actxa Spur include:
Heart Rate (HR) Monitoring
– Supports continuous heart rate monitoring with 6 pre-defined heart rate zones (Relax, Warm-Up, Fat Burn, Cardio, Intense, Max) for targeted training through visual indications on the screen.
– Vibration notification to alert you when your heart rate reaches the “Max” HR Zone or when you drop out of the “Max” HR Zone.
Max HR
– Your Max HR is automatically calculated based on your age or you may wish to alter it.
Resting HR
– Measure your RHR manually or pre-set your desired day(s) and time to automatically measure your RHR through the app.
Activity Statistics
– Each activity session is recorded with HR monitoring and synced to the app. Your workout routines will be tabulated into easy-to-read graphs.
– All activity sessions will include HR reading, steps, calories, active time, distance and session’s start and end time.
– Saves up to 100 activity sessions.
Stay Connected
– Using Bluetooth 4.0 technology, the latest Actxa Spur links up with your mobile phone (under 10 metres away), notifying via light vibrations when you receive a call (with Caller ID shown on the screen), SMS, message or email.
Customisable Display
– Choose your preferred activities to appear on the display screen, customising it as often as you like via the app.
Auto Sleep
– With Auto Sleep, your tracker will automatically detect your sleeping period and track your sleeping quality accordingly.
Before you proceed, ensure that your Spur is charged via the magnetic charging cable for at least 2 hours.
To begin, charge your Spur is charged using the magnetic charging cable for at least 2 hours. Do be careful not to overcharge it!
You are advised to do the following:
Next, do the following:
1. Download the Actxa app through Google Play or App Store.
2. Launch the app and select “Actxa Spur” during the set-up process.
3. Enable your phone’s Bluetooth feature and place your Spur tracker within range.
4. Enter the 4 digits code that is displayed on your Spur
You are now ready to use Spur to keep track of your cardiovascular fitness level!
For the best heart rate tracking results, position Spur approximately one finger-width away from your wrist bone, and ensure the buckle is secured for a tight, but breathable fit.
Spur is sweat, rain and splash proof.
It is only able to withstand accidental splashing and not water-proof.
You are advised to remove your Actxa Spur before you swim, shower or any activities that may require prolonged water exposure.
Display
On the Spur tracker itself, you will be able to see time/date, heart rate reading, steps walked, calories burned, active time, distance travelled, sleep duration, call/text/email notifications and alarms.
Spur trackers display information time/date, heart rate reading, steps walked, calories burned, active time, distance travelled, sleep duration, call/text/email notifications and alarms.
You may consider customising your device display by selecting only statistics that you want to see.
You can customise your Spur to display only the information that you want to see on the LED screen.
Go to Devices > Customise Display to try this feature.
You may choose your preferred activities to appear on the display screen, customising it as often as you like via the app.
You can customise your Spur to display only the information that you want to see on the LED screen.
To customise display:
1. Launch the Actxa app.
2. Go to Devices > Customise DIsplay.
3. Enable/disable each activity that you wish to display
Note: You can only enable/disable Steps, Calories Burned, Active Time or Distance.
By enabling the wrist-activated Raise-Wrist Display feature, you will be able to turn on the screen by lifting your wrist to the usual viewing position. If you have disabled this feature, you will have to tap on the Spur’s display itself to check your activity statistics.
1. Launch the Actxa app.
2. Go to Devices > Customise Display.
3. Enable/disable the “Activate Raise-Wrist Display on Wrist Raise”.
There might be a few reasons why you are unable to view anything on your Spur.
External Factors
Dirt, grime, oil or wet surface may affect the touch sensitivity of the screen.
Please use a damp cloth to wipe the screen and try again.
Low Battery
If your tracker’s battery level is low, touch sensitivity might be affected.
Please charge your tracker for at least 2 hours before trying again.
If you have done the steps above and the issue persists, kindly drop us an email contact Actxa Support at [email protected].
Battery & Charging
Check that your tracker is placed in the correct orientation on top of the magnetic charging cable.
The 2 pins should be in contact.
Alternatively, try using a different USB charging port.
If you have done the steps above and the issue persists, kindly drop us an email at [email protected].
Without enabling the HR monitoring mode, Spur is able to last 3 to 5 days after a full charge.
There might be a few reasons why your battery level runs out faster than usual.
You may have:
Turned on HR monitoring mode for a long period of time
As enabling the HR monitoring mode requires the tracker to constantly detect the pulse with high-intensity green light-emitting diodes (LEDs), the battery tends to drain out faster than usual.
You are advised to enable it at certain periods of time for a better analysis of your HR reading.
Received a large number of call/message/email notifications
Every time a call/message/email notification is received, a light vibration will be triggered.
You can conserve battery by enabling only applications that matter to you most.
Unplugged the tracker before it is fully charged
A full charge should take approximately 2 hours.
If you have unplugged the tracker before it is fully charged, your tracker will tend to drain out faster than usual.
Tapped and activated the screen display too many times
You can conserve battery by disabling the “Activate Display on Wrist Raise” feature to prevent the display from lighting up unintentionally.
Heart Rate
The Actxa Spur has PPG (photoplethysmogram) sensors which uses high-intensity green light-emitting diodes (LEDs) and photodetectors that provides reliable monitoring of the pulse rate in a non-invasive manner.
Spur is designed as a simple and non-intrusive device to help every individual measure and monitor their heart rate readings while doing their everyday workout.
It is not catered for experienced athletes who require accuracy in a beat-by-beat basis, which can only be obtained by electrocardiography (ECG) sensors.
To improve the accuracy of your heart rate readings, you are advised wear the Actxa Spur approximately one finger-width away from your wrist bone, and ensure the buckle is secured for a tight, but breathable fit.
Before you start on your workout,
1. Wear the tracker 1 finger width away from your wrist bone.
2. Secure it with a tight, but breathable fit.
Once you are ready for the workout,
1. Tap to the display with the heart rate reading. It will show you ‘Long Press to Start’
2. Long press on the screen till it shows you ‘Reading…’
3. The display will indicate your current heart rate reading and its zone.
Note: It will take at least 2 minutes before the tracker records your activity.
After you are done with your workout,
1. Tap to the display with the heart rate reading again. It will show you “Long Press to Stop”.
2. Long press on the screen and tap “Stop” to end your workout session.
To track how well you’ve performed in your workout,
1. Enable your bluetooth connection on your smartphone.
2. Launch the Actxa app on your smartphone and pull down the dashboard to sync.
3. On the dashboard, your Activity Statistics will show the latest activity session.
4. Tap on the Activity Statistics tab and analyse how well you’ve performed with your activity report!
An Activity Report will be generated each time after you end the HR monitoring mode on your tracker.
Enable your bluetooth connection, launch your Actxa app and pull down the dashboard to sync.
To view your latest Activity Report:
1. On the dashboard, tap on the Activity Statistics tab. You will be able to view the latest Activity Report.
2. Every Activity Report will include:
– Start and End timestamp
– Any Steps, Calories Burned, Distance Travelled, Active TIme accumulated between this time period
– A line graph that tells you the different heart rate zones that you’ve hit during your exercise.
– Breakdown of how long you’ve been in each target heart rate zone.
– A short description of what each heart rate zone means.
To view your past Activity Reports:
1. On the dashboard, tap on the Activity Statistics tab.
2. You will be directed to the Activity Summary page.
3. On the Activity Summary, it will show you all the Activity Reports that you have recorded for that day.
4. Tap on any Activity Report that you wish to see.
The different heart rate zones tells you that your body is working at the zones which has different benefits specific to it unless your workout consists of using more than 1 heart rate zone.
Max HR zone (90 – 100%): Training in this zone requires you to be working out in a very high intensity. It is not sustainable for long periods of time and unsuitable for first-timers. After a workout in this zone, you should get a good recovery before the next workout session to avoid fatigue and injuries. Train in this zone to improve your performance and maximal speed.
Intense zone (80 – 89.9%): Training in this zone is a good and fast way of getting fit. If you wish to improve strength and speed endurance, you should aim to achieve this zone.
Cardio zone (70 – 79.9%): You should be able to sustain in this zone for a longer duration. You may be breathless at times but it gives you the most health benefits especially for those who are just starting to exercise.
Fat Burn zone (60 – 69.9%): You are able to burn the most total body fat by training in this zone but you have to workout for long duration about 30-60 mins or more. It varies between individuals due to type of training, food intake, genetics and etc.
Warm-up zone (50 – 59.9%): This zone is suitable before starting a workout whereby it involves the body to get used to the environment and get ready like an engine revving up. Do incorporate dynamic stretching to avoid getting any injuries during the session itself – it is like stretching a cold band which will break!
Relax zone(< 50%): Being in this zone means that your body is slowly getting into its normal state whereby it is rested after a hard workout. Don’t forget to stretch to reduce muscle soreness, improves the body recovery as well as blood circulation in the body.
Disclaimer: Consult your doctor/physiotherapist/certified coaches for more details regarding your fitness training plans.
According to Health Promotion Board (HPB), every individual is recommended to accumulate 150 minutes of moderate intensity (60 – 69.9%) or 75 minutes of high intensity (80-89.9%) aerobic exercise per week.
Health benefits of regular physical activity include a 20 – 50% reduced risk of premature death, incidence of coronary heart disease, type 2 diabetes, depression, stroke, high blood pressure, colon cancer and breast cancer, to name just a few.
Click here for more information regarding the physical guidelines for adults (19 – 49 y.o) and older adults (50+).
Delete unwanted activity reports by following the steps below:
1. Launch the Actxa app.
2. On the dashboard, tap on the Activity Statistics tab. You will be directed to the Activity Summary page.
3. On the Activity Summary, it will show you all the Activity Reports that you have recorded for that day.
4. On the unwanted record, swipe from right to left.
5. For iOS users, tap “delete”. For Android users, tap “X”.
6. Tap “Delete” again to confirm the removal of the unwanted record.
7. Once the record has been deleted, it will be unable to be restored anymore.
Note: You can only delete Activity Statistics and Sleep records. You are unable to delete Steps, Calories Burned, Active TIme and Distance.
There might be a few reasons why you are Spur is unable to track your heart rate.
Low battery
If your tracker’s battery level falls below 2 bars, you will be unable to get into HR monitoring mode.
Please charge your tracker for at least 2 hours before trying again.
Tracker not worn tightly
If your tracker is prompting you to wear tightly, that means that your tracker is worn too loosely.
This has resulted in the tracker being unable to detect your pulse.
Please secure it with a tight, but breathable fit then try again.
If you have done the steps above and the problem persists, kindly drop us an email at [email protected].
According to the American Heart Association, resting heart rate is the number of times your heart beats per minute while it’s at rest. Best taken after a good night’s sleep, before getting out of bed, the average resting heart rate is 60-80 beats per minute, but it’s usually lower for physically fit people. RHR also rises with age.
Measuring your RHR regularly is important for you to know if your daily workout routine is paying off.
The more exercise you do, the fitter you get, the lower your RHR becomes.
According to the AHA, active people often have lower RHR because their heart muscle is in better condition and doesn’t need to work as hard to maintain a steady beat.
Consult your doctor if your resting heart rate is consistently above 100 beats a minute (tachycardia) or if you’re not a trained athlete and your resting heart rate is below 60 beats a minute (bradycardia) — especially if you have other signs or symptoms, such as fainting, dizziness or shortness of breath.
Upon launching the Actxa app, you will be prompted to measure your RHR if you have not done so for the day. Tap on the green prompt and follow the on-screen instructions.
For best heart rate tracking:
– Position the Actxa Spur+ approximately one finger-width away from your wrist bone, and ensure the buckle is secured for a tight, but breathable fit.
– Measure after a good night’s rest and before getting out of bed.
– Be calm and keep still for 5 minutes.
Note: To ensure that there is only 1 data per day, the previous record will be deleted if you take another RHR reading.
For optimum accuracy, you are advised to measure your RHR at the same day/time.
Use this feature to preset a day and time to take your RHR measurement automatically.
To preset day/time to measure your RHR:
1. Launch the Actxa app.
2. Tap on “Devices”.
3. Swipe the icons from right to left.
4. Tap on “Preset RHR”.
5. Toggle on “Enable Preset RHR”.
6. Select your desired day(s) and time that the tracker will measure your RHR automatically.
After measuring your RHR, you will be directed to the RHR results page.
The value you see represents your RHR of the day.
Take your RHR measurement regularly to see if your daily workout routine is paying off!
To know if your daily exercise routine is paying off, compare it with your Average RHR.
If your current measurement falls below your Average RHR, it shows that your fitness level is improving.
If your current measurement falls above your Average RHR, it shows that your fitness level is declining.
You will also be able to see your lowest RHR record and highest RHR record.
This will show you if you’ve beaten your best and worst record so far!
Note: You need at least 2 or more RHR measurements to view a more thorough analysis.
Activity
On your Spur, you will be able to view your real time activity statistics for the day.
Your Spur will vibrate the moment you achieve your goal.
Subsequently, a star icon will be shown on each of the achieved activity screens.
If you have synced your Spur with the Actxa app, you will be able to see your daily progress on the Dashboard.
For tracking your daily, weekly and monthly progress, view it on the History page.
There might be a few reasons why you are unable to track your heart rate.
Inaccurate Stride Length
The default stride length used to calculate your steps count or distance is 70 cm.
You may alter your stride length on the Profile page via the Actxa app.
Wrist You Wear
You are advised to wear your tracker on your non-dominant hand.
However, if you feel that it is not sensitive enough, wear it on your dominant hand instead.
Excessive Arm Movements
If you perform activities that require more arm movements (such as cooking), more steps will be accumulated unintentionally. Before you perform such activities, you may remove your tracker to prevent any discrepancies.
All activity data will be saved and reset at 12 midnight everyday.
You may check your previous day logs in the History tab via the Actxa app.
Sleep
Spur uses a built-in 3-axis accelerometer to track your sleep through movements.
The greater the amount of movements detected means the more restless your sleep is.
Your sleep duration should be at least 1 hour for the tracker to accurately depict your sleep quality.
To track your sleep automatically:
1. Launch the Actxa app.
2. Go to “Devices”.
3. Tap “Auto-Sleep”. Enable it.
Note: You do not have to tap “Log Sleep” and “I’m Awake” buttons.
To track your sleep manually:
1. Launch the Actxa app.
2. Go to “Devices”.
3. Tap “Log Sleep”
4. Wear the tracker to sleep.
5. Tap “I’m Awake” when you wake up the next morning.
6. You will be able to analyse your “Sleep Quality” for your previous sleep.
Note: Your steps, calories burned, active time and distance travelled during this period of time will not be recorded.
Your Sleep Quality analysis report will be tabulated into easy-to-read graphs after you end your sleep.
An average adult is recommended to sleep for 7 to 9 hours.
You should be able to view the following statistics:
– Sleep Time and Awake Time
– Total Sleep Duration
– Time Taken To Sleep
– Sleep Efficiency
– Duration in the 3 different sleep states (Deep / Light / Restless)
Analyse your sleep quality to know how well you’ve slept or if you had sufficient rest.
Track your sleep regularly for a more consistent analysis.
Yes, Spur is able to track your sleep automatically by detecting your movements with the built-in 3-axis accelerometer.
By analysing the duration and intensity of your movements, the tracker will be able to differentiate when you are sleeping and when you are awake.
If you keep still for long periods of time, it may be possible that the tracker will assume that you are asleep. You may go to the Sleep Summary page and swipe to delete the unwanted sleep record.
To track your sleep automatically:
1. Launch the Actxa app.
2. Go to “Devices”.
3. Tap “Auto-Sleep”. Enable it.
Note: You do not have to tap “Log Sleep” and “I’m Awake” buttons.
Spur is designed as a simple and non-intrusive device to help every individual track and monitor their daily sleep routine. This will be useful for them to make improvements to their daily life to improve their general well-being.
The collected sleep quality data is not meant to be used for medical or clinical purposes.
If you are facing sleeping difficulties, please consult a medical professional or doctor to find out more.
To improve the accuracy of your sleep tracking, you are advised to secure Spur with a tight, but breathable fit. You also need at least 1 hour of sleep in order to generate sufficient data for analysis.
In cases where the Spur has falsely assumed that you are sleeping, you may go to the Sleep Summary page and swipe to delete the unwanted sleep record.
You may also consider disabling the Auto-Sleep feature and log sleep manually as well.
To track your sleep manually:
1. Launch the Actxa app.
2. Go to “Devices”.
3. Tap “Log Sleep”
4. Wear the tracker to sleep.
5. Tap “I’m Awake” when you wake up the next morning.
6. You will be able to analyse your “Sleep Quality” for your previous sleep.
Your activity and sleep data resets at 12 midnight everyday.
If you sleep from 10pm to 6am, 2 hours will be recorded as the previous day’s sleep while 6 hours will be recorded to today’s sleep.
You may delete unwanted sleep records by following the steps below:
1. Launch the Actxa app.
2. On the dashboard, tap on the Sleep tab. You will be directed to the Sleep Summary page.
3. On the Sleep Summary, it will show you all the sleep logs that you have recorded for that day.
4. On the unwanted record, swipe from right to left.
5. For iOS users, tap “delete”. For Android users, tap “X”.
6. Tap “Delete” again to confirm the removal of the unwanted record.
7. Once the record has been deleted, it will be unable to be restored anymore.
Note: You can only delete Activity Statistics and Sleep records. You are unable to delete Steps, Calories Burned, Active TIme and Distance.
Alarm & Notifications
You can set up to 5 alarms at your preferred time for your Spur to vibrate.
Add a label and it will appear on your Spur at the designated time.
Spur allows you to receive notifications when you receive a call, SMS [Caller ID], Email [Sender] or message from third-party mobile apps such as Whatsapp, Line, WeChat and QQ.
You can customise the apps that you wish to receive notifications by:
1. Launch the Actxa app.
2. Go to Devices > Notifications
3. Enable/disable each app that you wish to display
Please do the following steps:
1. Launch the Actxa app.
2. Go to Devices > Notifications
3. Disable and enable the app that you have issues with
4. For email and third party applications, a new page will appear. Enable the toggle for “Notification Access”.
5. For phone calls and SMS, a prompt will appear. Tap “Allow”.
You should be able to receive notifications now.
Note: For users with an OS lower than Android 6.0, permission for phone calls and text are not required.
Pairing & Syncing
Please try the following troubleshooting steps:
1: Go to your phone’s Settings > Applications > Application Manager.
2: Find “Actxa”.
3: Under “App Permissions”, enable the “Location” toggle.
4: Relaunch the Actxa app and try again.
To resolve this issue, please try the following troubleshooting steps:
Location services
1. Turn on Location by going to Settings > Location and enable it
2. Allow Location Permission by going to the Application Manager under Settings > Actxa App >
Permissions > Location Services and enable it.
Clearing Bluetooth cache
1. Remove the app from running in the background
2. Ensure that your device is not paired under the phone’s Bluetooth settings. Turn off the Bluetooth function.
3. Go to mobile phone’s Settings > Application Manager/Management
4. Tap “Force Stop”, “Clear Data” and “Clear Cache”. Ensure all the values displayed is “0.00”
5. Restart phone
6. Toggle on Bluetooth function and launch Actxa app straightaway.
7. Log in to your Actxa account and continue the syncing/pairing process.
For a detailed guide, please click here: https://actxa.com/sg/troubleshoot-pairing-issues/
**Note: You should not connect the device via your phone’s Bluetooth settings. Instead, pair it using the app.
To do so, you have to unpair from both the Actxa app and your mobile phone’s bluetooth settings.
On the Actxa app
1. Go to Devices.
2. On the top right corner of the screen, tap “. . . “.
3. Tap “Unpair”.
For iOS users
1. Go to Settings > Bluetooth
2. Under “My Devices”, select your device name and tap the information icon on the right.
3. Tap “Forget This Device”.
For Android users
1. Go to Settings > Bluetooth
2. Under “Paired Devices”, tap on the settings icon on the right.
3. Tap “Unpair”.
Each Actxa account is only allowed to be paired with 1 activity tracker.
However, if you own a Sense smart scale too, you can pair that smart scale with the same Actxa account.
The Actxa app requires internet connection (data plan or Wi-Fi connection) to register an Actxa account, create your user profile and save your activity data. The app does not require an internet connection to sync your activity tracker to your smartphone as it uses Bluetooth® technology. However, internet connection is required for the activity data to be sent and saved onto our internet server.
If you are an iOS user, you may sync your data to the Health app.
To sync your data with the Health app
1. Go to Account > Partner Apps.
2. Tap on the “Health” app.
3. Select your preferred data that you wish to sync to the Health app.
4. Once you are done, tap “Allow”.
To edit data sharing settings
1. Launch ‘Health’ app.
2. Tap ‘Sources’.
3. Tap ‘Actxa’.
4. Toggle to enable or disable the health data that you wish or do not wish to share.
Please have a look at this page for a detailed guide: https://actxa.com/sg/set-up-actxa-trackers-healthy-365-app-national-steps-challenge/
All your activity data is saved to your Actxa account.
On your old mobile phone
1. Launch the Actxa app
2. Pull down the dashboard to sync your data.
3. Go to Account > Logout.
On your new mobile phone
1. Install and launch the Actxa app.
2. Log in using the same login details.
3. All your activity data will be restored.
If you have received a prompt “Unable To Locate Device”
1. Launch the Actxa app.
2. Pull down the dashboard to sync.
If you are an Android user and the issue is unresolved
You can try to clear your Bluetooth cache by following the steps below:
1. Remove the app from running in the background
2. Ensure that your device is not paired under the phone’s Bluetooth settings. Turn off the Bluetooth function.
3. Go to mobile phone’s Settings > Application Manager/Management
4. Tap “Force Stop”, “Clear Data” and “Clear Cache”. Ensure all the values displayed is “0.00”
5. Restart phone
6. Toggle on Bluetooth function and launch Actxa app straightaway.
7. Log in to your Actxa account and continue the syncing/pairing process.
If you have tried to unpair your Spur and received a prompt “Unable To Unpair”
This could be due to incomplete firmware update.
Please try to complete your firmware update again through Devices > Update Device.
You will receive a prompt indicating that firmware update to the latest version is successful.
Account & Settings
Launch the Actxa app and go to Account > Settings > Time Zone.
If you enable ‘Set Automatically’, it will follow your mobile device’s time zone.
If you disable it, it will stay at your native’s (i.e. Singapore) time zone.
Pull down the dashboard to sync and ensure that the change is reflected on both the Actxa app and your Spur.
Note: Some data may be lost due to time differences.
Launch the Actxa app and go to Account > Settings > Time Zone.
If you enable ‘Set Automatically’, it will follow your mobile device’s time zone.
If you disable it, it will stay at your native’s (i.e. Singapore) time zone.
Pull down the dashboard to sync and ensure that the change is reflected on both the Actxa app and your Spur+.
Note: Some data may be lost due to time differences.
Launch the Actxa app and go to Account > Settings > Units.
Change your preferred units for both Distance/Height/Length and Weight.
Pull down the dashboard to sync and ensure that the change is reflected on both the Actxa app and your Spur.
Launch your Actxa app and go to Account > Settings > Security > Change Password.
For a more detailed guide, please click here: https://actxa.com/sg/reset-password-instructions/
Others
Please send an email to [email protected]. Our sales representative will get in touch with you.
Please visit our Service Centre with your device and receipt as proof of purchase. The strap will be exchanged free of charge should it be still covered under the 1-year warranty.
If not, you may wish to purchase a new strap from the service centre at $17.90. Please check for availability via the hotline before going down.
Oui Click
Funan Mall
107 North Bridge Rd, #03-12, Funan Mall, Singapore 179105
Operating Hours :
Daily from 11.00am to 9.00pm
Actxa Support Hotline : +65 6988 9989
Operating hours :
11.00am to 9.00pm
Please refer to Actxa’s limited 1 year product warranty here: https://actxa.com/sg/returns-warranty/
.
Download
Actxa Spur Heart Rate Activity Tracker AX-H100 User Manual – [Download PDF]


















