Item Number: 5069667
Installation Guide

WARNING (To reduce the risk of fire, electric shock, or personal injury):
- We suggest installation by a licensed electrician.
- Please read the instruction carefully and save it as you may need it at a later time.
- Before you start, NEVER attempt any work without shutting off the electricity until the work is done.
A) Go to the main fuse, or circuit breaker, box in your home. Place the main power switch in the “OFF” position.
B) Place the wall switch in the “OFF” position. - Mounting surface should be clean, dry, flat, strong enough and 1/4” larger than the canopy on all sides.
Any gaps between the mounting surface and canopy exceeding 3/16” should be corrected as required. - Make sure that the ceiling or wall can stand the weight of the lamp before installation.
- Make sure the voltage you are using is 120V. The maximum wattage is 40W per bulb.
- Keep the lamp away from acidic and alkaline substances in case of damaging the surface of the lamp.
- When replacing bulbs, you should turn off or unplug the lamp and you must wait until it is cool as bulbs get hot quickly.
- The safety instructions appearing in this manual are not meant to cover all possible conditions that may occur. It must be understood that common sense, caution and care must be used with any electrical products.
IMAGE FOR FINISHED PRODUCT:

TOOLS REQUIRED (NOT INCLUDED):
Before starting assembly and installation please prepare the needed tools as below picture

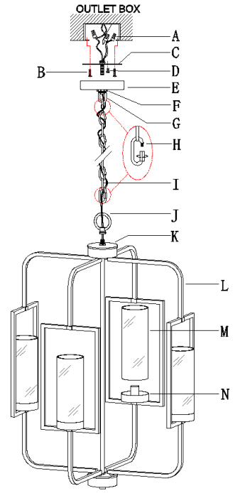
PARTS TYPE & QTY INCLUDING:
(C) Single bar (1)
(D) Green ground screw (1)
(E) Canopy (1)
(F) Collar ring (1)
(G) Collar loop (1)
(H) Quick link (2)
(I) Chain (1)
(J) Loop (1)
(K) Arms hub (2)
(L) Arm (4)
(M) Glass shade (4)
(N) Socket (4)
ACCESSORIES & QTY ENCLOSED:
(A) Wire connector (3)
(B) Mounting screw (2)

ASSEMBLY & INSTALLATION INSTRUCTIONS:
- Carefully remove the fixture from the carton and check that all parts and accessories are included as shown in the above illustration.
- Make preinstallation
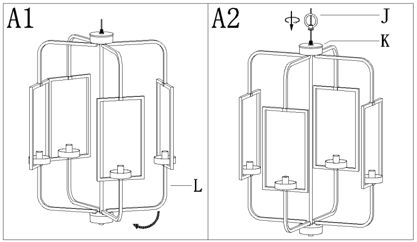
Step A1: Adjust arms (L) to the proper position.
Step A2: Screw loop (J) onto the top of upper arms hub (K).
Step B1: By measuring, determine the correct number of links needed for proper hanging height. Using the chain pliers, disconnect and discard the unwanted part.
Step B2: Attach quick link (H) to chain (I) and loop (J) on the top of upper arms hub (K).
Step B3: Carefully weave the fixture wires through chain (I) in and out of every other link and stop just when you reach the top of chain (I). Gently pull the wires to ensure the wires are not stressed. - Turn off power
Before you start the installation, NEVER attempt any work without shutting off the electricity until the work is done.
A) Go to the main fuse, or circuit breaker, box in your home. Place the main power switch in the “OFF” position.
B) Place the wall switch in the “OFF” position. - Make installation
Step C1: Remove collar ring (F) from collar loop (G). Attach single bar (C) to the outlet box with mounting screws (B).
NOTE: the side of single bar (C) marked “GND” must face out.
Step C2: Raise canopy (E) over collar loop (G) and screw collar ring (F) to measure a proper position.
Unscrew collar ring (F) from collar loop (G) and remove canopy (E). Refer to the following note, you would know the proper position where collar loop (G) should be located.
NOTE: canopy (E) should be snug against the ceiling and collar loop (G) should be screwed enough threads (no less than 6 threads) on the preassembled threaded nipple for more secure hanging. If not, adjust collar loop (G) on single bar assembly (C) by screwing collar loop (G) in or out of single bar (C) until the secure length is achieved.
Step C3: Pass chain (I) through collar ring (F) and then through canopy (E).
Step C4: Open quick link (H), attach quick link (H) to collar loop (G). Close quick link (H).
Pass the fixture wires through collar loop (G) to the top of the preassembled threaded nipple and gently pull to ensure the wires are not stressed.
Step C5: If needed, shorten the length of fixture wires. At this point, the remaining wire length measured above single bar (C) is at least 6″.
Step C6: Make wire connections
Connect wires as below wires connection shown. PLEASE NOTE THAT GROUND WIRE IS BARE COPPER WIRE, NEVER CONNECT OTHER WIRES TO GROUND WIRES.
Connect ground wires according to the below chart
Connect wires according to the below chartConnect Black or Red Supply Wire to: Connect White Supply Wire to: Black White *Parallel cord ( round & smooth) “Parallel cord ( square & ridged ) Clear,Brown,Gold or Black without tracer Clear,Brown,Gold or Black with tracer Insulated wire ( other than green) with copper conductor Insulated wire ( other than green ) with silver conductor
*Note: When parallel wires ( SPT I & SPT II ) are used. The neutral wire is square shaped or ridged and the other wire will be round in shape or smooth ( see illus. )
Twist wires together with plastic wire connectors until tightly joined, and wrap each connector with approved electrical tape. Be sure that no wire strands are exposed and then carefully tuck all wires into the outlet box.
Step C7: Raise canopy (E) to the ceiling and secure canopy (E) in place by tightening collar ring (F) onto collar loop (G).
Step C8: Install bulbs (not included) (Please do not exceed the maximum wattage recommended on the socket.)
Place glass shades (M) on sockets (N). - Check everything is already installed properly, then you could turn on the light. Enjoy!
CLEANING.
To clean, wipe the fixture with a soft cloth. Do not use abrasive materials such as scouring pads or powders, steel wool or abrasive paper.
ORDERING PARTS.
Keep this sheet for future reference in case you need to order replacement parts. All parts for this fixture can be ordered from the place of purchase. Be sure to use exact wording from illustration when ordering parts.
+1 850 296 2377 Working hours : Mon Fri 9:00 a.m. 16:00 p.m. EST
[email protected]
Step A1: Adjust arms (L) to the proper position.
Step B1: By measuring, determine the correct number of links needed for proper hanging height. Using the chain pliers, disconnect and discard the unwanted part.
Step C1: Remove collar ring (F) from collar loop (G). Attach single bar (C) to the outlet box with mounting screws (B).
Connect wires according to the below chart
*Note: When parallel wires ( SPT I & SPT II ) are used. The neutral wire is square shaped or ridged and the other wire will be round in shape or smooth ( see illus. )


















