DAS4630 Cooker Hood
Instruction Manual
DAS4630 Cooker Hood
Before installation
- Before installation, it is important to read the information given on the following pages as well as the “Warning and Safety instructions” at the beginning of this booklet.
Installation recommendations
- To achieve optimum vapour extraction, the rangehood must be positioned centrally over the cooktop, not to the side.
- The cooktop should be no wider than the rangehood and, if possible, it should be narrower, especially for safety distances greater than 750 mm.
- The installation area must be easily accessible. The rangehood should be easily accessible and easy to dismantle in the event that service is required. This should be taken into consideration when planning the position of cupboards, shelves, ceilings or features in the vicinity of the rangehood.
Installation materials

1 exhaust connection
for exhaust ducting 150 mm.
1 non-return flap
for fitting into the exhaust connection on the motor unit (not needed for recirculation mode). 
4 mounting plates
for installation in a 600 mm wide cabinet
2 brackets
for installation in a 900 mm wide cabinet (only for 896 mm wide appliances)
2 spring clips
for installation in a 900 mm wide cabinet (only for 896 mm wide appliances)
1 spacer strip
for concealing the gap between the rear of the appliance and the wall.
2 depth stops
to limit how far the deflector plate can be pushed in.
| 4 screws, M4 x 8 mm | |
| 5 (9)* screws, 4 x 15 mm | |
| 4 screws, 4 x 30 mm | |
| 8 (12)* screws, 4 x 15 mm | |
| 4 screws, M4 x 12 mm* | |
| 4 screws, M4 x 8.5 mm* | |
| 2 screws, 3.9 x 7.5 mm with cover caps |
* for 896 mm wide units
Installation plan
See the installation plan for details on the individual steps involved in the installation of this appliance.
Installation materials for recirculation mode
You need the following optional accessories for recirculation mode.

DKFS 31-x installation kit
contains 2 holders and 2 charcoal filters (DKFS 31-P with single-use charcoal filters or DKFS 31-R with reactivatable charcoal filters)

DUU 15x installation kit
contains a directional unit socket, hose and hose clips (DUU 150 for the top of the cabinet or DUU 151 for the sides or front of the cabinet)
Appliance dimensions
Diagram 1: DAS 4630 in a 600 mm wide cabinet.

The drawing is not to scale
Diagram 2: DAS 4930 in a 900 mm wide cabinet.
The drawing is not to scale
See diagram 1 for side view
Diagram 3: DAS 4930 in a 600 mm wide cabinet or in a 900 mm wide cabinet with side compartments.
The drawing is not to scale
See diagram 1 for side view
Footnotes for diagrams 1 to 3:
a Extraction or recirculation with conversion kit DUU 150
b Can be adjusted via depth stop
* In this installation situation, the deflector plate is flush with the front edge of the cabinet niche. If you wish to position the rangehood further forwards or further back, you must adapt the dimensions accordingly.
AU/NZ: It is recommended to install the rangehood so that the bottom of the rangehood canopy sits flush with the bottom of adjacent furniture units – see detail B.
Safety distance
The minimum distances between the cooking surface of a cooktop (pan support(s) for gas models) and the bottom of the rangehood are as follows, unless a greater distance is specified by the manufacturer of your cooking appliance. See also “Warning and Safety instructions”.
| Cooking appliance | Minimum distance S |
| Electric cooktop | 600 mm (AU, NZ) 450 mm (HK, MY, SG, TH, TW) |
| Electric grill, deep fat fryer (electric) | 650 mm |
| Multi-burner gas cooktop with maximum 45.4 MJ/h total output, with no burner having a greater output than 16.2 MJ/h. | 650 mm |
| Multi-burner gas cooktop with total output greater than 45.4 MJ/h, but with a maximum of 77.8 MJ/h, with no burner having a greater output than 17.3 MJ/h. | 760 mm |
| Multi-burner gas cooktop with total output greater than 77.8 MJ/h, with a single burner having a greater output than 17.3 MJ/h. | Not possible |
| Single burner gas cooktop with a maximum output of 21.6 MJ/h. | 650 mm |
| Single burner gas cooktop with an output greater than 21.6 MJ/h, but with a maximum of 29.2 MJ/h. | 760 mm |
| Single burner gas cooktop with an output greater than 29.2 MJ/h. | Not possible |
Installing the depth stop (optional)

You can limit how far the deflector plate can be pushed in.
For example, if the deflector plate should sit flush with the front edge of the cabinet door when pushed in, rather than with the front edge of the cabinet housing, you can position the depth stop accordingly.
You can move the stop forwards by up to 50 mm.
You must insert the depth stops into the recesses of the deflector plate prior to installing the rangehood. You can fix the depth stops in the required position on completion of installation.
- Insert the depth stops into the recesses of the deflector plate from behind. The alignment is determined by how far forwards you wish to move the stop.
- X = 2 to 18 mm: depth stop lip facing backwards
- X = 19 to 50 mm: depth stop lip facing forwards
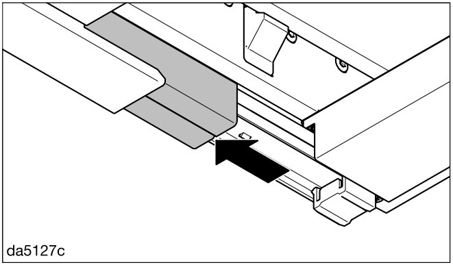
- Install the rangehood.
- Pull out the deflector plate.

- Slide the recess covers forwards.

- Slide the depth stops forwards to the position shown.

- Slide the covers back again.

- Carefully push in the deflector plate as far as the required position.
This will push the depth stops into the required position.
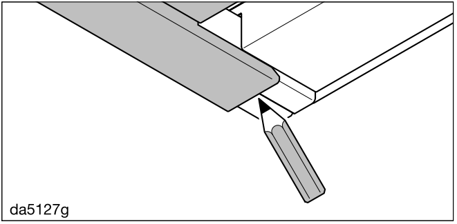
- Use a pencil to mark the back edge of the deflector plate on the cover.
- Pull out the deflector plate.

- To fix the depth stops in place, screw the 3.9 x 7.5 mm screws through the covers. The position of the screws is determined by which way around the depth stops have been inserted.
- Depth stop lip facing backwards: 10 mm in front of the pencil mark
- Depth stop lip facing forwards: 10 mm behind the pencil mark
Connection for air extraction
Before installation, it is important to read the information given on the following pages as well as the “Appliance dimensions” and the “Warning and Safety instructions” at the beginning of this booklet. This is particularly crucial when using the rangehood at the same time as a heating appliance that relies on oxygen from the same room, which could result in the build-up of toxic fumes.
The rangehood should be installed according to local and national building regulations. Seek approval from the building inspector where necessary.
Only use smooth pipes or flexible ducting made from approved nonflammable materials for exhaust ducting.
To achieve the most efficient air extraction with the lowest noise levels, please note the following:
- The diameter of the exhaust ducting must not be smaller than the crosssection of the exhaust connection (see “Appliance dimensions”). This is particularly applicable when using flat ducting.
- The exhaust ducting must be as short and straight as possible.
- Only use wide radius bends.
- The exhaust ducting must not be kinked or compressed.
- All connections must be strong and airtight.
- If the ducting has flaps, these must be opened when the rangehood is switched on.
Any constriction of the airflow will reduce extraction performance and increase operating noise.
Vent flue
If the exhaust air is to be ducted into a vent flue, the ducting must be directed in the flow direction of the flue.
If the flue is used by several ventilation units, the cross-section of the flue must be large enough.
Non-return flap
Make sure you use a non-return flap in the exhaust air system.
A non-return flap ensures that when the rangehood is not in operation, the duct is closed and no exchange of room and outside air can take place.
If the exhaust air is ducted through an outside wall, a Miele wall vent or a Miele roof vent (available as an optional accessory) is recommended. These are fitted with an integrated non-return flap.
If the on-site exhaust air system does not have a non-return flap, one is supplied with the rangehood.
The non-return flap is fitted to the fan’s exhaust connection.
Condensed water
If the exhaust ducting is to run through rooms, ceiling space etc., condensate may form in the ducting due to variations in temperature between the different areas. To minimise temperature variations, the exhaust ducting will need to be suitably insulated.
Where ducting is horizontal, it must be laid to slope away at at least 1 cm per metre. The gradient ensures that condensate cannot drain back into the rangehood.
In addition to insulating the exhaust ducting, we recommend that a suitable condensate trap is also installed to collect and evaporate any condensate which may occur.
Condensate traps are available for 125 mm or 150 mm ducting. When installing a condensate trap, ensure that it is positioned vertically and, if possible, directly above the exhaust socket. The arrow on the housing indicates the direction of airflow.
Miele will not accept warranty claims for any functional defects or damage caused by inadequate ducting.
Silencer

To achieve even further reductions in noise levels, a special silencer (optional accessory) can be fitted in the ducting system.
In extraction mode the silencer not only reduces noise from the fan outside the house, but also sounds from outside which reach the kitchen via the vent ducting (e.g. traffic noise). For this reason, the silencer must be positioned as close as possible to the ducting exit 1.
In recirculation mode the silencer needs to be positioned between the exhaust connection and the exhaust grille 2.
Please ensure there is adequate installation space.
Electrical connection
The rangehood is supplied with a mains connection cable with moulded plug ready for connection to a suitable earthed socket.
If the socket is not easily accessible or if the appliance is to be hard-wired, ensure that a suitable means of disconnection is provided on the installation side for each pole.
Risk of fire from overheating.
Connecting the rangehood to multisocket adapters or extension cables can overload the cables.
For safety reasons, do not use an extension cable or multi-socket adapter.
All electrical work must be carried out by a suitably qualified and competent person in strict accordance with national and local safety regulations.
For safety reasons, we recommend using a suitable residual current device (RCD) in the relevant electrical installation for connecting the rangehood.
If the mains connection cable is damaged, it must only be replaced with a specific mains connection cable of the same type (available from Miele).
For safety reasons, such replacement may only be carried out by a suitably qualified and competent electrician or a Miele authorised service technician, in order to avoid a hazard.
The data plate indicates the nominal power consumption and the connection data. Compare this information with the data of the on-site electrical connection.
If in any doubt, consult a qualified electrician.
Temporary or permanent operation with a self-sufficient or non-mains synchronous energy supply system (e.g. isolated networks, back-up systems) is possible. A requirement for the operation is that the energy supply system complies with all current local and national requirements that apply to stand-alone, solar and/or battery systems. The protective measures provided in the domestic installation and in this Miele product must also be assured in their function and operation in isolated operation or in non-mains synchronous operation, or replaced with equivalent measures in the installation.

















