ALDI GAS20 Ferrex Ash and Dirt Vacuum Cleaner

General information
Reading and storing the user manual
- This user manual is part of the ash and dirt vacuum cleaner (hereinafter also called “device”). It contains important information on how to set up and use the device.
- Before using the device, read the operating manual carefully, in particular the safety instructions. Failure to follow this operating manual may lead to severe injuries or product damage.
- This user manual is based on the standards and regulations that are valid within the European Union. Outside the EU, please also note the country-specific directives and laws.
- Keep this operating manual for future reference. If you pass this device on to a third party, you must also supply this operating manual.
- This user manual is also available in PDF format from our after sales support.
Proper use
- Only use the device to vacuum dry, sufficiently cooled down ashes (such as cold ashes from chimneys, coal stoves, grills or ashtrays) and dry dirt.
- The blow function can be used to fan a fire outdoors and to clean larger surfaces.
- This device is intended for private use only and is not suitable for commercial use. Use the device only as described in this operating manual.
- Any other use is improper and may lead to product damage or even personal injury. This device is not a toy.
- The manufacturer or retailer assume no liability for damage caused by improper or incorrect use.
Foreseeable misuse
- Do not vacuum up hot, burning, smouldering, explosive or hazardous substances.
Explanation of symbols
The following symbols and signal words are used in this user manual, on the device or on the packaging.
- This symbol provides you with useful additional information on handling and use.
- Declaration of conformity (see chapter “Declaration of conformity”): Products marked with this symbol meet all the applicable Community regulations of the European Economic Area.
- This symbol identifies devices that belong to the protection class II.
- Do not use the device in the rain.
- Vacuum cold ashes only. Ashes exceeding a temperature of 40°C (104°F) poses a fire risk!

- Do not soak up water.
- Do not suck up burning objects.
- Do not vacuum up any glowing objects.
- Do not vacuum objects whose temperature is above 40°C.
Safety
The following signal words are used in this user manual.
- WARNING!
This signal symbol/word denotes a hazard with an average risk level that could lead to death or severe injury if it is not avoided. - CAUTION!
This signal symbol/word denotes a hazard with a low risk level that could lead to mild or moderate injury if it is not avoided. - NOTE!
This signal word provides a warning about potential material damage.
General safety instructions
- Completely assemble the device according to this manual before starting it up.
- Only use spare parts and accessories that are supplied or recommended by the manufacturer. All warranty claims will be void when using third-party parts.
- Only have repairs carried out by the customer service authorised by the manufacturer.
Safety notes
WARNING!
Risk of electric shock!
Faulty electric installation or excess mains voltage can cause an electric shock.
- Only connect the power cable if the mains voltage of the socket matches the information shown on the rating plate.
- Only connect the power cable to an easily accessible socket so that you can quickly disconnect it from the mains power in the event of a malfunction.
- Do not use the device if there is visible damage or if the power cable is defective.
- Do not open the device. Leave repairs to a qualified service technician. Contact the service address indicated on the warranty card. Liability and warranty claims are excluded if you carry out repairs yourself, improperly connect the device to the power supply or operate it incorrectly.
- Do not immerse the device or the power cable in water or other liquids.
- Never touch the power cable with wet/damp hands.
- Never pull the power cable out of the socket by the cord; always grip the plug instead.
- Never use the power cable as a carry handle.
- Do not place any objects on the power cable.
- Keep the device and the power cable away from open flames and hot surfaces.
- Install the power cable so that no-one can trip over it.
- Do not bend the power cable and do not pass it over sharp edges.
- If the power cable of the device is damaged, it must be replaced by the manufacturer, the manufacturer’s customer service or a similarly qualified person in order to prevent hazards.
- Never operate the device in damp rooms or at a relative humidity of over 75%.
- Never store or use the device where it can fall into a tub or sink. Do not use the device if it has fallen into water.
- Never reach for the device if it has fallen into water. Immediately disconnect the device from the power supply.
- Disconnect the device from the mains in the case of a fault (such as unusual noises or smoke).
Safety
- Do not operate the device with an external timer or a separate remote control system.
- Do not use the device during a thunderstorm. Switch it off and pull the power cable out of the socket.
- While the device is not in use or is being cleaned, or if a malfunction occurs, always turn the device off and disconnect it from the power supply.
WARNING!
Danger to children and persons with reduced physical, sensory or mental abilities (e.g. partially disabled, elderly persons with reduced physical and mental abilities) or lack of experience and knowledge (e.g. older children).
- Children aged 8 years and older as well as persons with reduced physical, sensory or mental abilities or a lack of experience and knowledge may only use the device if they are supervised or have been given instruction on using the device in a safe way and understand the hazards involved.
- Do not leave the device unattended when in use.
- Do not allow others to handle the device until you have read and understood this operating manual or until you have been instructed about its intended use and the associated risks.
- Never leave persons with physical, sensory or mental impairments (such as children or drunk people) or persons lacking experience and expertise (such as children) unattended in proximity of the device.
- Cleaning or user maintenance must not be undertaken by children unless supervised.
- Children must not play with the device or the connection cable.
Safety notes for dry vacuums
- Do not vacuum persons or animals with the device.
- Never point the vacuum hose and nozzles at your own body or at other persons during operation, especially not at eyes and ears.
- When working, make sure that the nozzles and the vacuum tube are not at head level.
- Do not work without the filter. The device may be damaged.
- Do not vacuum up substances or dusts that are hot, glowing, combustible, explosive or hazardous to health (dust classes L, M, H). This includes hot ashes, petrol, solvents, acids or caustic solutions. Personal injury could occur.
- Caution! Do not vacuum up hazardous substances (e.g. petrol, solvents, acids or lyes) and ash from unauthorised fuels (e.g. from oil-burning ovens or heating boilers). There is a risk of injury.
- Do not vacuum up fne, combustible dusts. There is a risk of explosion.
- Do not vacuum up hot ashes and hot, glowing or combustible objects (e.g. charcoal, cigarettes…). There is a risk of fire.
- Do not vacuum up liquids, soot or plaster and cement dust. There will damage the equipment.
- The vacuum must not exceed a temperature of 40°C. Vacuum material that appears cool from the outside may still be hot inside. Hot vacuum material can re-ignite in the air stream. Furthermore, the equipment can be damaged.
In the event of a rise in temperature,switch off the equipment and disconnect at the plug. Place the equipment outside and monitor it as it cools.
Before first use
Check the device and scope of delivery
WARNING!
Danger of suffocation!
Children may become tangled up in the packaging film when playing with it and suffocate.
- Do not let children play with the packaging film.
Risk of damage!
If opening the packaging with a sharp knife or other pointed objects, careless handling can damage the device.
Therefore, be very careful when opening.
- With both hands, lift the device out of the packaging.
- Check that the delivery is complete (see chapter “Package contents/device components”).
- Inspect the device and individual parts for damage. Do not operate a damaged device; instead, contact the manufacturer via the service center listed on the warranty card.
Assembly instruction
Mounting the rollers
- Turn the container 2 upside down. There are three arrow marks on the bottom of the container.
- Place one roller 8 each on the bottom of the container so that the outer edge reaches into the notch of the roller.
The arrow marks should point towards the centre of the roller. - Press down each roller until you hear it snap into place
Mounting the motor head
- Place the motor head 1 on the container 2 .
- Hook the two clamps of the snap locks 18 into the side of the motor head.
- Push down both bottom parts of the snap locks. The motor head is mounted.
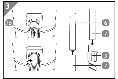
Connecting the vacuum hose/accessories
Connecting the vacuum hose
- Push the vacuum hose 3 with one of its connecting pieces into the vacuum connection 16 .
- Turn the connecting piece clockwise until it engages
The vacuum hose is attached.
Attaching accessories
- Connect the vacuum tube 7 or the vacuum nozzle 6 to the free connecting piece of the vacuum hose 3 , as desired.
Depending on the application: use the vacuum tube, the vacuum nozzle, a combination of both or none of the accessories.
The accessories are attached.
Disassembly
Removing the motor head
- Pull up both bottom parts of the snap locks 18 .
- Slide the two clamps of the snap locks outward from the edge of the motor head 1 .
- Lift the motor head off the container2 .
The motor head is removed.
Removing accessories/the vacuum hose
Removing accessories
- Grasp the parts you want to disconnect one hand each.
- Slightly twist the parts and pull them apart.
The accessory is removed.
Removing the vacuum hose
- Twist the connecting piece of the vacuum hose 3 all the way in counter-clockwise direction and pull it off the vacuum connection 16 . The vacuum hose is removed.
Inserting/removing the filter
Inserting the filter
- Remove the motor head 1 (see section “Removing the motor head”).
- Turn the motor head bottom up.
- Place the filter screen 5 on the filter.
- Place the filter 4 on the filter mount 14 like this.
- Screw the filter tightly onto the filter mount in clockwise direction.
The filter has been correctly inserted when it has a tight fit and when the safety switch 15 is covered by the filter screen. - Mount the motor head (see section “Mounting the motor head”) The filter is inserted.
Removing the filter
- Remove the motor head 1 (see section “Removing the motor head”).
- Turn the motor head bottom up.
- Unscrew the filter 4 from the filter mount in counter-clockwise direction.
- Remove the filter and the filter screen 5 from the filter mount 14 .
The filter is removed.
Operation
WARNING!
Risk of fire and explosion!
When mixing with the vacuumed air, certain substances can form explosive mixtures or vapours.
- Do not vacuum up any flammable, combustible, explosive or caustic gasses, vapours, liquids and dust.
- Do not vacuum up any flammable materials (such as wood)
- Do not vacuum up smouldering materials (such as cigarette butts or ashes).
- During vacuuming, constantly check the hoses and the device for heating.
Completely unwind the vacuum hose 3 before starting the device.
Switching on the device
If the filter 4 is not or wrongly inserted, the device cannot be switched on (see section “Inserting the filter”).
- Press the ON/OFF switch 9 . The device is switched on!
Switching off the device
- Press the ON/OFF switch 9 . The device is switched off!
Vacuuming
Do not vacuum with a wet or damp device!
- Insert the filter 4 (see section “Inserting the filter”).
- Connect the vacuum hose and the accessories (see section “Connecting the vacuum hose /accessories”).
- Pick up the vacuum hose 3 .
- Vacuum the area to be cleaned.
- Switch off the device (see section “Switching off the device”).
Blowing
- Push the vacuum hose 3 with one of its connecting pieces into the blow connection 12 .
Attach the vacuum tube 7 and/or the vacuum nozzle 6 , as desired. - Pick up the vacuum hose.
- Switch on the device (see section “Switching on the device”).
- Blow down a surface or objects.
- Switch off the device (see section “Switching off the device”).
- Connect the vacuum hose (see section “Connecting the vacuum hose”).
Filter cleaning function
Use the filter cleaning function if you notice that the vacuum power decreases while operating the device. This way, you can remove coarse debris from the filter 4 .
- While the device is switched on, block the air inlet at the end of the vacuum hose 3 .
Push the opening down on the floor so that it is blocked. - Press and hold the filter cleaning button 11 several times in sequence.
If the vacuum power does not improve, empty the container 2 and clean the filter (see section “Cleaning”).
Cleaning and storage
WARNING!
Risk of damage!
- Do not hose the device down with water.
- Always check the device for obvious defects and faults before use; have these repaired and defective parts exchanged, if necessary.
NOTE!
Risk of damage!
Improper handling can damage the device.
- Do not use any aggressive cleaners, sharp or metallic cleaning utensils such as knives, hard scrapers or similar items. These could damage the surfaces.
Cleaning
We recommend that cleaning be carried out outdoors in a place sheltered from the wind.
- Switch the device off and disconnect it from the power supply.
- Remove all accessories and the vacuum hose 3 (see section “Removing the vacuum hose/accessories”).
- Remove the motor head 1 (see section “Removing the motor head”).
- Remove the filter 4 (see section “Removing the filter”).
- Knock the dust out of the filter.
- Rinse the filter screen 5 under running water.
Dry the filter screen thoroughly. - Empty the container 2 .
- Clean the motor head, the container, the filter, the accessories and the vacuum hose with a slightly damp cloth.
- Insert a filter (see section “Inserting the filter”).
- Mount the motor head (see section “Mounting the motor head”).
The device is clean.
Storage
Only put a clean device into storage (see section “Cleaning”).
- Remove the accessories and the vacuum hose (see section “Accessories/Removing the vacuum hose”).
- Remove the motor head (see section “Removing the motor head”).
- Store the accessories and the vacuum hose in the container.
- Mount the motor head (see section “Mounting the motor head”).
- Wind the power cable around the cable- and hose winder 20 .
- Store the device in a clean, dry, frost-protected place out of the reach of children.
Transport
- Exclusively transport the device in normal position; prevent tilting while transporting.
- When transporting the device in vehicles, the device must be secured in accordance with the applicable regulations (load securing).
Troubleshooting
| Malfunction | Possible cause | Troubleshooting |
| Vacuumed material is blown out again at the motor head. | Filter is damaged | Replace the filter (see section “Inserting/removing the filter”). |
|
Motor does not run or stops during operation. | Safety switch is not covered | Check the correct fit of the filter (see section “Inserting the filter”). |
| Power supply interrupted | Check that the power plug fits properly. Connect another device to the outlet to test it. | |
| ON/OFF switch defective | Contact customer service | |
| Worn carbon brushes | ||
| Motor defective |
| Malfunction | Possible cause | Troubleshooting |
|
Very low or no vacuum power. | Vacuum hose, vacuum tube or accessories are clogged | Clean the vacuum hose, the vacuum tube and the accessories (see section “Cleaning”). |
| The vacuum hose is not correctly attached | Connect the vacuum hose correctly (see section “Connecting the vacuum hose/ accessories”). | |
| Container open | Close the container (see section “Mounting the motor head”). | |
| Container full | Empty the container (see section “Cleaning”). | |
| Filter capacity exhausted | Clean or replace the filter (see section “Cleaning”). | |
| Filter clogged | Use the filter cleaning function (see section “Filter cleaning function”) |
If the problem persists, contact the customer service listed on the last page.
Technical data
- Model GAS20
- Mains connection: 230-240 V ~; 50 Hz
- Motor output1300 W
- Container volume approx. 20 l
- Hose length approx. 150 cm
- Weight approx. 4.6 kg
- Machine safety class: II
- Max temperature ashes: 40 °C
- Suction power: 17-19 kPa
- Power cord lenght: 5 m
- Item number 820212
EC Declaration of Conformity
We,
MEROTEC GmbH
Otto-Brenner-Str. 8, 47877 Willich, Germany
herewith declare under our own, sole responsibility that our product
Ash cleaner
Model No. GAS20
is in conformity with the following directives:
- 2014/35/EU LVD directive
- 2014/30/EU EMC directive
- 2011/65/EU*) RoHS amended by (EU) 2015/863
- 2009/125/EC Ecodesign directive, incl. (EC) No 1275/2008 and (EC) No 801/2013
Applied harmonized standards:
- EN 60335-1:2012+A11:2014+A13:2017+A1:2019+A14:2019+A2:2019+A15:2021 EN 60335-2-2:2010+A11:2012+A1:2013
- EN 62233:2008
- EN IEC 55014-1:2021
- EN IEC 55014-2:2021
- EN IEC 61000-3-2:2019+A1:2021
- EN 61000-3-3:2013+A2:2021
- EN IEC 63000:2018
Person authorised to compile the technical file: Dirk Wohlrab
MEROTEC GmbH
Willich, 13/06/2022
Legally valid signature:

Ronald Menken
General Manager MEROTEC GmbH
This declaration of conformity is issued under the sole responsibility of the manufacturer.
*) The object of the declaration described above satisfies the provisions of directive 2011/65/EU of the European Parliament and the Council of 8 June 2011 on limiting the use of certain harmful substances in electrical and electronic appliances.
Disposal
Disposing of packaging
Dispose of packaging according to type. Sort the paperboard and cardboard as waste paper and the film as recyclable material.
Dispose of old electrical device
Applicable in the European Union and other European countries with systems for separate collections of recyclable waste.
This symbol indicates that this product may not be disposed of together with domestic waste in compliance with the (2012/19/EU) Regulation pertaining to waste electrical and electronic devices (WEEE). This product must be handed in at a collection point intended for the purpose. This can occur, for example, by handing it in at an authorised
Great care has gone into the manufacture of this product and it should therefore provide you with years of good service when used properly. In the event of product failure within its intended use over the course of the first 3 years after date of purchase, we will remedy the problem as quickly as possible once it has been brought to our attention. In the unlikely event of such an occurrence, or if you require any information about the product, please contact us via our helpline support services, details of which are to be found both in this manual and on the product itself.
PRODUCED IN CHINA FOR:
ALDI STORES LTD. PO BOX 26, ATHERSTONE WARWICKSHIRE, CV9 2SH
ALDI STORES (IRELAND) LTD.
PO BOX 726, NAAS, CO. KILDARE
Visit us at www.aldi.com
AFTER SALES SUPPORT
+44(0) 1904727501
+353(0) 19022605
[email protected]
MODEL: GAS20





















