Symetrix xIO Bluetooth RCA-3.5 Expands Control Capabilities
What Ships in the Box
- xIO Bluetooth RCA-3.5
- Dual gang Decora® wall plate (black or white)
- Four #6-32 x 5/8” Phillips Countersunk screws
- Four #6-32 x 1/4” Slotted Oval Head screws (black or white)
- Quick Start Guide
What You Need to Provide
- A Windows PC with 1 GHz or higher processor and:
- Windows 10 or higher
- 1 GB free storage space
- 1280×1024 graphics capability
- 16-bit or higher colors
- Internet connection
- 8 GB or more of RAM as required by your operating system
- Network (Ethernet) interface
- CAT5 cable or an existing Ethernet network
Getting Help
Composer™, the Windows software that configures the xIO Bluetooth RCA-3.5 hardware, includes a help file which acts as a complete User’s Guide for both hardware and software. If you have questions beyond the scope of this Quick Start Guide, contact our Technical Support Group in the following ways:
- Tel: +1.425.778.7728 ext. 5
- 6:00 am to 5:00 pm PST
- Monday through Friday
- Web: https://www.symetrix.co
- Email: [email protected]
- Forum: https://forum.symetrix.co
Important Safety Instructions
- Read these instructions.
- Keep these instructions.
- Heed all warnings.
- Follow all instructions.
- Do not use this apparatus near water. This apparatus shall not be exposed to dripping or splashing and no objects filled with liquids, such as vases, shall be placed on the apparatus.
- Clean only with dry cloth.
- Do not block any ventilation openings. Install only in accordance with the manufacturer’s instructions.
- Do not install near any heat sources such as radiators, heat registers, stoves, or other apparatus (including amplifiers) that produce heat.
- Ensure proper ESD control and grounding when handling exposed I/O terminals.
- Protect the power cord from being walked on or pinched particularly at plugs, convenience receptacles, and the point where they exit from the apparatus.
- Only use attachments/accessories specified by the manufacturer.
- Use only with the cart, stand, tripod, bracket, or table specified by the manufacturer, or sold with the apparatus. When a cart is used, use caution when moving the cart/apparatus combination to avoid injury from tip-over.
- Unplug this apparatus during lightning storms or when unused for long periods of time.
- Refer all servicing to qualified service personnel. Servicing is required when the apparatus has been damaged in any way, such as power-supply cord or plug cord is damaged, liquid has been spilled or objects have fallen into the apparatus, the apparatus has been exposed to rain or moisture, does not operate normally, or has been dropped.
WARNING
- TO REDUCE THE RISK OF FIRE OR
- ELECTRIC SHOCK DO NOT EXPOSE
- THIS EQUIPMENT TO RAIN OR MOISTURE
The lightning flash:
The lightning flash with arrowhead symbol within an equilateral triangle is intended to alert the user of the presence of uninsulated “dangerous voltage” within the product’s enclosure that may be of sufficient magnitude to constitute a risk of electric shock to persons. The exclamation point within an equilateral triangle is intended to alert the user of the presence of important operating and maintenance (servicing) instructions in the literature accompanying the product (i.e. this Quick Start Guide).
CAUTION:
To prevent electric shock, do not use the polarized plug supplied with the device with any extension cord, receptacle, or another outlet unless the prongs can be fully inserted.
User Serviceable Parts:
There are no user-serviceable parts inside this Symetrix product. In case of failure, customers inside the U.S. should refer all servicing to the Symetrix factory. Customers outside the U.S. should refer all servicing to an authorized Symetrix distributor. Distributor contact information is available online at: http://www.symetrix.co
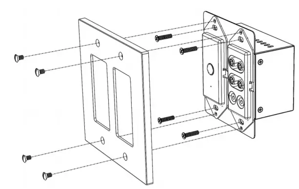
Installation
Hardware Installation
- Connect CAT5e/CAT6 cable to RJ45 port on the rear 1 panel of the xIO Bluetooth RCA-3.5
- Secure the xIO Bluetooth RCA-3.5 to a standard US dual-gang wall box using the included #6-32 x 5/8” Phillips countersunk screws.
- Secure the Decora® plate to the front panel of the xIO Bluetooth RCA-3.5 using the included #6-32 x 1/4” slotted oval head screws (black or white).

Software Installation
composer is the software that provides real-time set-up and control of the xIO Bluetooth RCA-3.5 from a Windows PC environment. Use the following procedure to install ComposerTM on your
computer.
- From the Symetrix web site (http://www.symetrix.co):
- Download the ComposerTM software installer from the Symetrix web site.
- Double-click on the downloaded file and follow the onscreen directions to install.
- After installing the software, refer to the Help File for full connection and configuration information.
PHY Dante Devices
This device does not have an internal Ethernet switch. The Ethernet jack is connected directly to the Dante PHY (Ethernet physical transceiver), as opposed to through a switch. This means you must connect the Dante port to an Ethernet switch before connecting it to another PHY Dante device to avoid audio dropouts on Dante channels. Dante PHY devices include many
Ultimo-based devices on the market as well as the specific Symetrix hardware listed below:
- Prism (4×4, 8×8, 12×12, and 16×16)
- xIn 4
- xOut 4
- xIO 4×4
- xIO Stage 4×4
- xIO Bluetooth
- xIO Bluetooth RCA-3.5
System Setup
A successful system setup requires that you first establish communications with an Radius NX, Prism, or Edge unit.
Basic Connections
- Connect your PC to an Ethernet port on the Radius NX, Prism, or Edge unit.
- To power the xIO Bluetooth RCA-3.5, connect the Dante port to a PoE injector or PoE enabled switch port.
- Daisy chain a CAT5/6 cable from either the LAN port on the PoE injector or from the PoE switch.
Network Setup
About DHCP
xIO Bluetooth RCA-3.5 boots with DHCP enabled by default. This means that as soon as you connect it to a network, it will look for a DHCP server in order to obtain an IP address. If a DHCP server is present, xIO Bluetooth RCA-3.5 will obtain an IP address from it. This process may take several minutes. With your PC attached to the same network, and thus getting its IP address from the same DHCP server, all will be ready to go. When there is no DHCP server present to assign IP addresses to the xIO Bluetooth RCA-3.5, and you are using Windows default network settings, your PC will set an IP in the range of 169.254.x.x with a Subnet Mask of 255.255.0.0 in order to communicate with the device. This default setting to an Automatic Private IP Address in the range of 169.254.x.x uses the last four alphanumeric characters of the device’s MAC address (MAC address hex value is converted to decimal for IP address) for the x.x values. For reference, the device’s MAC address can be found on a sticker on the bottom of the hardware. Even if the PC’s default settings have been changed, xIO Bluetooth RCA-3.5 will try to establish communications by setting up appropriate routing table entries to reach devices with 169.254.x.x addresses.
Connecting to xIO Bluetooth RCA-3.5 from a host computer on the same LAN
The xIO Bluetooth RCA-3.5 and the host computer require the following 3 items:
- IP Address – The unique address of a node on a network.
- Subnet Mask – Configuration that defines which IP Addresses are included in a particular subnet.
- Default Gateway (optional) – The IP address of a device that routes traffic from one subnet to another. (This is only needed when the PC and xIO Bluetooth RCA-3.5 are on different subnets).
If you are putting xIO Bluetooth RCA-3.5 on an existing network, a network administrator will be able to provide the above information or it may have been provided automatically by a DHCP server. For security reasons, it is not recommended to put xIO Bluetooth RCA-3.5 directly on the Internet. If you do, a network administrator or your Internet Service Provider can provide the above information. If you are on your own private network, directly or indirectly connected to the xIO Bluetooth RCA-3.5, you may allow the device to choose an automatic IP address or you may choose to assign it a static IP address. If you are building your own separate network with static assigned addresses, you may consider using an IP Address from one of the ”Private-Use” networks noted in RFC-1918:
- 172.16.0.0/12 = IP Addresses 172.16.0.1 through 172.31.254.254 and a Subnet Mask of 255.240.0.0
- 192.168.0.0/16 = IP Addresses 192.168.0.1 through 192.168.254.254 and a Subnet Mask of 255.255.0.0
- 10.0.0.0/8 = IP Addresses 10.0.0.1 through 10.254.254.254 and a Subnet Mask of 255.255.0.0
Configuring IP Parameters
Locating Hardware
Discovery of, and connection to, xIO Bluetooth RCA-3.5 hardware is done with the Locate Hardware dialog found under the Hardware menu or by clicking the Locate Hardware icon in the tool bar or on a particular xIO Bluetooth RCA-3.5 unit itself.
IP Configuration with Composer
The Locate Hardware dialog will scan the network and list available units. Select the xIO Bluetooth RCA-3.5 unit you wish to assign an IP address to and click the Properties button. If you wish to assign xIO Bluetooth RCA-3.5 a static IP address, select “Use the following IP address” and enter the appropriate IP Address, Subnet mask and Gateway. Click OK when finished. Now, back in the locate hardware dialog, ensure the xIO Bluetooth RCA-3.5 device is selected and click “Select Hardware Unit” to use this xIO Bluetooth RCA-3.5 hardware in your Site File. Close the Locate Hardware dialog.
Reset Switch
To be used under the supervision of technical support, it has the ability to reset the xIO Bluetooth RCA-3.5’s network configuration and completely reset the unit to factory defaults. Locate the reset switch through the vents on the bottom side of the T-10 Glass rear cover.
Short press and release: Reboots the unit.- Long press and hold, release when unit reboots:
- Resets network configuration, returns to DHCP.
Apply power while holding, release after unit boots then reboots: Factory resets unit.
Declaration of Conformity
We, Symetrix Incorporated, 6408 216th St. SW, Mountlake Terrace, Washington, USA, declare under our sole responsibility that the product: xIO Bluetooth RCA-3.5 to which this declaration relates, is in conformity with the following standards: EN 55032, EN 55103-2, EN 61000-3-2, EN 61000-3-3 (EMC-International),
FCC Part 15 (EMC-USA),
ICES003, RoHS (health/environmental)
The technical construction file is maintained at: Symetrix, Inc. 6408 216th St. SW Mountlake Terrace, WA, 98043 USA The authorized representative located within the European Community is:
World Marketing Associates
- P.O. Box 100
- St. Austell, Cornwall, PL26 6YU, U.K.
- Date of issue: January 15th, 2019
- Place of issue: Mountlake Terrace, Washington, USA
- Authorized signature:

- Mark Graham, CEO, Symetrix Incorporated
The Symetrix Limited Warranty
By using Symetrix products, the Buyer agrees to be bound by the terms of this Symetrix Limited Warranty. Buyers should not use Symetrix products until the terms of this warranty have been read.
What is Covered by this Warranty:
Symetrix, Inc. expressly warrants that the product will be free from defects in material and workmanship for five (5) years from the date the product is shipped from the Symetrix factory. Symetrix’s obligations under this warranty will be limited to repairing, replacing, or partially crediting original purchase price at Symetrix’s option, the part or parts of the product which prove defective in material or workmanship within the warranty period, provided that the Buyer gives Symetrix prompt notice of any defect or failure and satisfactory proof thereof. Symetrix may, at its option, require proof of the original date of purchase (copy of original authorized Symetrix Dealer’s or Distributor’s invoice). Final determination of warranty coverage lies solely with Symetrix. This Symetrix product is designed and manufactured for use in professional audio systems and is not intended for other usage. With respect to products purchased by consumers for personal, family, or household use, Symetrix expressly disclaims all implied warranties, including, but not limited to, warranties of merchantability and fitness for a particular purpose. This limited warranty, with all terms, conditions and disclaimers set forth herein, shall extend to the original purchaser and anyone who purchases the product within the specified warranty period from an authorized Symetrix Dealer or Distributor. This limited warranty gives the Buyer certain rights. The Buyer may have additional rights provided by applicable law.
What is not Covered by this Warranty:
This warranty does not apply to any non-Symetrix branded hardware products or any software even if packaged or sold with Symetrix Products. Symetrix does not authorize any third party, including any dealer or sales representative, to assume any liability or make any additional warranties or representation regarding this product information on behalf of Symetrix.
This warranty also does not apply to the following:
- Damage caused by improper use, care, or maintenance or failure to follow the instructions contained in the Quick Start Guide or Help File.
- Symetrix product that has been modified. Symetrix will not perform repairs on modified units.
- Symetrix software. Some Symetrix products contain embedded software or apps and may also be accompanied by control software intended to be run on a personal computer.
- Damage caused by accident, abuse, misuse, exposure to liquids, fire, earthquake, acts of God, or other external causes.
- Damage caused by improper or unauthorized repair of a unit. Only Symetrix technicians and Symetrix international distributors are authorized to repair Symetrix products.
- Cosmetic damage, including but not limited to, scratches and dents, unless failure has occurred due to a defect in materials or workmanship within the warranty period.
- Conditions caused by normal wear and tear or otherwise due to the normal aging of Symetrix products.
- Damage caused by use with another product.
- Product on which any serial number has been removed, altered or defaced.
- Product that isn’t sold by an authorized Symetrix Dealer or Distributor
Buyer Responsibilities:
Symetrix recommends the Buyer make backup copies of site files before having a unit serviced. During service it is possible that the site file will be erased. In such an event, Symetrix is not responsible for the loss or the time it takes to reprogram the site file.
Legal Disclaimers and Exclusion of other Warranties:
The foregoing warranties are in lieu of all other warranties, whether oral,written, express, implied or statutory. Symetrix, Inc. expressly disclaims any IMPLIED warranties, including fitness for a particular purpose or merchantability. Symetrix’s warranty obligation and Buyer’s remedies hereunder are SOLELY and exclusively as stated herein.
Limitation of Liability:
The total liability of Symetrix on any claim, whether in contract, tort (including negligence) or otherwise arising out of, connected with, or resulting from the manufacture, sale, delivery, resale, repair, replacement or use of any product will not exceed the retail price of the product or any part thereof which gives rise to the claim. In no event will Symetrix be liable for any incidental or consequential damages, including but not limited to, damage for loss of revenue, cost of capital, claims of Buyers for service interruptions or failure to supply, and costs and expenses incurred in connection with labor, overhead, transportation, installation or removal of products, substitute facilities or supply houses.
Servicing a Symetrix Product:
The remedies set forth herein shall be the Buyer’s sole and exclusive remedies with respect to any defective product. No repair or replacement of any product or part thereof will extend the applicable warranty period for the entire product. The specific warranty for any repair will extend for a period of 90 days following the repair or the remainder of the warranty period for the product, whichever is longer. Residents of the United States may contact the Symetrix Technical Support Department for a Return Authorization (RA) number and additional in-warranty or out-of-warranty repair information. If a Symetrix product requires repair services outside of the United States please contact the local Symetrix dealer or distributor for instructions on how to obtain service.
Products may be returned by Buyer only after a Return Authorization number (RA) has been obtained from Symetrix.
Buyer will prepay all freight charges to return the product to the Symetrix factory. Symetrix reserves the right to inspect any products which may be the subject of any warranty claim before repair or replacement is carried out. Products repaired under warranty will be returned freight prepaid via commercial carrier by Symetrix, to any location within the continental United States. Outside the continental United States, products will be returned freight collect
FCC
Note: This equipment has been tested and found to comply with the limits for a Class B digital device, pursuant to part 15 of the FCC Rules.
These limits are designed to provide reasonable protection against harmful interference in a residential installation. This equipment generates, uses and can radiate radio frequency energy and, if not installed and used in accordance with the instructions, may cause harmful interference to radio communications. However, there is no guarantee that interference will not occur in a particular installation. If this equipment does cause harmful interference to radio or television reception, which can be determined by turning the equipment off and on, the user is encouraged to try to correct the interference by one or more of the following measures:
- Reorient or relocate the receiving antenna.
- Increase the separation between the equipment and receiver.
- Connect the equipment into an outlet on a circuit different from that to which the receiver is connected.
- Consult the dealer or an experienced radio/TV technician for help.
Modifications not expressly approved by the manufacturer could void the user’s authority to operate the equipment under FCC rules.



Short press and release: Reboots the unit.
Apply power while holding, release after unit boots then reboots: Factory resets unit.
















![Utopia 360 Vr Bluetooth Controller User Manual [tyv-1658] Utopia 360 Vr Bluetooth Controller User Manual [tyv-1658]](https://static-data1.manualsee.com/1/img/13/51/2018/01/03-1.jpg)

