tyco DSC PG8303 Slim wireless magnetic User Manual
Overview
The PGx303/PGx303BR is a thin, ultra long-life PowerG magnetic contact device that is compatible with DSC wireless receivers. The wireless deviceincludes a built-in reed switch that opens a circuit when the magnet is moved from its normal position.
NOTE: The x in the product name PGx303/PGx303BR can be replaced by one of the following numbers: 4,8,9. 4 refers to the frequency 433 MHz, 8 refers to 868 MHz and 9 refers to 912 MHz – 919 MHz. PGx303/PGx303BR

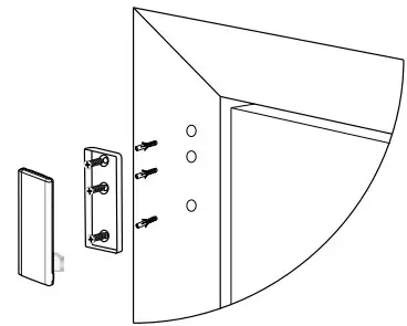
| Callout | Description |
| 1 | Device |
| 2 | Magnet |
- Two-way PowerG communication with the control panel
- Front and back cover tamper detection
- LED light signal strength indication during installation
- Discreet transmission of supervision message
- PowerG two-way frequency hopping spread spectrum time-division multiple access (FHSS-TDMA) technology
- Low battery indication
Installation
CAUTION! Service personnel only may install this equipment. Place this device in non-hazardous indoor locations only.
NOTES:
Install the PGx303/PGx303BR in accordance with the Standard for Installation and Classification of Residential Burglar Alarm Systems, UL 1641. To comply with FCC and IC RF exposure compliance requirements, locate the device at a distance of at least 20 cm from all persons during normal operation. Do not co- locate the antennas used for this product, or operate them in conjunction with any other antenna or transmitter.
Mounting the device (quick installation) To quick mount the device, complete the following steps:
NOTE:
- Do not use this method for UL installations as UL certified devices must be mechanically secured.
- If you mount the device with double-sided adhesive tape, the installation is not EN Grade 2 compliant.
- Peel the release liners off the two strips of doublesided adhesive tape and attach the tape to the back of the device and the magnet. See
- Place the device on the frame of a window or doorand place the magnet on the moving surface of the door or window itself, directed according to the location marks. See .
NOTE: See Typical reed switch positions for more information on alignment. Quick installation
| Callout | Description |
| 1 | Double-sided adhesive tape |
| 2 | Enrollment / battery tab |
Device and magnet position on door and door frame
Mounting the device (screw installation) To mount the device with screws, complete the following steps:
- Insert a coin in the slot and twist to remove the cover. If a coin is not available, insert a 4 mm flat screwdriver into each slot of the plastic cover and twist to open each side. See .
- Screw the device base onto the door frame. See .
- Screw the magnet base on to the door, aligning it with the line on the device. See and .
NOTE: See Typical reed switch positions for more information on alignment. - Clip the covers on to the device and magnet base.
See . Device cover removal
Device screw installation
Magnet screw installation
Closing the device cover
Enrolling the device

To enroll the device, complete the following steps:
NOTES:
Refer to the panel installer guide and follow the procedure under the 02:ZONES/DEVICES option of the installer menu.
For UL/ULC listed installations use only in conjunction with UL/ULC listed control panels. Battery/enrollment tab
Refer to the panel installation manual for the enrollment procedure. A general description of the procedure is provided below:
- To ensure that the proper steps are used, refer to the installation manual for the alarm system that the device is being enrolled on.
- Enter the device enrollment option through the specified method and select the appropriate option to add the new device.
- Enroll the device by either inserting the battery to power on the device until the enrollment is detected, or by entering the device ID.
- Select the desired zone number.
- Configure any device parameters that are required.
- Mount and test the detector. See Local diagnostics test for information on testing the device. In addition, see the alarm systems installation manual that the device is enrolled on for other test procedures that are required.
If the detector is already enrolled, you can configure the detector parameters by programming the system, see the alarm systems installation manual for more information about device parameters.
NOTE: When enrolling the detector to WP panels with version 19.4 or lower, the detector is enrolled as ID:100-XXXX, and labeled Contact in the panel.
Replacing the bat tery
CAUTION! Risk of explosion if battery is replaced by an incorrect type. Dispose of used batteries according to the manufacturer’s instructions.
WARNING! This product contains a coin battery. If it is swallowed, it can cause severe internal burns in just 2 hours and can lead to death. Keep new and used batteries away from children.If the battery compartment does not close securely, stop using the product and keep it away from children. If you think batteries might have been swallowed or placed inside any part of the body, seek immediate medical attention. To remove the battery, complete the following steps:
- Remove the cover. See .
- Wedge a flat head screwdriver under the battery. See , number 1.
- Twist the screwdriver using the base as a lever to remove the battery.
Battery removal and insertion
To insert the battery, complete the following steps:
- Insert the battery at an angle while observing battery polarity. See , number 2.
- Press down on the battery until it fits into place.
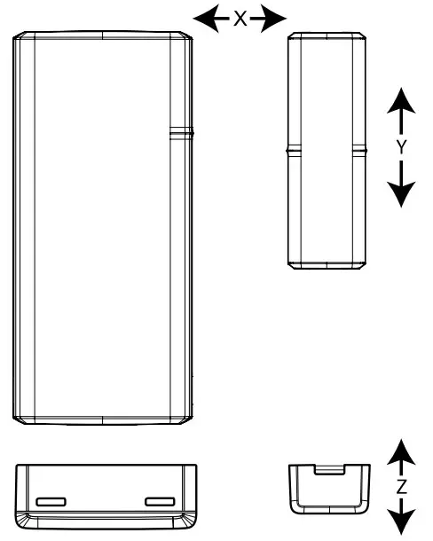
Typical reed switch positions
displays the range coverage directions of the PGx303/PGx303BR.
Typical reed switch positions
| Wood | Supports | Iron | ||
| Opening | Closing | Direction | Opening | Closing |
| mm (in.) | mm (in.) | mm (in.) | mm (in.) | |
| 24(0.94) 25(0.98)* | 23 (0.90) 20 (0.78)* | X | 11 (0.43) 9 (0.35)* | 6(0.23) 5(0.2)* |
| 11(0.43) 16(0.63)* | 6(0.23) 14 (0.55)* | Y | 15 (0.59) 17 (0.66)* | 9(0.35) 12 (0.46)* |
| 34(1.33) 27(1.06)* | 26 (1.02) 25 (0.98)* | Z | 27 (1.06) 18 (0.71)* | 21 (0.82) 15 (0.58)* |
For UL installations Range coverage directions
Local diagnostics test
- Before you start the test, separate the cover from the base. See .
- Close the cover to return the tamper switch to its normal (undisturbed) position.
- Momentarily open the door or window and verify the red LED blinks, indicating detection.
- After two seconds, one of the LEDs blinks three times.
displays received signal strength indication: Signal strength indication
| LED response | Reception |
| Green LED blinks | Strong |
| Yellow LED blinks | Good |
| Red LED blinks | Poor |
| No blinks | No communication |
IMPORTANT! Reliable reception must be assured. Therefore, poor signal strength is not acceptable. If you receive a poor signal from the detector, re-locate it and re-test until a strong signal strength is received (in regions requiring UL- compliant installation, only strong
signal strength is permitted).
NOTE: It is recommended to have a strong signal strength and you must verify the signal strength using the control panel’s diagnostic test. For detailed Diagnostics Test instructions, refer to the control panel installer guide.
Specifications
WIRELESS
Frequency: 433, 868, 915 (in accordance with the prevailing frequency of your region).
Note: Only devices in frequency band 912 MHz – 919 MHz are UL/ULC listed Maximum Tx Power: +14 dBm radiated @ 868 MHz; +10 dBm radiated @ 433 MHz
Modulation: GFSK
Antenna: Built-in inverted-F antenna
Communication protocol: PowerG
Supervision: Signaling at 256 second intervals
ELECTRICAL
Battery Type: 3 V Lithium CR2450 GP or Panasonic battery only
Battery Life: 6 years with typical use at room temperature 25°C (77°F)
NOTE: Not verified by UL
Low Battery Threshold: 2 V at room temperature 25°C (77°F)
ENVIRONMENTAL
Operating temperature: -10°C (14°F ) to 55°C (131°F). UL verified range: 0ºC (32°F) to 49ºC (120°F ) only Storage Temperature: -20°C to 70°C (-4°F to 158°F) Relative Humidity (RH): Up to 95% non-condensing, UL verified up to a maximum of 85% RH only
PHYSICAL
Size (LxWxD): 67 mm x 31 mm x 11 mm (2.6 in. x 1.2 in. x 0.4 in.)
Weight (with battery): 20 g (0.71 oz)
Color: White or Brown
UL/ULC Notes
Only model PG9303 operating in the frequency band 912-919MHz is UL/cUL listed. The PG9303 has been listed by UL/cUL for commercial and residential burglary applications in accordance with the requirements in the Standards UL 634 and ULC/ORD-C634 for contacts and switches. For UL/ULC installations use these device only in conjunction with compatible DSC wireless receivers: HSM2HOST9, HS2LCDRF(P)9, HS2ICNRF(P) 9, PG9920, WS900-19, and WS900-29. After installation verify the product functionality in conjunction with the compatible receiver used.
Europe: CE/EN (EN 300220, EN 301489, EN 50130-4, EN 50130-5, EN 61000-6-3, EN 62368-1, EN50131-2- 6 GRADE 2, CLASS II, EN50131-6 Type C) listed PG8303: 868 MHz PG4303: 433 MHz. According to EN 50131-1, this equipment can be applied in installed systems up to and including Security Grade 2, Environmental Class II. UK: The PG8303 is suitable for use in systems installed to conform to PD6662 at Grade 2 and environmental class II BS8243. Certified by Applica Test & Certification AS in accordance with EN 50131-2- 6, EN 50131-5-3, EN 50131-6,EN 50130-4, EN 50130-5. Security Grade 2 and Environmental Class II.
Simplified EU declaration of conformity
Hereby, Tyco Safety Products Canada Ltd. declares that the radio equipment type is in compliance with Directive 2014/53/EU. The full text of the EU declaration of conformity is available at the following internet address:
PG4303: http://dsc.com/pdf/1809003
PG8303: http://dsc.com/pdf/1809004
Frequency band Maximum power
| Frequency | Max power |
| 868.0 MHz – 868.6 MHz | +14 dBm |
| 868.7 MHz – 869.2 MHz | +14 dBm |
European single point of contact: Tyco Safety Products, Voltaweg 20, 6101 XK Echt, Netherlands.
W.E.E.E. Product Recycling Declaration For information regarding the recycling of this product you must contact the company fromwhich you originally purchased it. If you are discarding this product and not returning it forrepair then you must ensure that it is returned as identified by your supplier. This product is not tobe thrown away with everyday waste.
Directive 2012/19/EC Waste Electrical and Electronic Equipment.
FCC COMPLIANCE STATEMENT
WARNING! Changes or modifications to this unit not expressly approved by the party responsible for compliance could void the user’s authority to operate the equipment. This device has been tested and found to comply with the limits for a Class B digital device, pursuant to Part 15 of the FCC Rules. These limits are designed to provide reasonable protection against harmful interference in residential installations. This equipment generates uses and can radiate radio frequency energy and, if not installed and used in accordance with the instructions, may cause harmful interferenceto radio and television reception. However, there is no guarantee that interference will not occur in a particular installation. If this device does cause such interference, which can be verified by turning the device
off and on, the user is encouraged to eliminate the interference by one or more of the following measures:
- Re-orient or re-locate the receiving antenna.
- Increase the distance between the device and the receiver.
- Connect the device to an outlet on a circuit different from the one that supplies power to the receiver.
- Consult the dealer or an experienced radio/TV technician. FCC ID: F5318PG9303
Indust ry Canada Statement
This equipment complies with FCC and ISED Canada RF radiation exposure limits set forth for an uncontrolled environment. This device complies with FCC Rules Part 15 and with ISED Canada licence exemptRSS standard(s). Operation is subject to the following two conditions: (1) This device may not cause harmful interference, and (2) this device must accept any interference that may be received or that may cause undesired operation. Le present appareil est conforme aux CNR d’ISED Canada applicables aux appareils radio exempts de licence. L’exploitation est autorisee aux deux conditions suivantes :(1) l’appareil ne doit pas produire de brouillage, et (2) l’utilisateur de l’appareil doit accepter tout brouillage radioelectrique subi, meme si le brouillage est susceptible d’en compromettre le fonctionnement.To comply with FCC Section 1.1310 for human exposure to radio frequency electromagnetic fields and IC requirements, implement the following instruction: A distance of at least 20cm between the equipment and all persons should be maintained during the operation of the equipment. Le dispositif doit être placé à une distance d’au moins 20 cm à partir de toutes les personnes au cours de son fonctionnement normal. Les antennes utilisées pour ce produit ne doivent pas être situés ou exploités conjointement avec une autre antenne ou transmetteur.IC: 160A-PG9303
The term IC before the radio certification number signifies that the Industry Canada technical specifications were met. This Class B digital apparatus complies with Canadian ICES-003. This device complies with RSS247 of Industry Canada.
Operation is subject to the following two conditions: (1) this device may not cause interference, and (2) this device must accept any interference, including interference that may cause undesired operation of the device. Cet appareil numérique de la classe B est conforme à la norme NMB- 003 du Canada. Ce dispositif satisfait aux exigences d’Industrie Canada, prescrites dans le document CNR- 247. son utilisation est autorisée seulement aux conditions suivantes: (1) il ne doit pas produire de brouillage et (2) l’utilisateur du dispositif doit être prêt à accepter tout brouillage radioélectrique reçu, même si ce brouillage est susceptible de compromettre le fonctionnement du dispositif.
Limited Warranty
Digital Security Controls (DSC) warrants that for a period of 12 months from the date of purchase, the product shall be free of defects in materials and workmanship under normal use and that in fulfilment of any breach of such warranty, DSC shall, at its option, repair or replace the defective equipment upon return of the equipment to its repair depot. This warranty applies only to defects in parts and workmanship and not to damage incurred in shipping or handling, or damage due to causes beyond the control of DSC such as lightning, excessive voltage, mechanical shock, water damage, or damage arising out of abuse, alteration or improper application of the equipment. The foregoing warranty shall apply only to the original buyer, and is and shall be in lieu of any and all other warranties, whether expressed or implied and of all other obligations or liabilities on the part of DSC. Digital Security Controls neither assumes responsibility for, nor authorizes any other person purporting to act on its behalf to modify or to change this warranty, nor to assume for it any other warranty or liability concerning this product. In no event shall DSC be liable for any direct, indirect or consequential damages, loss of anticipated profits, loss of time or any other losses incurred by the buyer in connection with the purchase, installation or operation or failure of this product. WARNING: DSC recommends that the entire system be completely tested on a regular basis. However, despite frequent testing, and due to, but not limited to, criminal tampering or electrical disruption, it is possible for this product to fail to perform as expected. Important Information: Changes/- modifications not expressly approved by DSC could void the user’s authority to operate this equipment. IMPORTANT READ CAREFULLY: DSC Software purchased with or without Products and Components is copyrighted and is purchased under the following license terms: This End User License Agreement (“EULA”) is a legal agreement between You (the company, individual or entity who acquired the Software and any related Hardware) and Digital Security Controls, a division of Tyco Safety Products Canada Ltd. (“DSC”), the manufacturer of the integrated security systems and the developer ofthe software and any related products or components (“HARDWARE”) which You acquired. If the DSC software product (“SOFTWARE PRODUCT” or “SOFTWARE”) is intended to be accompanied by HARDWARE, and is NOT accompanied by new HARDWARE, You may not use, copy or install the SOFTWARE PRODUCT. The SOFTWARE PRODUCT includes computer software, and may include associated media, printed materials, and “online” or electronic documentation. Any software provided along with the SOFTWARE PRODUCT that is associated with a separate end user license agreement is licensed to You under the terms of that license agreement.By installing, copying, downloading, storing, accessing or otherwise using the SOFTWARE PRODUCT, Youagree unconditionally to be bound by the terms of this EULA, even if this EULA is deemed to be a modification of any previous arrangement or contract. If You do not agree to the terms of this EULA, DSC is unwilling to license the SOFTWARE PRODUCT to You, and You have no right to use it. SOFTWARE PRODUCT LICENSE The SOFTWARE PRODUCT is protected by copyright laws and international copyright treaties, as well as other intellectual property laws and treaties. The SOFTWARE PRODUCT is licensed, not sold.
GRANT OF LICENSE. This EULA grants You the following rights: (a) Software Installation and Use – For each licenseYou acquire, You may have only one copy of the SOFTWARE PRODUCT installed. (b) Storage/Network Use – The SOFTWARE PRODUCT may not be installed, accessed, displayed, run, shared or used concurrently on or from different
- computers, including a workstation, terminal or other digital electronic device (“Device”). In other words, if You have several workstations, You will have to acquire a license for each workstation where the SOFTWARE will be used. (c) Backup Copy – You may make back up copies of the SOFTWARE PRODUCT, but You may only have one copy per license installed at any given time. You may use the back up copy solely for archival purposes. Except as expressly provided in this EULA, You may not otherwise make copies of the SOFTWAREPRODUCT, including the printed materials accompanying the SOFTWARE.
- DESCRIPTION OF OTHER RIGHTS AND LIMITATIONS (a) Limitations on Reverse Engineering, Decompilation and Disassembly – You may not reverse engineer, decompile, or disassemble the SOFTWARE PRODUCT, except and only to the extent that such activity is expressly permitted by applicable law notwithstanding this limitation. You may not make any changes or modifications to the Software, without the written permission of an officer of DSC. You may not remove any proprietary notices, marks or labels from the Software Product. You shall institute reasonable measures to ensure compliance with the terms and conditions of this EULA.(b) Separation of Components – The SOFTWARE PRODUCT is licensed as a single product. Its component parts may not be separated for use on more than one HARDWARE unit. (c) Single INTEGRATED PRODUCT – If You acquired this SOFTWARE with HARDWARE, then the SOFTWARE PRODUCT is licensed with the HARDWARE as a single integrated product. In this case, the SOFTWARE PRODUCT may only be usedwith the HARDWARE as set forth in this EULA. (d) Rental – You may not rent, lease or lend the SOFTWARE PRODUCT. You may not make it available to others or post it on a server or web site. (e) Software Product Transfer – You may transfer all of Your rights under this EULA only as part of a permanent sale or transfer of the HARDWARE, provided You retain no copies, You transfer all of theSOFTWARE PRODUCT (including all component parts, the media and printed materials, any upgrades and this EULA), and provided the recipient agrees to the terms of this EULA. If the SOFTWARE PRODUCTis an upgrade, any transfer must also include all prior versions of the SOFTWARE PRODUCT. (f) Termination – Without prejudice to any other rights, DSC may terminate this EULA if You fail to comply with the terms and conditions of this EULA. In such event, You must destroy all copies of the SOFTWARE PRODUCT and all of its component parts. (g) Trademarks – This EULA does not grant You any rights in connection with any trademarks or service marks of DSC or its suppliers.
- COPYRIGHT All title and intellectual property rights in and to the SOFTWARE PRODUCT (including but not limited to any images, photographs, and text incorporated into the SOFTWARE PRODUCT), the accompanying printed materials, and any copies of the SOFTWARE PRODUCT, are owned by DSC or its suppliers. You may not copy the printed materials accompanying the SOFTWARE PRODUCT. All title and intellectual property rights in and to the content which may be accessed through use of the SOFTWARE PRODUCT are the property of the respective content owner and may be protected by applicable copyright or other intellectual property laws and treaties. This EULA grants You no rights to use such content. All rights not expressly granted under this EULA are reserved by DSC and its suppliers.
- EXPORT RESTRICTIONS You agree that You will not export or re export the SOFTWARE PRODUCT to any country, person, orentity subject to Canadian export restrictions.
- CHOICE OF LAW: This Software License Agreement is governed by the laws of the Province ofOntario, Canada.
- ARBITRATION All disputes arising in connection with this Agreement shall be determined by final and binding arbitration in accordance with the Arbitration Act, and the parties agree to be bound by the arbitrator’s decision. The place of arbitration shall be Toronto, Canada, and the language of the arbitration shall be English.
- LIMITED WARRANTY (a) NO WARRANTY DSC PROVIDES THE SOFTWARE “AS IS” WITHOUT WARRANTY. DSC DOES NOT WARRANT THAT THE SOFTWARE WILL MEET YOUR REQUIREMENTS OR THAT OPERATION OF THE SOFTWARE WILL BE UNINTERRUPTED OR ERROR-FREE. (b) CHANGES IN OPERATING ENVIRONMENT DSC shall not be responsible for problems caused by changes in the operating characteristics of the HARDWARE, or for problems in the interaction of the SOFTWARE PRODUCT with non-DSC- SOFTWARE or HARDWARE PRODUCTS. (c) LIMITATION OF LIABILITY; WARRANTY REFLECTSALLOCATION OF RISK IN ANY EVENT, IF ANY STATUTE IMPLIES WARRANTIES OR CONDITIONS NOT STATED IN THIS LICENSE AGREEMENT, DSC’S ENTIRE LIABILITY UNDER ANY PROVISION OF THIS LICENSE AGREEMENT SHALL BE LIMITED TO THE GREATER OF THE AMOUNT ACTUALLY PAID BY YOU TO LICENSE THE SOFTWARE PRODUCT AND FIVE CANADIAN DOLLARS(CAD$5.00). BECAUSE SOME JURISDICTIONS DO NOT ALLOW THE EXCLUSION OR LIMITATION OF LIABILITY FOR CONSEQUENTIAL ORINCIDENTAL DAMAGES, THE ABOVE LIMITATION MAY NOT APPLY TO YOU. (d) DISCLAIMER OF WARRANTIES THIS WARRANTY CONTAINS THE ENTIRE WARRANTY AND SHALL BE IN LIEU OF ANY AND ALL OTHER WARRANTIES, WHETHER EXPRESSED OR IMPLIED (INCLUDING ALL IMPLIED WARRANTIES OF MERCHANTABILITY OR FITNESS FOR A PARTICULAR PURPOSE) AND OF ALL OTHER OBLIGATIONS OR LIABILITIESON THE PART OF DSC. DSC MAKES NO OTHER WARRANTIES. DSC NEITHER ASSUMES NOR AUTHORIZES ANY OTHER PERSON PURPORTING TO ACT ON ITS BEHALF TO MODIFY OR TO CHANGE THIS WARRANTY, NOR TO ASSUME FOR IT ANY OTHER WARRANTY OR LIABILITY CONCERNING THIS SOFTWARE PRODUCT. (e) EXCLUSIVE REMEDY AND LIMITATION OF WARRANTY UNDER NO CIRCUMSTANCES SHALL DSC BE LIABLE FOR ANY SPECIAL, INCIDENTAL, CONSEQUENTIAL OR INDIRECT DAMAGES BASED UPON BREACH OF WARRANTY, BREACH OF CONTRACT, NEGLIGENCE, STRICT LIABILITY, OR ANY OTHER LEGAL THEORY. SUCH DAMAGES INCLUDE, BUT ARE NOT LIMITED TO, LOSS OF PROFITS, LOSS OF THE SOFTWARE PRODUCT OR ANY ASSOCIATED EQUIPMENT, COST OF CAPITAL, COST OF SUBSTITUTE OR REPLACEMENT EQUIPMENT, FACILITIES OR SERVICES, DOWN TIME, PURCHASERS TIME, THE CLAIMS OaF THIRD PARTIES, INCLUDING CUSTOMERS, AND INJURY TO PROPERTY.
WARNING: DSC recommends that the entire system be completely tested on a regular basis. However, despite frequent testing, and due to, but not limited to, criminal tampering or electrical disruption, itis possible for this SOFTWARE PRODUCT to fail to perform as expected.
Tech. support: 1-800- 387-3630 D-307447 Rev. 5, 06/21.


















