EVEN EMBERS GAS2400AS 4 Burner Gas Grill Owner’s Manual
IMPORTANT SAFETY WARNINGS
WE WANT YOU TO ASSEMBLE AND USE YOUR GRILL AS SAFELY AS POSSIBLE. THE PURPOSE OF THIS SAFETY ALERT SYMBOL
IS TO ATTRACT YOUR ATTENTION TO POSSIBLE HAZARDS AS YOU ASSEMBLE AND USE YOUR GRILL.
WHEN YOU SEE THE SAFETY ALERT SYMBOL
PAY CLOSE ATTENTION TO THE INFORMATION WHICH FOLLOWS!
READ ALL SAFETY WARNINGS AND INSTRUCTIONS CAREFULLY BEFORE ASSEMBLING AND OPERATING YOUR GRILL.
DANGER
IF YOU SMELL GAS:
- Shut off gas to the appliance.
- Extinguish any open fl ame.
- Open lid.
- If odor continues, keep away from the appliance and immediately call your gas supplier or your fi re department.
WARNING
- Do not store or use gasoline or other fl ammable liquids or vapors in the vicinity of this or any other appliance.
- An LP cylinder not connected for use shall not be stored in the vicinity of this or any other appliance.
Danger
- Do not store a spare LP cylinder under or near this appliance.
- Never fi ll the cylinder beyond 80% full.
- If the information in (a) and (b) is not followed exactly, a fi re causing death, or serious injury may occur.
DANGER: Indicates an imminently hazardous situation which, if not avoided, will result in death or serious injury.
WARNING: Be alert to the possibility of serious bodily injury if the instructions are not followed. Be sure to read and carefully follow all of the messages.
CAUTION: Indicates a potentially hazardous situation which, if not avoided, may result in minor or moderate injury.
CALIFORNIA PROPOSITION 65 WARNING
WARNING: This product can expose you to chemicals, including carbon monoxide, which are known to the State of California to cause birth defects or other reproductive harm.
For more information go to www.P65Warnings.ca.gov
WARNING: CONTAINS LEAD. MAY BE HARMFUL IF EATEN OR CHEWED. COMPLIES WITH FEDERAL STANDARDS. KEEP OUT OF REACH OF CHILDREN.
GENERAL WARNINGS
WARNING
- Leak test all connections before fi rst use, even if grill was purchased fully assembled and after each tank refi ll. Check the propane tank rubber seal for damage.
- Always check the grill and propane tank prior to each use as indicated in the “Checking for Leaks” & “Pre-Start Check List” sections of this manual.
- Never use natural gas in a unit designed for liquid propane gas.
- Flavoring chips must be contained in a metal smoking box to contain ash and prevent fi res.
- Ensure fl ames come out of all burner ports at each use. Spiders and insects like to build nests in burner tubes. Blocked burner tubes can prevent gas fl ow to the burners and could result in a burner tube fi re or fi re beneath the grill.
- Never check for leaks using a match or open fl ame.
- Never use or store gasoline, lighter fl uid, paint thinner, or other fl ammable vapors and liquids or combustible materials in or near your grill.
- DO NOT block ventilation areas in sides, back or cart compartment of grill.
- DO NOT cover cooking grates or other components with aluminum foil, as this blocks ventilation and damage to grill or personal injury may occur.
- Never place more than 15 pounds on the side tables. DO NOT lean on the side tables. DO NOT lift grill using side tables.
- Keep children and pets away from hot grill. DO NOT allow children to use or play near this grill.
- DO NOT leave the grill unattended while ON or in use.
- DO NOT allow the gas hose to come in contact with hot surfaces. Redirect the gas hose if necessary.
- DO NOT allow grease or hot drippings to fall on hose and regulator assembly. If this occurs, turn gas supply OFF at once. Empty grease tray/cup and clean the hose and regulator assembly and inspect for damage before use.
- Never cook on the grill without the grease cup/tray in position.
- Keep any electrical supply cords away from water or heated surfaces.
- DO NOT use water on a grease fi re. Closing the lid to extinguish a grease fi re is not possible. Use type BC dry chemical fi re extinguisher or smother with dirt, sand or baking soda.
- DO NOT use while under the infl uence of drugs or alcohol.
- FOR OUTDOOR USE ONLY. DO NOT operate indoors or in an enclosed area such as a building, garage, shed or breezeway.
- Position your grill outdoors on a non-combustible level surface in a well ventilated location, a safe distance 10 ft. (3.1 m) from combustible materials, buildings and overhangs.
- Apartment dwellers: Check with management and follow the requirements and fi re codes for using an LP gas grill in your apartment complex. Only use outside on the ground (not on a balcony, patio, garage, etc) with a 15 foot (4.6 m) minimum clearance on back and all sides from any wall, structure or combustible material.
- Maintain a minimum clearance of 36 inches (91 cm) between back and all sides of grill, deck railings, walls or other combustible material. Not adhering to these clearances may prevent proper ventilation and can increase the risk of a fi re and/or property damage, which could also result in personal injury.
DO NOT use grill under overhead combustible construction. - DO NOT use or install this grill in or on a recreational vehicle and/or boat.
- DO NOT build this model grill in any built-in or slide in construction.
- If a bristle brush is used to clean any of the cooking surfaces, ensure no loose bristles remain on the cooking surfaces prior to grilling as loose bristles may attach to food.
- DO NOT store items in cart that can catch fi re or damage your grill (such as swimming pool supplies/ chemicals, table cloth, wood chips).
- Grill is hot when in use. To avoid burns:
- DO NOT attempt to move the grill.
- Block the wheels so the unit does not accidentally move.
- Wear protective gloves or oven mitts.
- DO NOT touch any hot grill surfaces.
- DO NOT wear loose clothing or allow hair to come in contact with grill.
- Not for commercial use. DO NOT use this grill for anything other than its intended purpose.
USE CAUTION AND COMMON SENSE WHEN OPERATING YOUR GAS GRILL.
FAILURE TO ADHERE TO THE SAFETY WARNINGS AND GUIDELINES IN THIS MANUAL COULD RESULT IN SEVERE BODILY INJURY OR PROPERTY DAMAGE. SAVE THIS MANUAL FOR FUTURE REFERENCE.
LP GAS CYLINDER (TANK) SPECIFICATIONS AND INSTALLATION
WARNING
- ONLY connect this grill to a Type 1 cylinder valve. The Type 1 valve can be identifi ed with the large external threads on the valve outlet.
- DO NOT connect to a propane cylinder exceeding a 20 lb. (9.1 kg) capacity.
- DO NOT connect to a cylinder that uses any other type of valve connection device.
- Inspect the propane tank valve rubber seal for cracks, wear or deterioration prior to use. A damaged rubber seal can cause a gas leak, possibly resulting in an explosion, fi re or severe bodily harm.
- Turn off the cylinder valve when your grill is not in use.
- Handle the tank with care.
- Always secure the cylinder in an upright position.
- Never connect an unregulated LP gas cylinder to your grill.
- DO NOT expose LP gas cylinders to excessive heat or ignition sources.
- DO NOT store a spare LP gas cylinder under or near your grill.
- Allow only qualifi ed LP gas dealers to fi ll or repair your LP gas cylinder.
- DO NOT allow the cylinder to be fi lled beyond 80% capacity.
- Read and follow all warnings and instructions that are on the cylinder and that accompany this product.
DANGER
- DO NOT store a spare LP gas cylinder (full or empty) under or near your grill. This could cause excess pressure to be expelled through the vapor relief valve resulting in fi re, explosion, or severe personal injury, including death.
- Propane gas is heavier than air and will collect in low areas. Proper ventilation is extremely important. Keep the ventilation opening(s) of the LP gas cylinder enclosure free and clear from obstructions and debris.
- DO NOT insert any foreign objects into the cylinder valve outlet as this could damage the rubber seal. Do not use propane tank with a damaged rubber seal. A damaged rubber seal can cause a gas leak, possibly resulting in explosion, fi re, severe bodily harm, or death. Inspect rubber seal for cracks, wear or deterioration prior to use.
- Always keep cylinder (tank) in upright position during use, transit or storage.
LP gas cylinder (not supplied with this grill)
The LP (Liquid Propane) gas cylinder specifi cally designed to be used with this grill must be 12” (30.5 cm) diameter x 18” (45.7 cm) tall and have a 20 lb. (9.1 kg) capacity incorporating a Type 1 cylinder valve and an over-fi lling protection device (OPD).
This grill is designed to fi t Worthington, Manchester or SMPC brand 20 lb. (9.1 kg) cylinders. Other brand DOT cylinders may fi t this grill if the cylinder has similar dimensions of the top and bottom rings.
The installation of this appliance must be in accordance with:
All applicable local codes, or in the absence of local codes, either:
- National Fuel Gas Code ANSI Z223.1 NFPA 54
- Natural Gas and Propane Installation Code: CAN/CGA B149.1
- Natural Gas Installation Code: CAN/CGA B149.1 (Canada)
- Propane Installation Code: CAN/CGA B149.2 (Canada)
To check your local codes, see your local LP gas dealer or natural gas company. This grill was not intended to be connected to a natural gas supply line. If an external electrical source is utilized, it must be electrically grounded in accordance with local codes, or in the absence of local codes, with the National Electrical Code, ANSI/NFPA 70, or the Canadian Electrical Code, CSA 22.1.
When purchasing or exchanging a cylinder for your gas grill, it must be constructed and marked in accordance with the specifi cations for LP gas cylinders of the U.S. Department of Transportation (DOT) or the National Standard of Canada, CAN/CSA-B339 Cylinders, Spheres and Tubes for Transportation of Dangerous Goods; and Commission, as applicable; and provided with a listed over fi lling prevention device (OPD), and provided with a cylinder connection device compatible with the connection for outdoor cooking appliances.
The cylinder must also be equipped with:
- A shut-off valve terminating in a Type 1 gas cylinder valve outlet.
- A Type 1 valve that prevents gas fl ow until a positive seal is obtained.
- An arrangement for vapor withdrawal.
- A collar to protect the cylinder shut-off valve.
- A safety relief device having direct communication with the vapor space of the cylinder.
- A listed over-fi lling prevention device (OPD).
FILLING THE LP GAS CYLINDER (TANK)
WARNING
- Allow only qualifi ed licensed LP gas dealers to properly fi ll or repair your LP gas cylinder.
- New tanks should be purged prior to fi lling; inform LP gas dealer if you are using a new tank.
- DO NOT allow the cylinder to be fi lled beyond 80% capacity. Over-fi lled tanks can create a dangerous condition. Over-fi lled tanks can build-up pressure and cause the relief valve to expel propane gas vapors. The vapor is combustible and if it comes in contact with a spark source or flame an explosion causing severe burns, bodily harm, or death could occur.
- Always use a protective cylinder cap when grill is not connected to cylinder.
- If you exchange a cylinder with a qualifi ed exchange program, the new cylinder must have a Type 1 valve and an over-fi lling prevention device (OPD).
- Inspect the propane tank valve rubber seal for cracks, wear or deterioration prior to use. A damaged rubber seal can cause a gas leak, possibly resulting in an explosion, fi re or severe bodily harm.
LP GAS CYLINDER (TANK) RUBBER SEAL INSPECTION
- Inspect the propane tank valve rubber seal for cracks, wear or deterioration prior to use. A damaged rubber seal can cause a gas leak, possibly resulting in an explosion, fi re or severe bodily harm.
- Inspection should be done each time the propane tank is connected to the grill, has been refi lled, exchanged or has not been used for more than 60 days.
- Do not use a propane tank with a damaged rubber seal. Exchange the tank or have the rubber seal replaced at a qualifi ed propane fi lling station.

INSTALLING THE LP GAS CYLINDER (TANK) ONTO THE GRILL:
- Check that the cylinder valve is closed by turning the knob clockwise. Inspect cylinder valve rubber seal for cracks or deterioration. Do not use propane tank with damaged seal as a gas leak may occur.
- Place the cylinder into the tank holder in the bottom of cabinet.
- Orient the cylinder such that the valve opening faces the left side of the grill, and the hose is not kinked or damaged.
- Fully tighten the tank retention screw on the back side of grill to secure tank.

HOSE & REGULATOR SPECIFICATIONS AND INSTALLATION
WARNING
- DO NOT attempt to connect grill, as purchased for LP (propane) gas, to any other fuel supply source such as a natural gas line. For dual fuel grills that can be converted to natural gas, a Even Embers® conversion kit must be purchased and installed for use with natural gas.
- DO NOT use any other pressure regulator/hose assembly other than the one supplied with your grill. Replacement pressure regulator/hose assembly must be part No 2400-600 2400-0, which can be obtained by contacting customer service at 1-855-735-9922 or [email protected].
- DO NOT attempt to adjust or repair a regulator. The regulator is designed to operate at a maximum output pressure of 11 inches of water column (2.74 kPa).
- Ensure the tank valve is CLOSED prior to connecting the LP gas cylinder to our grill. Turn the valve knob clockwise to properly close the valve. Read and follow all instructions and warnings on the supply hose safety tags. Read and follow all warnings in this manual concerning the safe use of LP gas cylinders and the hose and regulator before connecting cylinder to grill. Read and follow all warnings on the LP cylinder.
HOSE AND REGULATOR
Your grill is equipped with a Type 1 connection device with the following features:
- The system will not allow gas fl ow from the cylinder until a positive connection to the valve has been made.
Note: The cylinder valve and all grill burner knobs must be turned OFF before any connection is made or removed. - A regulator fl ow limiting device, when activated, restricts the fl ow of gas to 10 cubic feet per hour. If the flow limiting device is activated, perform Regulator Resetting Procedure.
Note: If your grill will not get hot enough to cook, the fl ow limiting device may have been activated.
CONNECTING HOSE AND REGULATOR:
- nspect the propane tank valve rubber seal for cracks, wear or deterioration prior to use. A damaged rubber seal can cause a gas leak, possibly resulting in an explosion, fi re or severe bodily harm. Do not use a propane tank with a damaged rubber seal.

- Attach or detach regulator to the LP gas cylinder only when cylinder is at rest in tank holder.
- Check that the cylinder valve is closed by turning the knob clockwise.
- Check that the grill’s burner control knobs are in the “OFF” positions.
- Visually inspect the hose assembly prior to each use for evidence of damage, excess wear, or deterioration. If found, replace the assembly before using your grill. Only the manufacturer’s supplied replacement should be used.
- Remove the protective plastic cap from the cylinder valve.
- Check that the hose does not contain kinks, does not contact sharp edges, and does not contact surfaces that may become hot during use.
- Hold regulator and insert the brass nipple into the LP cylinder valve outlet. Ensure that the device is centered properly.
- Turn the large coupling nut clockwise by hand and tighten to a full stop. Take care not to cross thread the coupling nut onto the cylinder valve. Do not use tools to tighten connection.
Note: If you are unable to make the connection, repeat Steps 7 and 8. - Leak check all fi ttings before lighting your grill. See section on “Leak Testing” in this manual.
Note: To remove regulator from propane tank, turn off the tank valve and rotate the large coupling nut counter-clockwise and remove
REGULATOR RESETTING PROCEDURE:
If your grill will not get hot enough to cook, the fl ow limiting device may have been activated.
Mini Reset:
Turn ALL burner control knobs to “OFF”, turn off the cylinder valve. Wait one minute. Slowly turn cylinder valve ON and relight grill. If burner fl ame is higher and grill heats up properly – proceed with cooking.
Full Reset:
Turn ALL burner control knobs to “OFF”, turn off the cylinder valve. Disconnect hose and regulator from cylinder. Wait two minutes, reattach hose and regulator and perform leak test.
LEAK TESTING:
WARNING
- Never use your grill without leak testing all gas connections, hoses and propane tank. Follow the section on “Leak Testing” in this manual for proper procedures.
DANGER
To prevent fi re or explosion hazard:
- DO NOT smoke or permit ignition sources in the area while conducting a leak test.
- Perform test OUTDOORS in a well ventilated area that is protected from the wind.
- Never perform a leak test with a match or open fl ame.
- Never perform a leak test while the grill is in use or while grill is still hot.
WHEN TO PERFORM A LEAK TEST:
- After assembling your grill and before lighting for the fi rst time, even if purchased fully assembled.
- Every time the LP gas cylinder is refi lled, exchanged or if any of the gas components are disconnected or replaced.
- Any time your grill has been moved.
- At least once per year or if your grill has not been used for more than 60 days.
CHECKING FOR LEAKS:
CAUTION: Strong odors, colds, sinus congestion, etc. may prevent the detection of propane by smell. Use caution and common sense when testing for leaks.
Note: The leak test must be performed in an area that has adequate lighting in order to see if bubbles are developing and not in a windy or noisy area so larger leaks can be detected by smell or sound.
- Create a mixture of 50% water and 50% liquid dishwashing soap.
- Open the lid.
- Ensure all control knobs are set to the “OFF” position.
- Turn on the gas at the cylinder valve. Turn the cylinder valve knob counter-clockwise to full open. If you hear a rushing sound or smell gas, turn the gas off. Tighten any leaking connections. If leak is detected at connection nut and tightening does not stop leak, reinspect propane tank rubber seal.
Watch For Bub bles
- Apply the soapy water mixture to the following:
- A: Supply tank (cylinder) weld.
- B: Connection nut to tank valve.
- C: Back side of connection nut to brass nipple.
- D: Brass nipple connection into regulator.
- E: Regulator connections to gas supply hoses.
- F: Hose connection to gas manifold.
- G: The full length of gas supply hose.
- H: Tank valve to cylinder.

- Check each place listed (A–H) for growing bubbles, which indicates a leak. Large leaks may not be detected by bubbles but should produce a rushing sound or gas smell.
- Turn off gas supply at cylinder valve.
- Turn on control knobs to release gas pressure in hose.
- Turn control knobs to “OFF” position.
- Tighten any leaking connections. If leak is detected at connection nut and tightening does not stop leak, reinspect propane tank rubber seal.
- Repeat soapy water test until no leaks are detected.
- Turn off gas supply at cylinder valve until you are ready to use your grill.
- Wash off soapy residue with cold water and towel dry.
- Wait 5 minutes to allow all gas to evacuate the area before lighting grill.
WARNING: DO NOT use the grill if leaks cannot be stopped. Contact a qualified gas appliance repair service.
PRE-START CHECK LIST
DANGER
Property damage, bodily harm, severe burns, and death could result from failure to follow these safety steps. These steps should be performed after the grill has been assembled and prior to each use. DO NOT operate this grill until you have read and understand ALL of the warnings and instructions in this manual.
- Ensure that the grill is properly assembled.
- Inspect the gas supply hose for burns, chaffing, kinks, and proper routing before each use. If it is evident there is excessive abrasion or wear, or the hose is cut, it must be replaced prior to the grill being used. Replace with hose and regulator Model No. 2400-600-2400-0, which can be obtained by contacting customer service at 1-855-735-9922 or [email protected].
- Leak check all gas connections, hose and propane tank. See section on “Leak Testing”.
- Ensure that all electrical supply cords are properly grounded. Keep any electrical supply cord and the fuel supply hose away from any heated surfaces. Hose should be at least 3 inches from hot surfaces.
- Position your grill on a non-combustible level surface in a well ventilated location, a safe distance 10 ft. (3.1 m) from combustible materials, buildings and overhangs.
- Properly place the empty grease cup under the grease drain hole in the bottom of the grill to catch grease during use.
- DO NOT block ventilation areas in sides, back or cart compartment of grill.
GAS LIGHTING INSTRUCTIONS
WARNING
Read, understand and follow all warnings and instructions contained in this manual. DO NOT skip any of the warnings and instructions contained in the preceding sections of this manual.
Follow the instructions exactly.
- OPEN THE GRILL LID before attempting to light a burner so that fumes do not accumulate inside the grill. An explosion could occur if grill lid is down.
- Check that all burner control knobs and the cylinder valve are turned to the “OFF” position.
- Turn on the fuel supply by slowly rotating the cylinder valve knob counter clockwise to full open.
- DO NOT stand with head, body, or arms over the grill when lighting.
LIGHTING THE MAIN BURNERS:
- Open lid before lighting burner.
- Make sure all control knobs are in the “OFF” position.
- Select burner to be lit. Push and hold down the control knob and turn SLOWLY (2 to 3 seconds) to “HIGH”. You should hear the igniter click.
Note: Step 3 may need to be repeated 2-3 times to light grill. - If ignition does NOT occur in 5 seconds, turn control knob to “OFF”, wait 5 minutes to allow gas to dissipate and repeat lighting procedure.

- To light other burners, follow steps 3-4.
- If burner does not ignite using the igniter, see “Match Lighting the Main Burners” section.
- To turn off, turn each control knob clockwise until it locks in the “OFF” position. This does not turn off the gas fl ow from the cylinder.
Note: If burner does not light or fl ame is too low, See “Trouble Shooting” section of the owners manual.
MATCH LIGHTING THE MAIN BURNERS:
- Open lid before lighting burner.
- Make sure all control knobs are in the “OFF” position.
- Place a paper match in the end of the matchlighter. Strike the match and place through the cooking grate approximately 1/2” (1 to 2 cm) from the burner to be lit.
- Turn the burner control knob to the “HIGH” position. The burner should light within 5 seconds.
- If the burner does not light, turn the control knob to “OFF” and wait 5 minutes for gas to dissipate and repeat lighting procedure.
- Once lit, light adjacent burners by following steps 3-6.
- If the burner does not light within the fi rst few attempts of match lighting, there is a problem with the gas supply. Turn off the gas at the burner and cylinder. DO NOT attempt to operate the grill until the problem is found and corrected.

Note: If burner does not light or flame is too low, See “Trouble Shooting” section of the owners manual.
OPERATING THE GRILL
WARNING
- Read and follow all warnings and instructions contained in the preceding sections of this manual.
- Flavoring chips must be contained in a metal smoking box to contain ash and prevent fi res.
- DO NOT cover cooking grates or other components with aluminum foil, as this blocks ventilation and damage to grill or personal injury may occur.
- DO NOT leave your grill unattended while “ON” or in use.
- DO NOT move grill when in use.
- DO NOT use water on a grease fi re. Closing the lid to extinguish a grease fire is not possible. Use type BC dry chemical fi re extinguisher or smother with dirt, sand or baking soda.
- Never cook on the grill without the grease cup/tray in place.
BREAKING IN YOUR GRILL:
- In manufacturing and preserving the components of your grill, oil residue may be present on the burners and cooking surfaces of your grill.
- Before cooking on your grill for the fi rst time you should preheat it for 15 minutes on “HIGH” to burn off these residual oils.
PREHEATING THE GRILL:
- Prior to each use, it is recommended that you preheat your grill. This ensures that the grilling surfaces are at the desired temperatures to sear the food sugars when cooking. After lighting your grill, set the main burner control knobs to the “HIGH” position for 5 to 10 minutes. Close the lid during the preheat period.
CONTROLLING FLARE-UPS/GREASE FIRES:
- Flare-ups are a part of cooking meats on a gas grill. This adds to the unique fl avor of cooking on a gas grill. Use caution when opening the lid as sudden fl are-ups may occur. Excessive fl are-ups can overcook your food and cause a dangerous situation for you and your grill. Excessive fl are-ups result from the build-up of grease in your grill. If this should occur, DO NOT pour water onto the fl ames. This can cause the grease to splatter and could result in serious burns or bodily harm.
- If grease fi re occurs while lid is open, leave lid open, turn burner knobs to “OFF”, turn off LP cylinder valve. If possible, relocate food to a different section of cooking grate and allow grease to burn out or smother the fl ames with baking soda.
- If grease fi re occurs while lid is closed, leave lid closed, as a sudden burst of air may increase flames. Turn burner knobs to “OFF”, turn off LP cylinder valve. Allow grease to burn out.
- Never pour water on a grease fi re as grease may splatter/spread and could result in bodily injury or property damage.
- If grease fi re does not quickly burn out or the fi re is growing/spreading, use type BC dry chemical fire extinguisher or smother with dirt, sand or baking soda. Closing the lid to extinguish a grease fi re is not possible.
TO MINIMIZE FLARE-UPS:

- Trim excess fat from meats prior to cooking.
- Cook meats with high fat contents (chicken or pork) on Low settings or indirectly.
- Ensure that your grill is on level ground and the grease is allowed to evacuate the grill through the drain hole in the bottom and into grease cup/tray.
- Clean grill frequently to minimize grease buildup.
ROTISSERIE COOKING:
- Your grill was pre-drilled from the factory to include mounting holes for a rotisserie (sold separately).
- Read and follow all instructions provided with the rotisserie. Save instructions for future reference.
WARNING
- When using an AC current rotisserie, it must be electrically grounded in accordance with local codes, or in the absence of local codes:
- In the US: The National Electrical Code – ANSI-NFPA No. 70 – Latest Edition
- In Canada: the Canadian Electrical Code – CSA C22.1
- The Rotisserie is equipped with a three pronged plug for your protection against electrical shock. This plug should be plugged directly into a properly grounded 3 prong receptacle. Never cut or remove the grounding plug. Any extension cord must also have a 3 prong receptacle.
- All electrical supply cords should be kept away from water and any hot surfaces of the grill.
TURNING OFF THE GRILL:
- Turn off the cylinder valve.
- Turn all burner control knobs to the “OFF” position.
Note: Turn off LP cylinder fi rst to prevent gas from being left in the system under pressure.
CAUTION:
- The cylinder valve should always be in the off, or closed, position when the grill is not in use.

PROPER CARE & MAINTENANCE
WARNING: If a bristle brush is used to clean any of the cooking surfaces, ensure no loose bristles remain on the cooking surfaces prior to grilling as loose bristles may attach to food.
CLEANING INTERIOR OF GRILL:
- We recommend cleaning off food residue immediately after cooking by gently scrubbing grates with wire bristle brush and then turning burners to HIGH for approximately 5 minutes.
- Make sure coals are completely extinguished and the unit has adequately cooled before cleaning.
Clean up of the grill after each use is required.
WARNING: DO NOT leave grill unattended when grill is on. Wear oven mitts to protect from burns. - The heat from the burners will burn off most food/grease residue from grates & heat tents and turn it to an ash like substance which will fall to the bottom of the fi rebox or grease tray. After the grill cools (approximately 30 minutes) remove grates and heat tents and brush the ash and any grease out of the fi rebox. Clean and replace grease cup. Inspect the heat tents for damage or deterioration before reinstalling in the grill. (Replacements can be ordered by calling 1-855-735-9922.)
CAUTION: DO NOT allow ash residue to remain on the grease tray or fi rebox as it could block proper grease drainage of the grill.
INTERIOR OF GRILL LID:
- Smoke will accumulate inside grill lid and may fl ake onto your food. Clean the inside of the grill lid with scrub brush and baking soda/water solution. Dry thoroughly. Do not mistake this for paint. The interior of gas grill lids are not painted.
MAINTAINING EXTERIOR OF GRILL:
- To protect your grill from excessive rust, the unit must be kept clean and covered at all times when not in use.
- Painted surfaces. Wash with mild detergent or non-abrasive cleaner and warm soapy water.
- Stainless steel surfaces. To maintain your grill’s appearance, wash with mild detergent and warm soapy water and wipe dry with a soft cloth after each use. Baked-on grease deposits may require the use of an abrasive plastic cleaning pad. Use only in direction of brushed fi nish to avoid damage. Do not use abrasive pad on areas with graphics. Car wax may help protect the exterior fi nish of your grill.
- Porcelain surfaces. Because of glass-like composition, most residue can be wiped away with a solution of baking soda and water or specially formulated cleaner. Use non-abrasive scouring powder such as baking soda for stubborn stains.
- Plastic and rubber parts. Wash with warm soapy water and wipe dry. Do not use citrisol, abrasive cleaners, degreasers or a concentrated grill cleaner on plastic parts. Damage to and failure of parts can result.
RUST:
- Discoloration, rust and rust pits can occur as a result of high cooking temperatures, acidic marinades, grease fi res and exposure to coastal climates or other natural elements.
- Rust spots on the interior surface can be buffed, cleaned, then lightly coated with vegetable oil or vegetable oil spray to minimize rusting.
- Never use cleaners containing chlorine or store swimming pool supplies or chemicals in cart compartment as chlorine promotes rust.
BURNER CLEANING AND MAINTENANCE:
- Keep the appliance free and clear of combustible materials, gasoline and other flammable vapors and liquids.
- Keep the ventilation openings of the cylinder enclosure free and clear of debris.
- Visually check burner fl ames for proper operation (see pictorial in “Burner Assembly/Maintenance” under Proper Care and Maintenance). Spiders or other insects can nest in the burner causing gas blockage.
- For safe grilling and peak performance of your grill, perform these checks at least twice per year or after extended periods of storage.
- Be sure to tighten up all hardware (nuts, bolts, screws, etc.) at least twice per year.
CAUTION: Some parts may contain sharp edges. Wear protective gloves if necessary. - Remove the cooking grills, heat distribution plates, and burners from inside your grill. Use a brush with hot water and detergent to remove excess residue. NEVER use a commercial oven cleaner. Rinse completely with water. Towel dry and replace all components as described in the assembly instructions.
BURNER ASSEMBLY/MAINTENANCE:




PROPER VALVE TO BURNER ALIGNMENT Note:
Normal fl ame height is 1˝ to 2
- Although your burners are constructed of stainless steel, they may corrode as a result of the extreme heat and acids from cooking foods. Regularly inspect the burners for cracks, abnormal holes, and other signs of corrosion damage. If found, replace the burner.
- DO NOT block ventilation areas in sides, back or cart compartment of grill. Burner tubes can become blocked by spiders and other insects building their nests. Blocked burner tubes can prevent gas fl ow to the burners and could result in a burner tube fi re or fi re beneath the grill. To clean the Burner Assembly follow these instructions to clean and/or replace parts of burner assembly or if you have trouble igniting the grill.
- Turn gas off at control knobs and LP cylinder tank valve.
- Remove cooking grills and heat distribution plates.
- Remove hitch pin from each burner.
- Carefully lift each burner up and away from valve openings.
- Use a narrow bottle brush or a stiff wire bent into a small hook to run through each burner tube or use compressed air to blow into burner tube and out the fl ame ports. Check each port to make sure air comes out each hole.
CAUTION: Wear eye protection when using compressed air. - Use a wire brush to clean the entire outer surface of burner to remove food residue and dirt.
- Check burner for damage, if any cracks or holes are found replace burner.
- Install burner in grill, orient burners CORRECTLY.
IMPORTANT: Burner opening must slide over valve nozzle. - Replace hitch pins on each burner.
Note: Follow the “Gas Leak Testing” section of thismanual. Relight burners to verify proper operation. - Replace heat distribution plates and cooking grills.
TRANSPORTING AND STORAGE
- Never move a grill when hot or in use.
- Make sure that cylinder valve is closed and burner knobs are in the off position.
- DO NOT store a spare LP gas cylinder (fi lled or empty) under or near the grill.
- Never store fl ammable liquids or spray canisters under or near the grill.
- If the outdoor cooking gas appliance is not in use, the gas must be turned off at the LP gas supply cylinder.
- Storage of an outdoor cooking gas appliance indoors is permissible only if the cylinder is disconnected and removed from the outdoor cooking gas appliance.
- Cylinders must not be stored in a building or enclosure, including garages and sheds.
- Cylinders must be kept out of reach of children.
BEFORE STORING YOUR GRILL:
- Ensure that the cylinder valve is fully closed.
- Clean all surfaces. Lightly coat the burners with cooking oil to prevent excess rusting.
- If storing the grill indoors, disconnect the LP tank and leave the LP tank OUTDOORS.
- Place dust cap on cylinder valve outlet whenever the cylinder is not in use. Only install the type of dust cap on the cylinder valve outlet that is provided with the cylinder valve. Other types of caps or plugs may result in leakage of propane.
- Check and clean burner prior to use after storing, at the beginning of grilling season or after a period of not being used. Spiders and insects like to build nests in burner tubes (especially during colder months). Blocked burner tubes can prevent gas fl ow to the burners and could result in a burner tube fire or fi re beneath the grill. See “Burner Assembly/Maintenance” under Proper Care and Maintenance.
- If storing the grill outdoors, cover the grill with a grill cover for protection from the weather.
TROUBLE SHOOTING
| Problem | Possible Cause | Prevention/Cure |
| Burner will not light | LP gas tank valve is closed | Make sure regulator is securely attached to the LP gas tank, turn LP gas tank valve to “OPEN” |
| LP gas tank is low or empty | Check if LP gas tank is empty. If empty, replace or refill. | |
| LP gas leak |
| |
| Coupling nut and regulator not fully connected | See section on “Connecting Hose and Regulator” | |
| Obstruction of gas flow |
| |
| Burner may not be properly seated | Reseat burner and valve. Refer to “Burner Assembly/Maintenance” instructions | |
| Spider webs or insect nest in venturi | Clean venturi and burner assembly | |
| Burner ports clogged or blocked | Clean burner ports | |
| Battery needs to be changed | Replace the battery (follow assembly step for inserting battery) | |
| Wires or electrode covered with cooking residue | Clean wire and/or electrode with rubbing alcohol | |
| Electrode and burners are wet | Wipe dry with cloth | |
| Electrode cracked or broken – sparks at crack | Replace electrode | |
| Wire loose or disconnected | Reconnect wire or replace electrode/wire assembly | |
| Wire is shorting (sparking) between ignitor and electrode | Replace ignitor wire/electrode assembly | |
| Bad ignitor | Replace ignitor | |
| Grill does not get hot enough | Out of gas | Replace or refill LP gas tank |
| Flow limiting device may have been activated |
| |
| Irregular flame pattern. Flame does not run full length of burner | Burner ports are clogged or blocked Air shutter on burner needs adjustment | Clean burner ports See section on “Burner Adjustment” |
| Flame is yellow or orange | New burner may have residual manufacturing oils | Burn grill for 15 minutes on “HIGH” with the lid closed |
| Spider webs or insect nest in venturi | Clean venturi and burner assembly | |
| Food residue, grease, etc. | Clean burner assembly | |
| Poor alignment of valve to burner venturi Air shutter on burner needs adjustment | Make sure burner venturi is properly engaged with valve See section on “Burner Adjustment” | |
| Flame blows out | High or gusting winds | Do not use grill in high winds |
| Low on LP gas | Replace or refill LP gas tank | |
| Burner holes may be obstructed | Refer to “Burner Assembly/Maintenance” instructions | |
| Flow limiting device tripped | Refer to “Regulator Resetting Procedure” | |
| Flare-up | Grease buildup | Clean all grill parts per “Proper Care and Maintenance” instructions |
| Excess fat in meat | Trim fat from meat before grilling | |
| Excessive cooking temperature | Adjust (lower) cooking temperature | |
| Grease fire | Grease trapped by food buildup around burner system |
|
| Flashback (fire in burner tubes) / knobs melting | Burner and/or burner tubes are blocked | Clean burners and/or burner assembly |
| Inside of lid is peeling (like paint peeling) | Baked on grease buildup has turned into carbon and is flaking off | Clean thoroughly per “Proper Care and Maintenance” instructions |
GRILL COOKING TIPS
CLEANLINESS:
- Always wash hands thoroughly with soap and hot water prior to handling food and after handling raw meat, uncooked poultry or seafood.
- When using a platter to carry raw meat, uncooked poultry or seafood to the grill, make sure to wash the platter thoroughly with soap and hot water before placing cooked foods back on the platter or use different platters for raw and cooked foods.
- Never use the same utensils when handling raw meat, uncooked poultry or seafood unless you wash the utensils thoroughly with soap and hot water.
- Never re-use marinade from raw meat or uncooked poultry on foods that have been cooked and are ready to be served.
GRILLING TO PROPER TEMPERATURE:
- Use a meat thermometer to be sure food has reached a safe internal temperature.
- The USDA recommends the minimum temperature be reached for the following food items:
- Chops: 145° F (62.8° C)
- Ground Meat: 160° F (71° C)
- Pork: 145° F (62.8° C)
- Poultry: 165° F (73.9° C)
- Roasts: 145° F (62.8° C)
- Seafood: 145° F (62.8° C)
- Vegetables: 145° F (62.8° C)
HELPFUL HINTS:
- If you pre-cook meat or poultry, do so immediately before grilling.
- Never defrost meat at room temperature or on a countertop.
- Refrigerate leftovers within 2 hours of taking food off the grill.
- For additional information, please phone the USDA’s toll free Meat & Poultry Hotline at 800-535-4555.
ASSEMBLY INSTRUCTIONS
READ ALL SAFETY WARNINGS & ASSEMBLY INSTRUCTIONS CAREFULLY BEFORE ASSEMBLING OR OPERATING YOUR GRILL.
WE RECOMMEND TWO PEOPLE WORK TOGETHER WHEN AS SEM BLING THIS UNIT
The following tools are required to assemble this Even Embers® 4 Burner Gas Grill:
- Phillips Screwdriver
PARTS LIST:
- 1 Left Side Table.
- 1 Grill Body Assembly.
- 1 Right Side Table.
- 1 Warming Rack.
- 3 Porcelain-coated Cast Iron Cooking Grates.
- 4 Stainless Steel Heat Tents.
- 1 Temperature Gauge.
- 1 Bezel.
- 1 Left Side Cart Brace.
- 1 Front Cart Panel.
- 1 Right Side Cart Brace.
- 1 Left Rear Foot.
- 1 Left Front Foot.
- 1 Grease Tray Handle.
- 1 Grease Tray.
- 1 Grease Cup.
- 2 Wheels.
- 3 Accessory Hooks.
- 1 Rear Cart Brace.
- 1 Tank Holder.
- 2 Wheel Pins with Cotter Pins and Washers.
Note: Most hardware is pre-attached to the grill. You may need to loosen some screws partially while others may need to be removed in order to assemble parts. The screws that you remove will be re-used so don’t misplace this hardware.
Extra screws are included in a small bag with the owners manual.


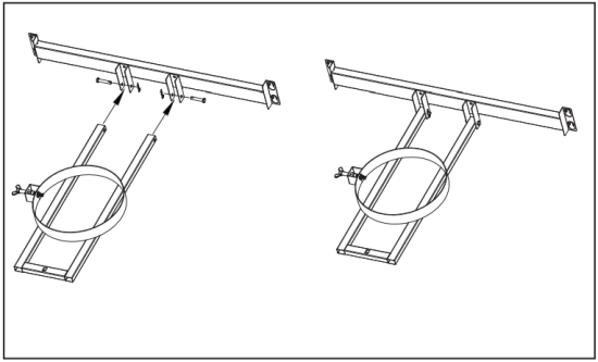
- Loosen screws on front cart panel 10 and install left side cart brace 9 and right side cart brace 11.

- Attach tank holder 20 to rear cart brace 19 using pins and cotter pins.

- Loosen screws on rear legs and install rear cart brace 19.

- Install wing nut and washer.




- nstall termperature gauge 7 and bezel 8 on hood using preattached wing nut and washer.

- Set grill body assembly 2 onto cart.

- Loosen screws on front cart brackets. Rotate front cart brackets upward and tighten screws.


- Remove scews on back of grill body assembly and loosen two screws on rear cart brackets. Slide brackets up and tighten screws.


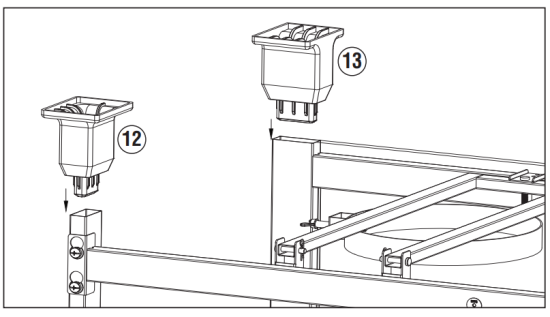
- Install three accessory hooks 18 on left side table 1.

- Remove two top screws and washers on left side table 1. Loosen two screws. Attach side table over keyholes. Tighten screws.

- Insert two screws and washers. Tighten screws. (removed from Step 12).

- Remove two top screws and washers on right side table 3. Loosen two screws. Attach side table over keyholes. Tighten screws.

- Insert two screws and washers. Tighten screws. (removed from Step 14)

- Remove two screws from grease tray handle. Move grease tray handle to outside of grease tray and secure with screws.


- Attach hose clip using screw.



WARRANTY
The Boltz Group warrants to the original pur chas er that the Even Embers® 4 Burner Gas Grill is free from defects due to workmanship or materials for:
Five-year: on stainless steel tube burners
Three-year: on all other stainless steel parts
One-year: on valves, frame, housing, cart, igniter, cooking grates and other related parts.
The Boltz Group’s obligations under this warranty are limited to the following guidelines:
- This warranty does not cover grills that have been altered/modified or damaged due to: normal wear, rust, abuse, improper maintenance and/or improper use.
- This warranty does not cover surface scratches, rust or heat damage to the finish, which is considered normal wear.
- The Boltz Group may elect to repair or replace damaged units covered by the terms of this warranty.
The Boltz Group requires reasonable proof of purchase. Therefore, we strongly recommend that you retain your sales receipt or invoice. To obtain replacement parts for your Even Embers® 4 Burner Gas Grill under the terms of this warranty, please call Customer Service Department at 1-855- 735-9922. A receipt will be required. The Boltz Group will not be responsible for any grills forwarded to us without prior authorization. EXCEPT AS ABOVE STATED, THE BOLTZ GROUP MAKES NO OTHER EXPRESS WARRANTY.
THE IMPLIED WARRANTIES OF MERCHANTABILITY AND FITNESS FOR A PARTICULAR PURPOSE ARE LIMITED IN DURATION TO THOSE LISTED ABOVE FROM THE DATE OF PURCHASE. SOME STATES DO NOT ALLOW LIMITATIONS ON HOW LONG AN IMPLIED WARRANTY LASTS, SO THE ABOVE LIMITATION MAY NOT APPLY TO YOU.
ANY LIABILITY FOR INDIRECT, INCIDENTAL OR CONSEQUENTIAL DAMAGES ARISING FROM THE FAILURE OF THE EVEN EMBERS® 4 BURNER GAS GRILL TO COMPLY WITH THIS WARRANTY OR ANY IMPLIED WARRANTY IS EXCLUDED. CUSTOMER ACKNOWLEDGES THAT THE PURCHASE PRICE CHARGED IS BASED UPON THE LIMITATIONS CONTAINED IN THE WARRANTY SET OUT ABOVE. SOME STATES DO NOT ALLOW THE EXCLUSION OR LIMITATION OF INCIDENTAL OR CONSEQUENTIAL DAMAGES, SO THE ABOVE LIMITATION OR EXCLUSION MAY NOT APPLY TO YOU. THIS WARRANTY GIVES YOU SPECIFIC LEGAL RIGHTS, AND YOU MAY ALSO HAVE OTHER RIGHTS WHICH VARY FROM STATE TO STATE.
Customer Support
©2021 The Boltz Group LLC.
Carrollton, Texas 75006 U.S.A.
www.evenembers.com
![]()











































