ARM-0267 Lockable Wall Mount
User Manual





- Read the entire instruction manual before you start installation and assembly. If you have any questions regarding any of the instructions or warnings, please contact your retailer for assistance.
- Caution: Usage together with products heavier than the rated weight may result in instability which can cause possible injury.
- Wall mounts must be attached as specified in assembly instructions. Improper installation may result in serious injury.
- Safety gear and proper tools must be used. This product should only be installed by a qualified person.
- Make sure that the supporting surface will safely support the combined weight of the equipment and all attached hardware and components.
- This product is designed to be installed on wooden stud walls, solid concrete walls, or brick walls.
- Use the mounting screws provided and do not over-tighten the mounting screws.
- This product contains small items that could be a choking hazard if swallowed. Keep these items away from children.
- This product is intended for indoor use only. Using this product outdoors could lead to product failure and personal injury.
- Important: Ensure that you have received all parts according to the component checklist prior to installation.
If any parts are missing or faulty, contact Delta or the retailer where you purchased the product. - Caution: Do not exceed the marked max weight. Serious injury or property damage may occur!
- Check that the wall mount is secure and safe to use, at regular intervals (at least every three months).
weDeltaco AB, Glasfibergatan 8, 125 45 Älvsjö, Sweden





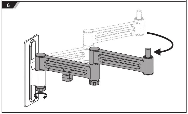
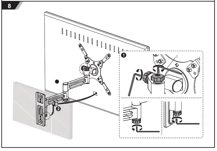
Lock or unlock: After you have set the position of the wall mount, tighten the knobs with a hex key to lock it in place.
To unlock, loosen the knobs until you can move the wall mount.







