soundmaster ICD2020 Internet Radio CD Player User Manual
WARNING
Risk of electric shock Do not open!
Caution: To reduce the risk of electric shock, do not remove the cover (or back). There are no user serviceable parts inside.
Refer servicing to qualified service personnel
This symbol indicates the presence of dangerous voltage inside the enclosure, sufficient enough to cause electric shock.
This symbol indicates the presence of important operating and maintenance instructions for the device.
Used batteries are hazardous waste and NOT to be disposed of with the household waste! As a consumer you are legally obligated to return all batteries for environmentally responsible recycling no matter whether or not the batteries contain harmful substances*)
Return batteries free of charge to public collection points in your community or shops selling batteries of the respective kind.
Only return fully discharged batteries marked Cd = cadmium, Hg = mercury, Pb = lead
- Only use mercury and cadmium-free batteries.
- Used batteries are hazardous waste and NOT to be disposed of with the household waste!!!
- Keep batteries away from children. Children might swallow batteries.
- Contact a physician immediately if a battery was swallowed.
- Check your batteries regularly to avoid battery leakage.
- Batteries shall not be exposed to excessive heat such as sunshine, fire or the like.
- CAUTION: Danger of explosion if battery is incorrectly replaced
- Replace only with the same or equivalent type
CAUTION – INVISIBLE LASER
RADIATION WHEN OPENING THE COVER OR PRESSING THE SAFETY INTERLOCK. AVOID EXPOSURE TO THE LASER BEAM.
To prevent possible hearing damage, do not listen at high volume levels for long periods
- Use the device in dry indoor environments only.
- Protect the device from humidity.
- This apparatus is for moderate climates areas use, not suitable for use in tropical climates countries. Safety, Environmental and Setup Instructions
- No objects filled with liquids, such as vases, shall be placed on the apparatus.
- The mains plug or an appliance coupler is used as the disconnect device, the disconnect devices shall remain readily operable.
- Connect this device to a properly installed and earthed wall outlet only. Make sure the mains voltage corresponds with the specifications on the rating plate.
- Make sure the mains cable stays dry during operation. Do not pinch or damage the mains cable in any way.
- A damaged mains cable or plug must immediately be replaced by an authorized service center.
- In case of lightning, immediately disconnect the device from the mains supply.
- Children should be supervised by parents when using the device.
- Clean the device with a dry cloth only.
- Do NOT use CLEANING AGENTS or ABRASIVE CLOTHS!
- Do not expose the device to direct sunlight or other heat sources.
- Install the device at a location with sufficient ventilation in order to prevent heat accumulation.
- Do not cover the ventilation openings!
- Install the device at a safe and vibration-free location.
- Install the device as far away as possible from computers and microwave units; otherwise radio reception may be disturbed.
- Do not open or repair the enclosure. It is not safe to do so and will void your warranty. Repairs only by authorized service/ customer center.
- No naked flame sources, such as lighted candles, should be placed on the unit.
- When you are necessary to ship the unit store it in its original package. Save the package for this purpose.
- In case of malfunction due to electrostatic discharge or fast transient (burst), remove and reconnect the power supply.
- If the unit is not using for a long period of time, disconnect it from the power supply by unplugging the power plug. This is to avoid the risk of fire.
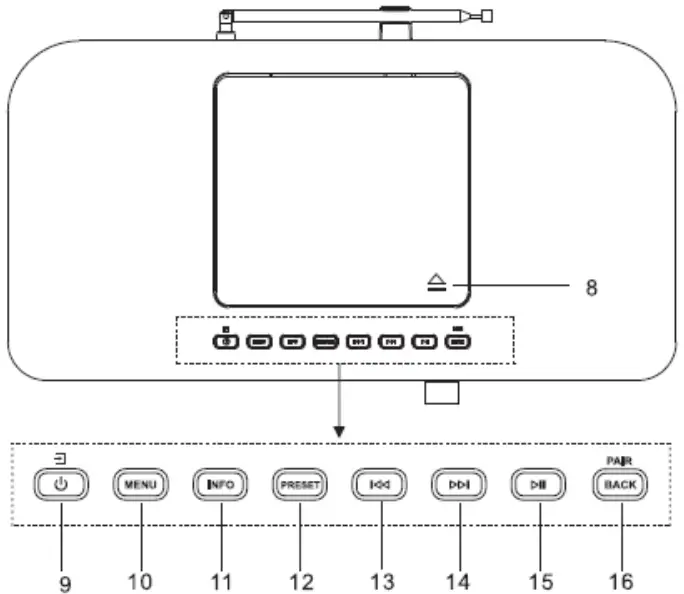
LOCATIONS OF CONTROLS
FRONT VIEW
TOP VIEW
- USB /5V 1A output
- Connect to a USB device for music playback
- connect to recharge mobile device
- Headphone socket
- Display
- /6/7 OK
- Press to select or skip selection
VOL+/VOL- - Rotate to increase or decrease the volume level
NAVIGATE - Rotate to move down or move up on the menu screen
- Press to select or skip selection
- Remote sensor

- Press to open the CD-door

- Press and hold for power on and power off
- Press to change the source 10 MENU
- Press to display the Menu
- INFO
- Press to show the information in CD/USB/DAB/FM and Internet radio mode
- PRESET
- Press to display preset station list in DAB/FM/Internet Radio mode

* Press to select previous track in CD/
USB/FM/Internet Radio mode
Press to select next track in CD/USB/ DAB/FM, Internet radio
Press to play and pause in CD, USB and BT- PAIR/BACK
- Press and hold to activate the pairing function in BT or disconnect the existing paired BT device
- Press to return previous menu.
- DC IN
- AUX IN
BACK VIEW
REMOTE CONTROL


- Turn the unit ON or in STANDBY mode
- INTRO/AMS
- Press to start browsing of all tracks in CD
- Press to automatically search for channel in
DAB and FM; when in searching, press again can stop it.
- REPEAT
- Press to select a repeat playback mode in CD
- EQ
- Press to select sound characteristics:
Normal/Jazz/Rock/Classic/Pop/My EQ
- Press to select sound characteristics:
- BASS+/-
- Press to adjust the BASS in USER mode
- USER
- Press to allow you to adjust the Bass and Treble in USER mode
- MENU
- Press to display the Menu

- Press to move up on the menu screen

- Press and hold for fast backward in CD and USB
- Press to select previous track in CD and USB
- Press to display the channel list in DAB, FM and internet radio
- Press for fine tuning in FM
- Press and hold for manual tuning in FM
- Press to stop playing in CD/USB mode
- P+/-
- Press to skip the beginning of current/previous/subsequent album
- Press to select previous/next preset channel in FM and DAB
- 0-9 numeric
- INFO
- Press to show the information in
CD/USB/DAB/FM and Internet radio mode
- Press to show the information in
- RADIO/
- Press to select the internet radio
- SLEEP
- Press to set sleep timer
- CD/USB/DAB/FM/BT/AUDIO
- Press to select the corresponding AUDIO source.
( CD/USB/DAB/FM/BT/AUDIO)
- Press to select the corresponding AUDIO source.
- RANDOM
- Press to play tracks randomly in CD
- TREBLE+/-
- Press to adjust the TREBLE in USER mode
- PROGRAM
- Press to program in CD and preset channel in DAB, FM and internet radio
- Long press to save preset channels
- PAIR
- Press to return to previous menu
- Press and hold to activate the pairing function in BT or disconnect the existing paired BT device
/OK- Press to play/pause in BT/CD/USB and internet radio
- To select or skip to subsequent menu in BT/CD/USB and internet radio

- Press and hold for fast forward in CD and USB
- Press to select the next track in CD and USB
- Press to display channel list in DAB/FM and internet radio
- Press for fine tuning in FM
- Press and hold for manual tuning in FM

- Press to move down on the menu screen

- Press to mute or resume the sound
- CLOCK
- Press and hold to set clock
- V+/-
- Press to increase/ decrease the volume level
- TIMER
- Press to set the Timer
- DIM
- Press to select different levels of brightness for the display screen
OPERATION YOUR REMOTE CONTROL
- Press and slide the back cover to open the battery compartment of the remote control.
- Insert two AAA size batteries. Make sure the (+) and (-) ends of the batteries match the (+) and (-) ends indicated in the battery compartment.
- Close the battery compartment cover
GETTING STARTED / SET UP
Connect the unit to a suitable power source using the power supply provided. After showing a starting screen, it will enter the last used listening mode. When the unit is started for the first time, the setup wizard will be launched automatically.
GET THE NETWORK ENVIRONMENT READY
Make sure you have setup the wireless network and you have the WEP, WPA or WPA2 security password to activate the connection.
You may also use the WPS (WiFi Protected Setup) function for easy pairing between the network device and ICD2020. Check if the light indicators on the network device are in appropriate status.
Under the main menu, you can select the following modes:
Internet Radio, Spotify, Media player (USB), DAB, FM, Bluetooth®, CD, AUX-In, Sleep and Alarm.
SYSTEM SETTINGS
At the first time operation, system asks if you want to start the Setup Wizard. The Setup wizard guides you through the basic setup parameters for Time/Date and Network connection. To change any settings later all setting functions are accessible from the Settings Menu.
Note: If the setup wizard is terminated prematurely without a network setup, the device generates its own WiFi access so that the device can be configured using the UNDOK APP
Network connection indicator:
= Network connection established.
= Network connection not established.
- Language
Select English/Finnish/French/Italian/Danish/Dutch/German/Norwegian
Polish/Portuguese/Spanish/Swedish/Turkish as menu language - Time/Date Display format
Select 12 or 24 as the time format. - Auto update
The time and date can be updated manually or automatically from DAB, FM or network. Auto update works with data sent over DAB, FM or the Internet. The clock is only updated when it is in a corresponding mode, so it is suggested to select a mode you use regularly.
DAB and FM use time signals broadcast with radio transmissions. Network uses a time signal sent from the Internet radio portal when in any network connected mode. - Time zone/daylight
Set your time zone. If your country uses daylight saving and it is in effect, turn on the Daylight saving option. (only available when Auto update from Internet is selected) - Manual update
If you set No update, the wizard prompts you to set the time and date manually. The date and time are displayed as dd-mm-yyyy and hh:mm.
The active value appears as flashing. Adjust each value with the “NAVIGATE” knob.
Once the value is set, press the knob to continue setting with next value. - Network
Keep Network connected
Select this option when the unit should the network connection in standby keep, when the function is confirmed, the unit wills faster connecting the internet and it is possible to switch on the unit with the “UNDOK” app.
Note: The standby power consumption is slightly increased with this function.
WLAN region
Select the WLAN region to obtain the optimal WLAN connectivity: Europe.
Scanning for the network
ICD2020 is compatible with all common network protocols and encryption methods. It searches for the available networks and list them out for you.
There will be hints for the type of network – if your network devices support WPS function, it will be [WPS] before the SSID (the name of the network device). Select the one you want to connect.
For the wireless connection, you will be asked for input the encryption in the next step. To enter the network’s key, use the “NAVIGATE” knob to move the cursor through the characters and press “OK” to confirm. As each character is selected, the key is built up near the top of the display.
There are three options accessible by tuning the navigate reel back before the first characters – Backspace, OK and Cancel.
WPS encrypted network
WPS encrypted networks are identified by WPS at the start of the network name when the ICD2020 searches the available AP. Use one of the following methods of connection:
There is the shortcut WPS key on the unit.
Push button
ICD2020 prompts you to press the connect button on the router. It then scans for a ready Push Button Connect network and connects.
Pin
ICD2020 generates an 8-digit code number which you enter into the wireless router, access point, or an external registrar.
Skip WPS
Enter key as for a standard encrypted network.
For more information on setting up a WPS encrypted network, see your WPS router’s instructions.
Completion
ICD2020 attempts to connect to the selected network.
It will show connected if the setup is successful. If connecting fails,
ICD2020 returns to a previous screen to try again.
Press “OK” to quit the setup wizard.
EQUALISER
Several preset EQ modes are available: Normal, Jazz, Rock, Classic, Pop and My EQ.
In the My EQ settings, you can create your own EQ with custom bass and treble settings.
NETWORK
- Network wizard
Enter to search AP SSID, then input the WEP / WPA key or choose Push Button/Pin/Skip WPS to connect to the wireless network. - PBC Wlan setup
Push Button Configuration, it is to connect the AP that supports WPS (Wi-Fi Protected Setup). - View settings
View the information of current connected network: Active connection, MAC address, Wlan region, DHCP, SSID, IP address, Subnet mask, Gateway address, Primary DNS and Secondary DNS. - WLAN region
Select the WLAN region to obtain the optimal WLAN connectivity: Europe or Australia. - Manual settings
Choose wireless network connection and enable or disable DHCP (Dynamic Host Configuration Protocol). - Network profile
ICD2020 remembers the last four wireless networks it has connected to, and automatically tries to connect to whichever one of them it can find. From here you can see the list of registered networks. You can delete unwanted networks by turning and pressing then choosing YES to confirm delete. - Keep network connected
If you choose to keep network connected, the WiFi will not disconnect even you are in standby mode. Otherwise, the connection will only available in internet radio and music player modes. This option allows ICD2020 to be ready for DLNA streaming in any operating modes.
When Keep network connected is selected the standby power consumption is raised.
TIME/DATE
Set the time manually or automatically update, time format, time zone and daylight.
BRIGHTNESS
You may change the backlight of each environment (Normal or standby) to High, Medium High, Medium, Medium Low, Low or Off
LANGUAGE
Change it as your preference.
SOFTWARE UPDATE
From time to time, software upgrades may be created with bug fixes and/or additional features.
You can either check manually or set ICD2020 to check periodically automatically (this is the default). If newer available software is detected, you will be asked if you want to go ahead with an update. If you agree, the new software is then downloaded and installed. After a software upgrade, all user settings are maintained.
NOTE: Before starting a software upgrade, ensure that ICD2020 is plugged into a stable main power connection. Disconnecting power during an upgrade may permanently damage the unit.
INFO
View the firmware version and the radio ID.
INTERNET RADIO
ICD2020 can play thousands of radio stations and podcasts from around the world though a broadband Internet connection.
When you select Internet radio, ICD2020 directly contacts the Frontier Silicon Internet radio portal (which is supported by Airable) to get a list of stations.
The portal also enables multiple lists of favorite stations that you can personalize. If you are already listening to an Internet radio station, you can press “BACK” button to quickly return to the last visited branch of the menu tree, rather than “MENU” to go to the first menu of Internet radio mode.
- Last listened
When Internet radio mode restarts, the last-listened station is selected. To select another recently used station, enter here to select the listed station. Most recent stations appear at the top of the list.
- Station list
Browse Internet broadcasts that organized into different categories, Location, Genre, Popular and New. You can also find the station with Search by keyword.
- Favorites
Favorites are stored with the Internet radio portal, and are available through all Internet radios registered on the same account. Before favorites can be used, the radio has to be registered with the Internet radio portal. - My added stations
Even though the Internet radio portal contains thousands of stations, you may want to listen to stations not listed. You can add your own via the portal.
To register your ICD2020, choose Station list > Help > Get access code to get your radio’s unique portal access code first. (Do not confuse the portal access code with the Radio ID from System settings.
Visit the portal website at http://nouvola.link/sr
If this is your first visit to the portal, register for a new account, entering the following information:
- access code,
- your e-mail address,
- password,
- radio model.
If you already have an account and wish to add an additional radio, log in to your account and select My preferences > Add another Wi-Fi radio.
Once your radio is registered with the portal, you can immediately use the Internet radio favourites and added stations features.
Presets
To store an Internet radio preset, press and hold the “PROGRAM” key on Remote Control until the display shows the “Save preset” screen. Select one of the 20 presets to save the current station and press “OK” to confirm.
To select a preset, press briefly the “PRESET” button or “PROGRAM” on Remote Control, then select one of the listed preset stations and press “OK” to confirm. Or press 0 to 9 on the Remote Control to directly recall the presets.
Now playing information
While the stream is playing, the screen shows its name and description. To view further information, press “INFO” button on the radio or Remote Control. Each time you press “INFO” button, another set of information is displayed, cycle through name/description, genre/location, reliability, codec/sampling rate, playback buffer and today’s date.
SPOTIFY
Use your phone, tablet or computer as a remote control for Spotify.
Go to spotify.com/connect to learn how
The Spotify Software is subject to third party licenses found here:
https://www.spotify.com/connect/third-party-licenses
MEDIA PLAYER
Music player mode plays audio files in MP3, WMA, WAV, AAC, FLAC or ALAC format from a computer on the local network. If you are already playing a music file, you can press “BACK” button on the radio to quickly return to the last visited branch of the menu tree.
You can use “
” button or “
” button to play the previous or the next track.
Shared media
If you have set up shared media, you should see an entry consisting of : . If you have more than one computer sharing media, the alternatives are listed. Select the shared media you want to play.
From this point on, the menus are generated from the shared media server. The first menu shows a list of media types, for example Music, Video, Pictures and Playlists. ICD2020 can only play music and playlists.
There is also a search function which finds tracks in a similar way to Internet radio search.
From Music, there are numerous ways of selecting tracks including Genre, Artist, Album, Composer and Rating. Once you have found a track you want to play, press the “NAVIGATE” knob.
A short press plays the track immediately.
Prune Server
From time to time, it is maybe necessary to remove server displaying question marks in front of the server name from the server list. For example, if the device is moved to a new network or if a Wake-on-line is removed from your current network.
To perform this function: go to menu by using the Menu button > Prune servers > and select Yes.
USB playback
From this point on, menus are generated from the folders on the USB device. Browse folders with the “NAVIGATE” knob and “BACK” button, or by using the UNDOK app. The display shows folder and file
names (not necessarily track names).
Once you have found a track you want to play, press the “NAVIGATE” knob on the device or click on the song title in UNDOK app.
Repeat / Shuffle
Allow you to repeat tracks or play them in random order.
Now playing information
While a track is playing, the screen shows its track and artist (UPnP). There is also a progress bar with figures for elapsed and total track time. At the bottom of the screen, an icon indicates UPnP depending on the source. To view further information, press “INFO” button.
Each time you press “INFO” button, another set of information is displayed, cycling through the information: track/artist/progress bar/track times, album, codec/sampling rate, playback buffer and today’s date
DMR (DLNA Streaming)
Shared music is a way of music streaming which you look for the music list and control playback from ICD2020. This topic will introduce another way to do the music streaming which is not necessary to control playback on ICD2020.
You can share the music files from PC, Android mobile or tablet, and directly use your PC,
Android mobile, tablet or iPhone / iPad to control music playback on the ICD2020. It is simple called DLNA streaming.
Control on PC
The PC system requirements for DLNA are Windows 7 or above, together with Windows Media Player 12. Setup as
below:
Firstly, share the media on your PC to ICD2020.
Control Panel > Network and Internet > Network and Sharing Center > Media streaming options
Open Windows Media Player to enable Allow remote control of my Player.
Right click any music in the library and choose Play to ICD2020. Then a box of music playback pops up for the
streaming.
Then a box of music playback pops up for the streaming.
Control on Smartphone / Tablet
You may search (with keyword: DLNA) and install any free or commercial DLNA Apps from Google Play or Apple Store if you are using Android mobile, tablet or iPhone / iPad.
It is suggested to use iMediaShare on Android mobile, tablet or iPhone/iPad.
Procedures for playing shared music on the app are as follows:
- Select ICD2020 as the player.
- Select music server and choose the music.

NOTE: Some Apps may not support streaming music from iPhone/iPod but iPhone/iPod could still be used to control streaming music from other servers.
Some Apps may allow to play the music to multi players at the same time.
Some Apps can create a playlist if you choose several music.
Study the own instruction of the software or Apps you use to enjoy DLNA streaming if necessary.
DAB
DAB mode receives DAB or DAB plus digital radio signal and displays information about the station, streaming audio and the program details.
Scanning for stations
The first time you select DAB radio mode, or if the station list is empty, ICD2020 automatically performs a full scan to see what stations are available. You may also need to start a scan manually to update the list of stations for one of the following reasons:
- Available stations change from time to time.
- If reception was not good for the original scan, this may result in an empty or incomplete list of available stations.
- If you have poor reception of some stations (burbling), you may wish to list only stations with good signal strength.
To start a scan manually, choose Full scan. To scan only stations with good signal strength, select Local scan.
Once the scan is complete, the radio shows a list of available stations.
To remove stations that are listed but not unavailable, choose Prune invalid.
Press the “BACK” button to view a list of stations and press “OK” to select. Once selected, the station plays and the screen shows information about station, track or show as broadcast.
Presets
To store an Internet radio preset, press and hold the “PROGRAM” on Remote Control until the display shows the “Save preset” screen. Select one of the 40 presets to save the current station and press “OK” to confirm. Or press 0 to 9 on the Remote Control to store the current playing station into the preset directly.
To select a preset, press briefly the “PRESET” button on the unit or “PROGRAM” on Remote Control , then select one of the listed preset stations and press “OK” to confirm. Or press 0 to 9 on the Remote Control to directly recall the presets.
Now playing information
While the stream is playing, the screen shows its name and DLS (Dynamic Label Segment) information broadcast by the station giving real-time information such as program name, track title and contact details. Stereo broadcasts are indicated with an icon at the bottom of the screen. To view further information, press “INFO” button on the radio.
Each time you press “INFO” button on the radio, another set of information is displayed, cycling through DLS text, program type, ensemble name/frequency, signal strength/error rate, bite rate/codec/channels and today’s date.
SETTINGS
Dynamic range compression (DRC)
If you are listening to music with a high dynamic range in a noisy environment, you may wish to compress the audio dynamic range. This makes quiet sounds louder, and loud sounds quieter. You can change DRC as off, low or high.
Station order
You can choose the order of the DAB station list to be either Alphanumeric, Ensemble or Valid.
Ensemble lists groups of stations that are broadcast together on the same ensemble. Valid lists valid stations first, alphanumerically, then off-air stations.
FM
FM radio mode receives analogue radio from the FM band and displays RDS (Radio Data System) information about the station and where broadcast.
To full scan, press “INTRO” remote key. The frequency display starts to run and scans the FM full band.
To manual scan, press and hold “
” or “
” button on panel or “P+” or “P-“ remote key. The frequency display starts to run and scans the FM band and stops at the next station.
To fine tune press the “
“ or “
” remote key. The unit search in 0.05 MHz steps.
Preset
To store an Internet radio preset, press and hold the “PROGRAM” button on Remote Control until the display shows the “Save preset” screen. Select one of the 40 presets to save the current station and press “OK” to confirm. Or press 0 to 9 on the Remote Control to store the current playing station into the preset directly.
To select a preset, press briefly the “PRESET” button or “PROGRAM” button on Remote, then select one of the listed preset stations and press “OK” to confirm. Or press 0 to 9 on the Remote Control to directly recall the presets.
Now playing information
While the stream is playing, the screen shows its frequency, or if RDS signal is available, station name and any further RDS information such as program name, title and other details. Stereo broadcasts are indicated with an icon at the bottom of the screen. To view further information, press Info button on the radio.
Each time you press “INFO” button on the radio, another set of information is displayed, cycling through Radio text, program type, frequency and today’s date.
SETTINGS
- Scan settings
Choose FM at first, it will go to a specific station playing. Then press “MENU” on the radio to get above table.
By default, FM scans stop at any available station. This may result in a poor signal-to-noise ratio (hiss) from weak stations. To change the scan settings to stop only at stations with good signal strength, select “Yes” after choosing Strong station only. - Audio settings
All stereo stations are reproduced in stereo. For weak stations, this may result in a poor signalto-noise ratio (hiss). To play weak stations in mono, select FM weak reception: Listen in mono only and then YES.
BLUETOOTH®
When you select the Bluetooth mode, the device is entering to pairing and the BT icon at the bottom of the screen will flash.
Turn on your smartphone, tablet or other Bluetooth devices to search for the device.
The Bluetooth pairing name is “ICD2020”.
When pairing is successful, the Bluetooth indicator will light up and stop flashing.
To release BT pairing, turn off or unpair your smartphone, table or other Bluetooth devices.
Press “
” on the radio or Remote Control to start or pause the playback. You can press “
” or “
” on the radio or Remote Control to play the previous or next track.
AUX IN
Connecting DVD player / Set-Top Box / TV outputs to analogue inputs from the sound board.
Use a RCA audio cable to connect the DVD player/TV outputs with the AUX (L/R) input socket from the sound board.
CD MODE
Notice!
Improper operation can result in material damages!
Do not insert any recording media that deviate from the standard CD format (eg: mini-discs) into the CD player. These may not be played and ejected correctly. Insert only one disc at a time into the CD player.
- Press
button on the unit and press
till “CD” displayed, then press “OK” on the knob or press the “CD” button on remote control to choose CD. - Put a disc (with printing side facing up) inside. The display will say “Loading” and the disc functions will not work while the disc is loading. After Reading the display shows the following information in CD mode:
- CD mode
- Time
- Elapsed playback time in minutes
- Track number
- Playback status (playing/pause)
The Playback will begin automatically once the table of contents is read. The display will show “No Disc” when the unit is set to CD mode and there is no CD inside.
- To pause/resume playback of the CD, press the “
” button - To switch to the next track, press the “
” button once - To fast forward through a track, press and hold the “
” button. - To switch to the previous track, press the “
” button twice - To fast backward through a track, press and hold “
” button. - To stop CD playback, press the “
” button on the remote control. - To eject the disc press in stop mode the “
” button on the unit.
CD Program
- Set the unit in Stop mode
- Press the “PROGRAM” button on the Remote Control. The display will show “T01 P01” and “T01” flash.
- Choose with “
” or “
” or 0 to 9 on the Remote Control, the track which should be programmed and confirm the track by pressing the “PROGRAM” button on the Remote Control. The display changes to “P02”. - To choose more tracks do step 3 again.
- If all tracks are programmed press the “
” button on the unit or Remote Control to start the programmed playback.
Shuffle mode
Press the “RANDOM” button on the Remote Control. The display will show the Shuffle indicator.
Repeat one track
During playback press the “REPEAT” button on the Remote Control once to repeat playback of the song you are listening to.
Repeat all tracks
During playback press the “REPEAT” button on the Remote Control twice to repeat all songs from the CD. To cancel the Repeat mode press the “REPEAT” button on the Remote Control until all symbols in the display disappear.
SLEEP
To set the sleep timer, press “SLEEP” on the unit or Remote Control. Choose from Sleep OFF, 15mins, 30mins, 45mins or 60mins.
Once you select a sleep period, the system returns to the “Now playing” screen.
If you go under Main Menu to Sleep press “MENU” on the unit or Remote Control to return to the “Now playing” screen.
ALARM
There are two versatile wake-up alarms with snooze facility, and a sleep function to turn the system off after a set period. Each alarm can be set to start in a particular mode.
Select Alarm under Main menu to set or change an alarm.
Select the alarm number (1 or 2) then configure the following parameters:
- Enable: on/off, Frequency: Daily, Once, Weekends or Weekdays,
- Time
- Mode: Buzzer, Internet Radio, CD, DAB or FM,
- Preset: Last listened, 1 – 40,
- Volume: 0 – 32
To activate the new settings, scroll down and select Save.
The screen shows active alarms with an icon at the bottom left.
UNDOK
The ICD2020 supports remote control from Apple iPhone, iPad and Android using the UNDOK app. The apps are available in Apple’s app store and Google’s android play.
The UNDOK app allows you to:
- Create a group
- Rename a group
- Edit a group – add or remove one or more products
- Delete a group
- Control a group – choose operating mode and browse for content
- Adjust volume for an entire group or for individual products within a group
- Control products which have not been assigned to any group
- Control all the modes of the ICD2020, including Internet Radio, Media Player, USB playback,
DAB, FM, Bluetooth, CD and AUX-In - Adjust the volume level of current playback
- Setting EQ for various audio presets
- Setting Sleep timer
- Editing the displayed name of the radio.
HEADPHONE
To listen to music privately, use headphones with a 3.5 stereo jack plug and connect it to the headphones socket. The speakers will then be muted.
To prevent possible hearing damage, do not listen at high volume levels for long periods.
FACTORY RESET
A factory reset resets all user settings to default values, so that time and date, network configuration and presets are lost. However, the ICD2020 ‘s current software version is maintained, as is registration with the Internet radio portal. Internet radio favourites therefore remain unless you re-register your ICD2020 with another account on the portal website.
ENVIRONMENTAL PROTECTION
Do not dispose of this product with the normal household waste at the end of its life cycle. Return it to a collection point for the recycling of electrical and electronic devices. This is indicated by the symbol on the product, user manual or packaging.
The materials are recyclable according to their labeling. By reusing materials or other forms of recycling old devices and packaging, you are making an important contribution to protecting our environment. If necessary, remove batteries and personal data before disposal free of charge and ask your local authority about the responsible disposal point.
TROUBLESHOOTING
| Error | Remedy |
| The device does not switch on. | Check it the power adaptor is connected properly. |
| Switch automatically off | Due to ErP2 requirements and environmental protection, the unit automatically switches to standby mode when no music is played for more than 15 minutes. |
| No sound. |
|
| No network connection can be established. |
|
| WiFi connection cannot be established. |
|
| Wired connection cannot be established. |
|
| No station is found. |
|
| Hiss in FM mode | Check/move the FM antenna or move the radio |
| No stations available / burbling / intermittent in DAB mode. |
|
| Alarm does not work. |
|
| USB driver or MP3 player is not detected. |
|
| NetRemote does not show or connect to ICD2020 |
|
| All other undetermined cases. | ICD2020 may process large amount of data after a period of operation, no matter in which mode, it will cause the system freeze or malfunction. Reboot ICD2020 if necessary. |
| The normal function of the product may be disturbed by strong Electro-Magnetic Interference. If so, simply reset the product to resume normal operation by following the instruction manual. In case the function could not resume, please use the product in other location. | |
| The device may malfunction when used in areas with strong radio interference. The device will work properly again once there is no more interference. | |
| Under the environment with Conducted Immunity disturbance, the sample may malfunction. It will automatically recover to normal when the Conducted Immunity disturbance stopped. |
TECHNICAL SPECIFICATIONS
Power supply : Use only the supplied adapter
Power input : 100-240V~50/60Hz
Power output : DC 18V 1.2A
DAB+ range : Band III 174.928 – 239.200 MHz
FM range : 87.5 – 108MHz
Bluetooth® Version : Version 5.0
Connectivity : WiFi Dual modes to support 2.4GHz and 5GHz WiFi system
Audio power output : 2×15 W
Standby consumption with setting “Keep network in standby” : < 2W
The current instruction manual can be downloaded from www.soundmaster.de
Technical changes and misprints reserved
Copyright by Woerlein GmbH, 90556 Cadolzburg, www.soundmaster.de
Duplication only with the permission of Woerlein GmbH.























