AUTOMATIC SMART BATTERY CHARGER & MAINTAINER 12V 4A
MODEL NO: SBC4 (4A), SBC6 (6A),
Thank you for purchasing a Sealey product. Manufactured to a high standard, this product will, if used according to these instructions, and properly maintained, give you years of trouble free performance.
IMPORTANT: PLEASE READ THESE INSTRUCTIONS CAREFULLY. NOTE THE SAFE OPERATIONAL REQUIREMENTS, WARNINGS & CAUTIONS. USE THE PRODUCT CORRECTLY AND WITH CARE FOR THE PURPOSE FOR WHICH IT IS INTENDED. FAILURE TO DO SO MAY CAUSE DAMAGE AND/OR PERSONAL INJURY AND WILL INVALIDATE THE WARRANTY. KEEP THESE INSTRUCTIONS SAFE FOR FUTURE USE.

Refer to instructions Wear eye protection

Wear protective gloves Electrical shock hazard

Warning corrosive substance Warning: explosive material

Keep away from sources of ignition Use in well ventilated areas

Indoor use only
1. SAFETY
1.1.ELECTRICAL SAFETY
WARNING! It is the user’s responsibility to check the following:
Check all electrical equipment and appliances to ensure that they are safe before using. Inspect power supply leads, plugs and all electrical connections for wear and damage. Sealey recommend that an RCD (Residual Current Device) is used with all electrical products. You may obtain an RCD by contacting your local Sealey stockist.
If the charger is used in the course of business duties, it must be maintained in a safe condition and routinely PAT (Portable Appliance Test) tested.
Electrical safety information, it is important that the following information is read and understood.
Ensure that the insulation on all cables and on the appliance is safe before connecting it to the power supply.
Regularly inspect power supply cables and plugs for wear or damage and check all connections to ensure that they are secure.
Ensure that the voltage rating on the appliance suits the power supply to be used and that the plug is fitted with the correct fuse – see fuse rating in these instructions.
DO NOT pull or carry the appliance by the power cable.
DO NOT pull the plug from the socket by the cable. Remove the plug from the socket by maintaining a firm grip on the plug.
DO NOT use worn or damaged cables, plugs or connectors. Ensure that any faulty item is repaired or replaced immediately by a qualified electrician.
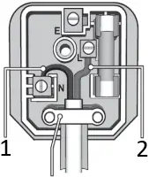
This product is fitted with a BS1363/ 3 pin plug.
If the cable or plug is damaged during use, switch the electricity supply and remove from use.
Replace a damaged plug with a BS1363/A 3 pin plug. If in doubt contact a qualified electrician.
Class II products are wired with live (brown) and neutral (blue) only and are marked with the Class II symbol; ![]()
A) Connect the BROWN live wire to the live terminal ‘L’.
B) Connect the BLUE neutral wire to the neutral terminal ‘N’.
C) After wiring, check that there are no bare wires and ensure that all wires have been correctly connected.
Ensure that the cable outer sheath extends inside the cable restraint and that the restraint is tight.
DO NOT connect either wire to the earth terminal.
Sealey recommend that repairs are carried out by a qualified electrician.

CABLE RESTRAINT
Recommended fuse rating
5 Amp
- BLUE NEUTRAL WIRE
- BROWN LIVE WIRE
DANGER! BE AWARE, LEAD-ACID BATTERIES GENERATE EXPLOSIVE GASES DURING NORMAL BATTERY OPERATION.
FOR THIS REASON, IT VERY IMPORTANT TO READ AND FOLLOW THESE INSTRUCTIONS CAREFULLY, EACH TIME YOU USE THE CHARGING EQUIPMENT.
Follow these instructions and those published by the battery and vehicle manufacturers, and the maker of any equipment you intend to use in the vicinity of the battery. Remember to review warning marks on all products and on engines.
WARNING! Modern vehicles contain extensive electronic systems.
You are required to check with the vehicle Manufacturer, for any specific instructions regarding the use of this type of equipment on each vehicle.
No liability will be accepted for damage / injury, where this product is not used in accordance with all instructions.
1.2. PERSONAL PRECAUTIONS
Ensure there is another person within hearing range of your voice and close enough to come to your aid, should a problem arise when working near a lead-acid battery.
Wear safety eye protection and protective clothing. Avoid touching eyes while working near battery.
Have fresh water and soap nearby in case battery acid contacts skin, clothing or eyes.
Wash immediately with soap and water if battery acid contacts skin or clothing. If acid enters eye, flush eye immediately with cool, clean running water for at least 15 minutes and seek immediate medical attention.
Remove personal metallic items such as rings, bracelets, necklaces and watches. A lead-acid battery can produce a short-circuit current which is high enough to weld a ring or the like to metal, which would cause severe burns.
Ensure hands, clothing (especially belts) are clear of fan blades and other moving or hot parts of engine, remove ties and contain long hair.
DO NOT smoke or allow a spark or flame in the vicinity of battery or engine.
1.3. GENERAL SAFETY INSTRUCTIONS
Familiarise yourself with the application and limitations of the charger as well as the potential hazards. Also refer to the vehicle manufacturer’s hand book. IF IN ANY DOUBT CONSULT A QUALIFIED ELECTRICIAN.
Ensure the charger is in good order and condition before use. If in any doubt do not use the unit, contact your Sealey Stockist.
Use the charger in the upright position only and ensure it is placed on a stable surface which will adequately support its weight.
Ensure the charger is disconnected from the mains supply before attaching/detaching the power clamps to/from the battery.
Keep tools and other items away from the engine and ensure you can see the battery and working parts of engine clearly.
Ensure the output of the charger is the same voltage as the battery.
Ensure that during charging, the charger is placed in a location where there is sufficient ventilation to prevent the build up of explosive gases from a lead acid battery.
If battery has caps to access the battery fluid, remove the caps and check the fluid level before connecting the power clamps. If necessary top-up the battery with distilled water by referring to the battery manufacturer’s instructions (Apply the personal safety precautions described in part 1.2).
If the charger receives a sharp knock or blow the unit must be checked by a qualified service agent before using.
If the battery terminals are corroded or dirty clean them before attaching the power clamps.
Keep children and unauthorised persons away from the working area.
DO NOT dis-assemble the charger for any reason. The charger must only be checked by qualified service personnel.
DO NOT try to charge a non-rechargeable battery.
DO NOT try to start engine when charger is connected to battery.
WARNING! To prevent the risk of sparking, short circuit and possible explosion DO NOT drop metal tools in the battery area, or allow them to touch the battery terminals.
DO NOT allow power clamps to touch each other or to make contact with any metallic part of the vehicle.
DO NOT cross connect power leads from charger to battery. Ensure positive (+/RED) is to positive and negative (-/BLACK) is to negative.
DO NOT pull the cables or clamps from the battery terminals.
DO NOT use the charger outdoors, or in damp, or wet locations and DO NOT operate within the vicinity of flammable liquids or gases.
DO NOT use charger inside vehicle or inside engine compartment.
Ensure there is effective ventilation to prevent a build-up of explosive gases.
DO NOT use the charger for a task for which it is not designed.
WARNING! DO NOT simultaneously charge batteries of different capacities or discharge levels.
WARNING! DO NOT charge a frozen battery.
WARNING! If a fuse blows, ensure it is replaced with an identical fuse type and rating. Use only Sealey genuine parts.
When not in use, store the charger carefully in a safe, dry, childproof location.
NOTE: This appliance can be used by children aged from 8 years and above and persons with reduced physical, sensory or mental capabilities or lack of experience and knowledge if they have been given supervision or instruction concerning use of the appliance in a safe way and understand the hazards involved. Children shall not play with the appliance. Cleaning and user maintenance shall not be made by children without supervision.
2. INTRODUCTION
Fully automatic 12V 3-stage battery charger, designed for charging and maintaining a variety of EFB &AGM (stop/start), GEL, lead acid and calcium batteries with auto-shut-off maintenance function. Zero volt battery charging, enabling recovery and charging of a completely discharged battery (providing any load removed from the rechargeable battery). Old battery sulfation repair function. Reverse polarity, short circuit, over temperature, over voltage and overcharging protection. Easy-to-read LED indicators display power status and charging stages.
3. SPECIFICATION
| MODEL NO. | SBC4 | SBC6 |
| Supply | 230V | 230V |
| Output | 12V | 12V |
| Output Charge | 4A | 6A |
| Battery Range | 40Ah to 80Ah | 40Ah to 100Ah |
| Charging Cable Length | 1.0m | 1.0m |
| IP Rating ` | IP33 | IP33 |
| Dimensions(LxWxH)mm | 150 x 69 x 42 | 150 x 69 x 42 |

fig.1
- Power On LED
- Charging LED
- Fully charged LED
4. OPERATION
4.1. CABLES / CONNECTORS
NOTE: the charger should be connected to the battery before connecting to the mains supply.
4.2. CHARGING A NEGATIVE EARTHED BATTERY
4.2.1. Ensure that the black clamp on the clamp lead is not touching the battery or the fuel line. 4.2.2. Connect the positive (+) red clamp to the positive (+) battery post and connect the negative (-) black clamp to the negative (-) battery post or vehicle chassis.
4.3. CHARGING A POSITIVE EARTHED BATTERY
4.3.1. Ensure that the red clamp on the clamp lead is not touching the battery or the fuel line.
4.3.2. Connect the negative (-) black clamp to the negative (-) battery post and connect the positive (+) red clamp to the positive (+) battery post or vehicle chassis.
4.4. BATTERY NOT CONNECTED TO A VEHICLE
4.4.1. Connect the (+) red clamp to the positive (+) battery post and connect the (-) black clamp to the negative (-) battery post.
4.5. CONNECT CHARGER TO MAINS POWER SUPPLY
4.5.1. Plug the charger into the power supply and switch on. The LEDs on the front of the chargers (fig.1) will indicate ‘Power’, ‘Charging’ or ‘Fully Charged’.
4.5.2. Stop charging at any time by disconnecting the mains cable from the wall socket.
5. MAINTENANCE
DO NOT use the charger if cords or clamps have been damaged in any way.
5.1. After each use, clean the battery charger clamps – be sure to remove any battery fluid that will cause corrosion of the copper clamps.
5.2. Clean the outside case of the charger with a soft cloth and, if necessary, mild soap solution.
5.3. Keep the charger cords loosely coiled during storage to prevent damage to the cords.
5.4. If the power supply cord is damaged, it must be replaced by the manufacturer, its service agent or qualified person in order to avoid a hazard.
ENVIRONMENT PROTECTION
Recycle unwanted materials instead of disposing of them as waste. All tools, accessories and packaging should be sorted, taken to a recycling centre and disposed of in a manner which is compatible with the environment. When the product becomes completely unserviceable and requires disposal, drain any fluids (if applicable) into approved containers and dispose of the product and fluids according to local regulations.
WEEE REGULATIONS
Dispose of this product at the end of its working life in compliance with the EU Directive on Waste Electrical and Electronic Equipment (WEEE). When the product is no longer required, it must be disposed of in an environmentally protective way. Contact your local solid waste authority for recycling information.
Note: It is our policy to continually improve products and as such we reserve the right to alter data, specifications and component parts without prior notice. Please note that other versions of this product are available. If you require documentation for alternative versions, please email or call our technical team on [email protected] or 01284 757505.
Important: No Liability is accepted for incorrect use of this product.
Warranty: Guarantee is 12 months from purchase date, proof of which is required for any claim.
Sealey Group, Kempson Way, Suffolk Business Park, Bury St Edmunds, Suffolk. IP32 7AR
01284 757500
[email protected]
www.sealey.co.uk
© Jack Sealey Limited Original Language Version SBC4, SBC6 Issue 5 (H,2,F) 31/03/23



















