HORIZON E-Flite Valiant 1.3m BNF Basic with AS3X and SAFE Select Instruction Manual
NOTICE
All instructions, warranties and other collateral documents are subject to change at the sole discretion of Horizon Hobby, LLC. For up-to-date product literature, visit horizonhobby.com or towerhobbies.com and click on the support or resources tab for this product.
Meaning of Special Language
The following terms are used throughout the product literature to indicate various levels of potential harm when operating this product:
NOTICE: Procedures, which if not properly followed, create a possibility of physical property damage AND little or no possibility of injury.
CAUTION: Procedures, which if not properly followed, create the probability of physical property damage AND a possibility of serious injury.
WARNING: Procedures, which if not properly followed, create the probability of property damage, collateral damage, and serious injury OR create a high probability of superficial injury.
WARNING: Read the ENTIRE instruction manual to become familiar with the features of the product before operating. Failure to operate the product correctly can result in damage to the product, personal property and cause serious injury.
This is a sophisticated hobby product. It must be operated with caution and common sense and requires some basic mechanical ability. Failure to operate this Product in a safe and responsible manner could result in injury or damage to the product or other property. This product is not intended for use by children without direct adult supervision. Do not use with incompatible components or alter this product in any way outside of the instructions provided by Horizon Hobby, LLC. This manual contains instructions for safety, operation and maintenance. It is essential to read and follow all the instructions and warnings in the manual, prior to assembly, setup or use, in order to operate correctly and avoid damage or serious injury.
14+ AGE RECOMMENDATION: Not for children under 14 years. This is not a toy.
WARNING AGAINST COUNTERFEIT PRODUCTS: If you ever need to replace your Spektrum receiver found in a Horizon Hobby product, always purchase from Horizon Hobby, LLC or a Horizon Hobby authorized dealer to ensure authentic high-quality Spektrum product. Horizon Hobby, LLC disclaims all support and warranty with regards, but not limited to, compatibility and performance of counterfeit products or products claiming compatibility with DSM or Spektrum technology
Safety Precautions and Warnings
As the user of this product, you are solely responsible for operating in a manner that does not endanger yourself and others or result in damage to the product or the property of others.
- Always keep a safe distance in all directions around your model to avoid collisions or injury. This model is controlled by a radio signal subject to interference from many sources outside your control. Interference can cause momentary loss of control.
- Always operate your model in open spaces away from full-size vehicles, traffic and people.
- Always carefully follow the directions and warnings for this and any optional support equipment (chargers, rechargeable battery packs, etc.).
- Always keep all chemicals, small parts and anything electrical out of the reach of children.
- Always avoid water exposure to all equipment not specifically designed and protected for this purpose. Moisture causes damage to electronics.
- Never place any portion of the model in your mouth as it could cause serious injury or even death.
- Never operate your model with low transmitter batteries.
- Always keep aircraft in sight and under control.
- Always use fully charged batteries.
- Always keep transmitter powered on while aircraft is powered.
- Always remove batteries before disassembly.
- Always keep moving parts clean.
- Always keep parts dry.
- Always let parts cool after use before touching.
- Always remove batteries after use.
- Always ensure failsafe is properly set before flying.
- Never operate aircraft with damaged wiring.
- Never touch moving parts.
Box Contents
| Quick Start Information | ![]() | |||
| Transmitter Setup | Set up your transmitter using the transmitter setup chart | |||
| Dual Rates | Hi Rate | Low Rate | ||
| Ail | ▲22mm ▼18mm | ▲17mm ▼14mm | ||
| Ele | 25mm | 20mm | ||
| Rud | 38mm | 25mm | ||
| Flaps | Landing ▼=28mm | Takeoff ▼=14mm | ||
| Center of Gravity (CG) | 65mm +/-3mm back from leading edge of wing at the fuselage. | |||
| Flight Timer Setting | 5 minutes | |||
Specifications
![]() | Motor: 480 BL Out runner Motor; 960Kv (EFLM480BL) | Installed | Installed |
![]() | ESC: 30-Amp Pro Switch Mode BEC Brushless ESC (V2) (EFLA1030B) | Installed | Installed |
![]() | SV80 servo (SPMSA381, SPMSA382) | Installed | Installed |
![]() | Receiver: Spektrum™ AR631 SAFE and AS3X 6-Channel Receiver (SPMAR631) | Installed | Required to Complete |
![]() | Recommended Battery: 2200mAh 11.1V 3S 30C Li-Po (SPMX22003S30 | Required to Complete | Required to Complete |
![]() | Recommended Battery Charger: 3-cell Li-Po battery balancing charger | Required to Complete | Required to Complete |
![]() | Recommended Transmitter: FullRange 6 channel (or more) 2.4GHz with Spektrum DSM2®/DSMX® technology with adjustable Dual Rates | Required to Complete | Required to Complete |
Dimensions


If you own this product, you may be required to register with the FAA. For up-to-date information on how to register with the FAA, please visit https://registermyuas.faa.gov/. For additional assistance on regulations and guidance on UAS usage, visit knowbeforeyoufly.org/
The evolutionary SAFE® Select technology can offer an extra level of protection so you can perform the first flight with confidence. No complex transmitter programming is required. Just follow the simple bind process to make the SAFE Select system active. When activated, bank and pitch limitations keep you from over-controlling and automatic self-leveling makes recovery from risky or confusing attitudes as simple as releasing the sticks. In fact, with the aileron, elevator and rudder sticks in the neutral position, SAFE Select will automatically keep the airplane in a straight and level attitude.
Expand the advantage of what SAFE® Select technology offers by assigning it to a switch. No transmitter programming is required and you’ll be able to turn the system ON and OFF with the flip of a switch. For example, turn SAFE select ON for takeoffs to counter the torque of a large 5 blade propeller. Turn it OFF in flight for unrestricted aerobatic performance, and turn it back ON when a buddy wants to try out your cool warbird. Turn SAFE Select ON for landings. As you drop the landing gear, SAFE Select reduces your workload by compensating for pitch changes automatically, regardless of throttle position. It will help keep the correct pitch attitude and wings level during the final approach. Whether you’re a beginner or an expert, SAFE Select can make your flights a great experience.
When the normal bind process is followed, the SAFE Select system is disabled, leaving specially tuned AS3X® technology in place to deliver a pure, unrestricted flight experience.
Preflight
| 1 | Remove and inspect contents. | 9 | Make sure linkages move freely. |
| 2 | Read this instruction manual thoroughly. | 10 | Test the flap operation. |
| 3 | Charge the flight battery. | 11 | Perform the Control Direction Test with the transmitter. |
| 4 | Setup Transmitter using transmitter setup chart. | 12 | Perform the AS3X Control Direction Test with the aircraft. |
| 5 | Fully assemble the airplane. | 13 | Adjust flight controls and transmitter. |
| 6 | Install the flight battery in the aircraft (once it has been fully charged). | 14 | Perform a radio system Range Test. |
| 7 | Check the Center of Gravity (CG). | 15 | Find a safe open area to fly. |
| 8 | Bind the aircraft to your transmitter. | 16 | Plan flight for flying field conditions. |
Transmitter Setup
IMPORTANT: After you set up your model, always rebind the transmitter and receiver to set the desired failsafe positions.
Dual Rates
Take first flights in Low Rate. For landings, use high rate elevator.
NOTICE: To ensure AS3X® technology functions properly, do not lower rate values below 50%. If lower rates are desired, manually adjust the position of the pushrods on the servo arm.
NOTICE: If oscillation occurs at high speed, refer to the Troubleshooting Guide for more information.
Expo
After first flights, you may adjust expo in your transmitter or refer to the AR631 receiver manual for expo adjustment.
- Some of the terminology and function locations used in the iX12, iX20 programming may be slightly different than other Spektrum AirWare™ radios. The names given in parenthesis correspond to the iX12, iX20 programming terminology. Consult your transmitter manual for specific information about programming your transmitter.
- The settings provided above for the DX6 and DX6e do not allow for the use of a SAFE Select switch. To use a SAFE Select switch on these systems see the section below for transmitter setup and operation information.
| Computerized Transmitter Setup | ||
| Start all transmitter programming with a blank ACRO model (do a model reset), then name the model. | ||
| Set Dual Rates to: | HIGH 100% | |
| LOW 70% | ||
| Set Servo Travel to: | 100% | |
| DX6i | Go to the SETUP LIST MENU | |
| Set MODEL TYPE: ACRO | ||
| Go to ADJUST LIST MENU | ||
| Set FLAPS: Norm –100 Flap LAND 100 Flap | ||
| DX7S DX8 | Go to the SYSTEM SETUP | |
| Set MODEL TYPE: AIRPLANE | ||
| Set WING TYPE: 1 AIL 1 FLAP | ||
| Go to the FUNCTION LIST | ||
| Set FLAP SYSTEM: Choose Flap NORM: -100% FLAP MID: 0% FLAP 3% ELEVATOR LAND: 100% FLAP 8% ELEVATOR SPEED 2.0S: SWITCH = FLAP | ||
| DX6e DX6 (Gen2) DX7 (Gen2) DX8 (Gen2) DX9 DX10t DX18 DX20 iX12 iX20 NX6 NX8 NX10 | Go to the SYSTEM SETUP | |
| Set MODEL TYPE: AIRPLANE | ||
| Set AICRAFT TYPE (Model Setup, Aircraft Type): WING: 1 AIL 1 FLAP | ||
| Go to the FUNCTION LIST (Model Adjust) | ||
| Set FLAP SYSTEM: SELECT SWITCH D: POS 0: -100% FLAP POS 1: 0% FLAP 3% ELEVATOR POS 2: 100% FLAP 8% ELEVATOR SPEED 2.0 | ||
Main Landing Gear Installation
- Remove the battery compartment door (A) from the bottom of the fuselage. Slide the pre assembled landing gear (B) into the fuselage as shown. Secure with the 4 screws (C).

- Re-install the battery hatch.

Tail Installation
- Install the Vertical stab (A) over the Horizontal stab (B) by sliding the 2 plastic tabs down through the holes in the horizontal stab, creating a complete tail assembly.

TIP: You may wish to secure the vertical and horizontal stabs with a thin piece of double sided tape.
- Place the tail assembly (C) onto the fuselage by first inserting the front of the vertical stab into the fuselage.

- Lower the back of the assembly down onto the fuselage, lining up the 2 plastic tabs with the 2 holes in the fuselage.
- Secure the tail with 2 screws (D) inserted from the bottom of the fuselage and 1 screw (E) into the tail wheel bracket as shown.
IMPORTANT: DO NOT over tighten the screws. - Attach the clevis to both the elevator and rudder control horns (see instructions for clevis connection).
Tail Wheel Installation
- Slide the tail wheel assembly (A) into the slot in the bottom of the rudder as shown.
- Rotate the assembly until it locks into the clamps moulded into the tail wheel bracket.

Wing Installation
- Slide the 1 large (A) and 1 small (B), carbon fiber wing tubes into one wing half and then join the 2 halves together.

- Connect the Flaps and Aileron connectors to respective Y-harnesses connected to the receiver. The left and right servos can be connected to either side of a Y-harness.
IMPORTANT: The ailerons must be connected to the receiver’s AILE (#2 channel) with a Y-harness (included) for the AS3X system to function properly. - Carefully lay the wing assembly on top of the fuselage and secure with the large wing connecter and 4 screws as shown.
CAUTION: DO NOT crush or otherwise damage the wiring when attaching the wing to the fuselage.
Float Installation (Optional)
Float Assembly
- Install the 2 cross members (A) and the front and rear struts (B) on one float as shown and secure with 4 included screws (C).
- Install the other float onto the assembled struts as in Step 1 above.
IMPORTANT: The front strut is taller than the rear strut. (Figure 1)
Float Assembly Installation
- With the landing gear and battery hatch removed, align and mount the float assembly to the bottom of the fuselage.
- Secure the back section of the floats to the fuselage using the 2 included brackets (A) and 4 screws (B).
- Secure the front section of the floats using the two larger brackets (C) and 4 screws (D)
- Re-install the battery hatch.
Disassemble in reverse order.

Control Horn and Servo Arm Settings
The table to the right shows the factory settings for the control horns and servo arms. Fly the aircraft at factory settings before making changes.
NOTICE: If control throws are changed from the factory settings, the AR631 gain values may need to be adjusted. Refer to the Spektrum AR631 manual for adjustment of gain values.
After flying, you may choose to adjust the linkage positions for the desired control response. See the table to the right.
| Horns | Arms | |
| Elevator | ![]() | ![]() |
| Ailerons | ![]() | ![]() |
| Flaps | ![]() | ![]() |
| Rudder | ![]() | ![]() |
| More control throw | Less control throw |
![]() | ![]() |
![]() | ![]() |
Clevis Installation
- Pull the tube from the clevis to the linkage.
- Carefully spread the clevis, then insert the clevis pin into the desired hole in the control horn.
- Move the tube to hold the clevis on the control horn.


Control Surface Centering
After assembly and transmitter setup, confirm that the control surfaces are centered. If the control surfaces are not centered, mechanically center the control surfaces by adjusting the linkages.
If adjustment is required, turn the clevis on the linkage to change the length of the linkage between the servo arm and the control horn.
After binding a transmitter to the aircraft receiver, set the trims and sub-trims to 0, then adjust the clevises to center the control surfaces.
Battery Installation and ESC Arming
Battery Selection
We recommend the Spektrum® 2200mAh 11.1V 3S 30C Li-Po battery (SPMX22003S30). Refer to the Optional Parts List for other recommended batteries. If using a battery other than those listed, the battery should be within the range of capacity, dimensions and weight of the E-flite Li-Po battery packs to fit in the fuselage. Be sure the model balances at the recommended CG.
- Lower the throttle and throttle trim to the lowest settings. Power on the Transmitter, then wait 5 seconds.
- Unlock and lift the back of the battery hatch (A) to remove.

- For added security, apply the loop side (soft side) of the optional hook and loop tape (B) to the bottom of your battery and the hook side to the battery tray.

- Install the fully charged battery (C) all the way forward in the battery compartment as shown. Secure using the hook and loop strap (D).

- Connect the battery to the ESC (the ESC is now armed).
- Place the aircraft on its wheels with wings level
- Keep the aircraft immobile and away from wind or the system will not initialize.
- The ESC will sound a series of tones (refer to step 7 of the binding instructions for more information).
- An LED will light on the receiver.
- If the ESC sounds a continuous double beep after the flight battery is connected, recharge or replace the battery.
- Reinstall the battery hatch.
CAUTION: Always keep hands away from the propeller. When armed, the motor will turn the propeller in response to any throttle movement.
Transmitter and Receiver Binding / Switching ON and OFF SAFE Select
This product requires an approved Spektrum™ DSM2®/DSMX® compatible transmitter. Visit www.bindnfly.com for a complete list of approved transmitters.
The aircraft has an optional SAFE Select feature, which can be switched ON or OFF easily by binding in a specific manner as described below.
IMPORTANT: Before binding a transmitter, read the Transmitter Setup section of this manual to ensure that your transmitter is properly programmed for this aircraft.
Bind Plug Installation
| Binding Procedure / Switching ON SAFE Select |
| IMPORTANT: The included AR631 receiver has been programmed for operation specifically for this aircraft. Refer to the receiver manual for correct setup if the receiver is replaced or is used in another aircraft. |
| Make sure the transmitter is powered off. |
| Move the transmitter controls to neutral (flight controls: rudder, elevators and ailerons) or to low positions (throttle, throttle trim).* |
| Install a bind plug in the receiver bind port. |
| Place the aircraft level on its wheels, connect the flight battery to the ESC, then turn ON the switch. The ESC will produce a series of sounds. One long tone, then 3 short tones confirm that the LVC is set correctly for the ESC. The orange bind LED on the receiver will begin to flash rapidly. |
| Remove the bind plug from the bind port. |
| Take 3 steps away from the aircraft /receiver and then power ON the transmitter while holding the transmitter bind button or switch. Refer to your transmitter’s manual for specific binding instructions. IMPORTANT: Do not to point the transmitter’s antenna directly at the receiver while binding. IMPORTANT: Keep away from large metal objects while binding. |
| The receiver is bound to the transmitter when the orange bind light on the receiver stays orange. The ESC will also produce a series of three ascending tones. The tones indicate the ESC is armed, provided the throttle stick and throttle trim are low enough to trigger arming. |
| IMPORTANT: Once bound, the receiver will retain its bind and last setting until it has been intentionally changed, even when power is cycled ON and OFF. However, if you notice that bind has been lost, simply repeat the binding process’s. SAFE Select ON Indication |
| The throttle will not arm if the transmitter’s throttle control is not put at the lowest position. If you encounter problems, follow the binding instructions and refer to the transmitter troubleshooting guide for other instructions. If needed, contact the appropriate Horizon Product Support office. |
Switching ON SAFE Select Binding Sequence
Switching OFF SAFE Select Binding Sequence
| Binding Procedure / Switching OFF SAFE Select |
| IMPORTANT: The included AR631 receiver has been programmed for operation specifically for this aircraft. Refer to the receiver manual for correct setup if the receiver is replaced or is used in another aircraft. |
| Make sure the transmitter is powered off. |
| Move the transmitter controls to neutral (flight controls: rudder, elevators and ailerons) or to low positions (throttle, throttle trim). * |
| Install a bind plug in the receiver bind port. |
| Place the aircraft level on its wheels, connect the flight battery to the ESC, then turn ON the switch. The ESC will produce a series of sounds. One long tone, then 3 short tones confirm that the LVC is set correctly for the ESC. The orange bind LED on the receiver will begin to flash rapidly. DO NOT remove the bind plug at this time. |
| Take 3 steps away from the aircraft /receiver and then power ON the transmitter while holding the transmitter bind button or switch. Refer to your transmitter’s manual for specific binding instructions. IMPORTANT: Do not to point the transmitter’s antenna directly at the receiver while binding. IMPORTANT: Keep away from large metal objects while binding. |
| The receiver is bound to the transmitter when the orange bind light on the receiver stays orange. The ESC will also produce a series of three ascending tones. The tones indicate the ESC is armed, provided the throttle stick and throttle trim are low enough to trigger arming. |
| Remove the bind plug from the bind port. |
| IMPORTANT: Once bound, the receiver will retain its bind and last setting until it has been intentionally changed, even when power is cycled ON and OFF. However, if you notice that bind has been lost, simply repeat the binding process’s. SAFE Select OFF Indication |
| The throttle will not arm if the transmitter’s throttle control is not put at the lowest position. If you encounter problems, follow the binding instructions and refer to the transmitter troubleshooting guide for other instructions. If needed, contact the appropriate Horizon Product Support office. |
*Failsafe
If the receiver loses transmitter communication, the failsafe will activate. When activated, failsafe moves the throttle channel to its preset failsafe position (low throttle) that was set during binding. All other channels move to actively level the aircraft in flight.
Select Switch Designation
SAFE® Select technology can be easily assigned to any open switch on your transmitter. With this new feature, you now have the flexibility to enable or disable the technology while in flight.
IMPORTANT: Before assigning your desired switch, ensure that the travel for that channel is set at 100%.
Assigning a switch
- Bind the aircraft correctly to activate SAFE Select. This will allow the system to be assigned to a switch.
- Hold both transmitter sticks to the inside bottom corners and toggle the desired switch 5 times to assign that switch. The control surfaces of the aircraft will move, indicating the switch has been selected. Repeat the process to assign a different switch if desired.
NOTICE: SAFE Select is assignable on Channels 5–9.
Mode 1 and 2 Transmitters

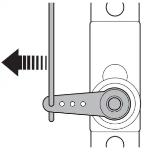
AS3X Control Direction Test
This test ensures that the AS3X® control system is functioning properly. Assemble the aircraft and bind your transmitter to the receiver before performing this test.
- Raise the throttle just above 25%, then lower the throttle to activate AS3X technology.
CAUTION: Keep all body parts, hair and loose clothing away from a moving propeller, as these items could become entangled. - Move the entire aircraft as shown and ensure the control surfaces move in the direction indicated in the graphic. If the control surfaces do not respond as shown, do not fly the aircraft. Refer to the receiver manual for more information.
Once the AS3X system is active, control surfaces may move rapidly. This is normal. AS3X remains active until the battery is disconnected.
| Aircraft movement | AS3X Reaction | |
| Elevator | ![]() | |
![]() | ![]() | |
| Aileron | ![]() | ![]() |
![]() | ![]() | |
| Rudder | ![]() | ![]() |
![]() | ![]() |
In Flight Trimming
During your first flight, trim the aircraft for level flight at 3/4 throttle with flaps up. Make small trim adjustments with your transmitter’s trim switches to straighten the aircraft’s flight path.
After adjusting trim, do not touch the control sticks for 3 seconds. This allows the receiver to learn the correct settings to optimize AS3X performance.
Failure to do so could affect flight performance.
Flying Tips and Repairs
Consult local laws and ordinances before choosing a flying location
Range Check your Radio System
Before you fly, range check the radio system. Refer to your specific transmitter instruction manual for range test information.
Oscillation
Once the AS3X system is active (after advancing the throttle for the first time), you will normally see the control surfaces react to aircraft movement. In some flight conditions you may see oscillation (the aircraft rocks back and forth on one axis due to over control). If oscillation occurs, refer to the Troubleshooting Guide for more information.
Takeoff
Place the aircraft facing into the wind. Set your transmitter in low rate and use your flaps switch to drop the flaps to takeoff or “half position”. Gradually increase the throttle to ¾ and steer with the rudder. Flaps make takeoffs shorter. As the tail comes off the ground, pull back gently on the elevator. Climb to a comfortable altitude and then use your flaps switch to raise the flaps for normal flight.
Flying
For your first flights with the recommended battery pack (SPMX22003S30), set your transmitter timer or a stopwatch to 5 minutes. After five minutes, land the aircraft. Adjust your timer for longer or shorter flights once you have flown the model. If at any time the motor pulses, land the aircraft immediately to recharge the flight battery. See the Low Voltage Cutoff (LVC) section for more details on maximizing battery health and run time.
Landing
Land the aircraft into the wind. Use high rate Elevator for landings. Use a small amount of throttle for the entire descent. Lower the throttle to ¼ and use your flaps switch to deploy the flaps to the landing or “full down position”. Flaps will make the landing approach steeper and slower, and allow for a smoother landing.
Keep the throttle on until the aircraft is ready to flare. During flare, keep the wings level and the aircraft pointed into the wind. Gently lower the throttle while pulling back on the elevator to bring the aircraft down on its wheels.
If landing on grass, it is best to hold full up elevator after touchdown and when taxiing to prevent nosing over.
Once on the ground, avoid sharp turns until the plane has slowed enough to prevent scraping the wingtips.
NOTICE: If a crash is imminent, reduce the throttle and trim fully. Failure to do so could result in extra damage to the airframe, as well as damage to the ESC and motor.
NOTICE: After any impact, always ensure the receiver is secure in the fuselage. If you replace the receiver, install the new receiver in the same orientation as the original receiver or damage may result.
NOTICE: Crash damage is not covered under warranty.
NOTICE: When you are finished flying, never leave the aircraft in direct sunlight or in a hot, enclosed area such as a car. Doing so can damage the aircraft
WARNING: Always decrease throttle at propeller strike.

Low Voltage Cutoff (LVC)
When a Li-Po battery is discharged below 3V per cell, it will not hold a charge. The ESC protects the flight battery from over-discharge using Low Voltage Cutoff (LVC). Before the battery charge decreases too much, LVC removes power supplied to the motor. Power to the motor pulses, showing that some battery power is reserved for flight control and safe landing.
Disconnect and remove the Li-Po battery from the aircraft after use to prevent trickle discharge. Charge your Li-Po battery to about half capacity before storage. During storage, make sure the battery charge does not fall below 3V per cell. LVC does not prevent the battery from over-discharge during storage.
NOTICE: Repeated flying to LVC will damage the battery.
Tip: Monitor your aircraft battery’s voltage before and after flying by using a Li-Po Cell Voltage Checker (SPMXBC100, sold separately
Repairs
Thanks to the Z-Foam™ material in this aircraft, repairs to the foam can be made using virtually any adhesive (hot glue, regular CA, epoxy, etc). When parts are not repairable, see the Replacement Parts List for ordering by item number. For a listing of all replacement and optional parts, refer to the list at the end of this manual.
NOTICE: Use of CA accelerant on your aircraft can damage paint. DO NOT handle the aircraft until accelerant fully dries.
Center of Gravity (CG)
The CG location is measured from the leading edge of the wing at the root. This CG location has been determined with the recommended Li-Po battery (SPMX22003S30) installed all the way forward in the battery compartment.
PNP Receiver Selection and Installation
The Spektrum™ AR631 receiver is recommended for this airplane. If you choose to install another receiver, ensure that it is at least a 6-channel full range receiver. Refer to your receiver manual for correct installation and operation instructions.
Installation (AR631 shown)
- Mount the receiver using double-sided servo tape. The receiver may be mounted upright, upside down or on its side, but it should be square with the fuselage in its mounting position. The receiver cannot be mounted at an odd angle.
TIP: For SAFE setups, install the receiver as close to the center of gravity of the aircraft as practical. - Connect the servos to their respective ports on the receiver using the chart below.
CAUTION: Incorrect installation of the receiver could cause a crash. Always perform a control surface check and AS3X control surface response test before flying a new setup, or after any setup changes.
IMPORTANT: When using Y-harness or servo extensions with Spektrum equipment, do not use reversing harnesses. Using reversing Y-harnesses or servo extensions may cause servos to operate erratically or not function at all.
AR631 Port Assignments
Bind/Prog/SRXL2= Bind, Aux Device Support, Program
- Throttle (Smart Throttle)
- Aileron
- Elevator
- Rudder
- NA
- Flaps
Motor Service
CAUTION: Always disconnect the flight battery before performing motor service.
Disassembly
- Remove the spinner screw (A) and spinner (B) from the propeller shaft (G).
- Remove the spinner nut (C) by using an adjustable wrench.
- Remove the propeller (D), back spinner hub (E), prop hub (F) and the propeller shaft from the motor shaft.
- Remove 4 screws from around the front cowling (H) and remove the cowling from the fuselage.
- Remove the 4 screws and the motor (I) with the mount (J) from the fuselage.
- Disconnect the motor wires from the ESC wires.
- Remove the 4 screws and motor from the mount.
Assembly
- Assemble in reverse order.
- Correctly align and connect the motor wire colors with the ESC wires.
- Install the propeller with the size numbers (10.75 X 8) facing out from the motor.
- Tighten the spinner nut to secure the propeller into place.

Post Flight
| Disconnect the flight battery from the ESC (Required for Safety and battery life). | Repair or replace all damaged parts |
| Power OFF the transmitter | Store the flight battery apart from the aircraft and monitor the battery charge. |
| Remove the flight battery from the aircraft | Make note of the flight conditions and flight plan results, planning for future flights |
| Recharge the flight battery. |
Troubleshooting Guide AS3X
| Problem | Possible Cause | Solution |
|
Oscillation | Damaged propeller or spinner | Replace propeller or spinner |
| Imbalanced propeller | Balance the propeller. For more information, view John Redman’s propeller balancing video at www. horizonhobby.com | |
| Motor vibration | Replace parts or correctly align all parts and tighten fasteners as needed | |
| Loose receiver | Align and secure receiver in fuselage | |
| Loose aircraft controls | Tighten or otherwise secure parts (servo, arm, linkage, horn and control surface) | |
| Worn parts | Replace worn parts (especially propeller, spinner or servo) | |
| Irregular servo movement | Replace servo | |
| Inconsistent flight performance | Trim is not at neutral | If you adjust trim more than 8 clicks, adjust the clevis to remove trim |
| Sub-Trim is not at neutral | No Sub-Trim is allowed. Adjust the servo linkage | |
| Aircraft was not kept immobile for 5 seconds after battery connection | With the throttle stick in lowest position. Disconnect battery, then reconnect battery and keep the aircraft still for 5 seconds | |
| Incorrect response to the AS3X Control Direction Test | Incorrect direction settings in the receiver, which can cause a crash | DO NOT fly. Correct the direction settings (refer to the receiver manual), then fly |
Troubleshooting Guide
| Problem | Possible Cause | Solution |
| Aircraft will not respond to throttle but responds to other controls | Throttle not at idle and/or throttle trim too high | Reset controls with throttle stick and throttle trim at lowest setting |
| Throttle servo travel is lower than 100% | Make sure throttle servo travel is 100% or greater | |
| Throttle channel is reversed | Reverse throttle channel on transmitter | |
| Motor disconnected from ESC | Make sure motor is connected to the ESC | |
| Extra propeller noise or extra vibration | Damaged propeller and spinner, collet or motor | Replace damaged parts |
| Propeller is out of balance | Balance or replace propeller | |
| Prop nut is too loose | Tighten the prop nut | |
| Reduced flight time or aircraft under- powered | Flight battery charge is low | Completely recharge flight battery |
| Propeller installed backwards | Install propeller with numbers facing forward | |
| Flight battery damaged | Replace flight battery and follow flight battery instructions | |
| Flight conditions may be too cold | Make sure battery is warm before use | |
| Battery capacity too low for flight conditions | Replace battery or use a larger capacity battery | |
| Aircraft will not Bind (during binding) to transmitter | Transmitter too near aircraft during binding process | Move powered transmitter a few feet from aircraft, disconnect and reconnect flight battery to aircraft |
| Aircraft or transmitter is too close to large metal object, wireless source or another transmitter | Move aircraft and transmitter to another location and attempt binding again | |
| The bind plug is not installed correctly in the bind port | Install bind plug in bind port and bind the aircraft to the transmitter | |
| Flight battery/transmitter battery charge is too low | Replace/recharge batteries | |
| Bind switch or button not held long enough during bind process | Power off transmitter and repeat bind process. Hold transmitter bind button or switch until receiver is bound | |
| Aircraft will not connect (after binding) to transmitter | Transmitter too near aircraft during connecting process | Move powered transmitter a few feet from aircraft, disconnect and reconnect flight battery to aircraft |
| Aircraft or transmitter is too close to large metal object, wireless source or another transmitter | Move aircraft and transmitter to another location and attempt connecting again | |
| Bind plug left installed in bind port | Rebind transmitter to the aircraft and remove the bind plug before cycling power | |
| Aircraft bound to different model memory (Model Match TM radios only) | Select correct model memory on transmitter | |
| Flight battery/Transmitter battery charge is too low | Replace/recharge batteries | |
| Transmitter may have been bound to a different air- craft using different DSM protocol | Bind aircraft to transmitter | |
| Control surface does not move | Control surface, control horn, linkage or servo damage | Replace or repair damaged parts and adjust controls |
| Wire damaged or connections loose | Do a check of wires and connections, connect or replace as needed | |
| Transmitter is not bound correctly or the incorrect airplanes was selected | Re-bind or select correct airplanes in transmitter | |
| Flight battery charge is low | Fully recharge flight battery | |
| BEC (Battery Elimination Circuit) of the ESC is dam- aged | Replace ESC | |
| Controls reversed | Transmitter settings are reversed | Perform the Control Direction Test and adjust the controls on transmitter appropriately |
| Motor power pulses then motor loses power | ESC uses default soft Low Voltage Cutoff (LVC) | Recharge flight battery or replace battery that is no longer performing |
| Weather conditions might be too cold | Postpone flight until weather is warmer | |
| Battery is old, worn out, or damaged | Replace battery | |
| Battery C rating might be too small | Use recommended battery |
AMA National Model Aircraft Safety Code
Academy of Model Aeronautics National Model Aircraft Safety Code
Effective January 1, 2018
A model aircraft is a non-human-carrying device capable of sustained flight within visual line of sight of the pilot or spotter(s). It may not exceed limitations of this code and is intended exclusively for sport, recreation, education and/or competition. All model flights must be conducted in accordance with this safety code and related AMA guidelines, any additional rules specific to the flying site, as well as all applicable laws and regulations.
As an AMA member I agree:
- I will not fly a model aircraft in a careless or reckless manner.
- I will not interfere with and will yield the right of way to all human carrying aircraft using AMA’s See and Avoid Guidance and a spotter when appropriate.
- I will not operate any model aircraft while I am under the influence of alcohol or any drug that could adversely affect my ability to safely control the model.
- I will avoid flying directly over unprotected people, moving vehicles, and occupied structures.
- I will fly Free Flight (FF) and Control Line (CL) models in compliance with AMA’s safety programming.
- I will maintain visual contact of an RC model aircraft without enhancement other than corrective lenses prescribed to me. When using an advanced flight system, such as an autopilot, or flying First-Person View (FPV), I will comply with AMA’s Advanced Flight System programming.
- I will only fly models weighing more than 55 pounds, including fuel, if certified through AMA’s Large Model Airplane Program.
- I will only fly a turbine-powered model aircraft in compliance with AMA’s Gas Turbine Program.
- I will not fly a powered model outdoors closer than 25 feet to any individual, except for myself or my helper(s) located at the flight line, unless I am taking off and landing, or as otherwise provided in AMA’s Competition Regulation.
- I will use an established safety line to separate all model aircraft operations from spectators and bystanders.
Limited Warranty
What this Warranty Covers – Horizon Hobby, LLC, (Horizon) warrants to the original purchaser that the product purchased (the “Product”) will be free from defects in materials and workmanship at the date of purchase.
What is Not Covered – This warranty is not transferable and does not cover (i) cosmetic damage, (ii) damage due to acts of God, accident, misuse, abuse, negligence, commercial use, or due to improper use, installation, operation or maintenance, (iii) modification of or to any part of the Product, (iv) attempted service by anyone other than a Horizon Hobby authorized service center, (v) Product not purchased from an authorized Horizon dealer, or (vi) Product not compliant with applicable technical regulations, or (vii) use that violates any applicable laws, rules, or regulations.
OTHER THAN THE EXPRESS WARRANTY ABOVE, HORIZON MAKES NO OTHER WARRANTY OR REPRESENTATION, AND HEREBY DISCLAIMS ANY AND ALL IMPLIED WARRANTIES, INCLUDING, WITHOUT LIMITATION, THE IMPLIED WARRANTIES OF NON-INFRINGEMENT, MERCHANTABILITY AND FITNESS FOR A PARTICULAR PURPOSE. THE PURCHASER ACKNOWLEDGES THAT THEY ALONE HAVE DETERMINED THAT THE PRODUCT WILL SUITABLY MEET THE REQUIREMENTS OF THE PURCHASER’S INTENDED USE.
Purchaser’s Remedy – Horizon’s sole obligation and purchaser’s sole and exclusive remedy shall be that Horizon will, at its option, either (i) service, or (ii) replace, any Product determined by Horizon to be defective. Horizon reserves the right to inspect any and all Product(s) involved in a warranty claim. Service or replacement decisions are at the sole discretion of Horizon. Proof of purchase is required for all warranty claims. SERVICE OR REPLACEMENT AS PROVIDED UNDER THIS WARRANTY IS THE PURCHASER’S SOLE AND EXCLUSIVE REMEDY.
Limitation of Liability – HORIZON SHALL NOT BE LIABLE FOR SPECIAL, INDIRECT, INCIDENTAL OR CONSEQUENTIAL DAMAGES, LOSS OF PROFITS OR PRODUCTION OR COMMERCIAL LOSS IN ANY WAY, REGARDLESS OF WHETHER SUCH CLAIM IS BASED IN CONTRACT, WARRANTY, TORT, NEGLIGENCE, STRICT LIABILITY OR ANY OTHER THEORY OF LIABILITY, EVEN IF HORIZON HAS BEEN ADVISED OF THE POSSIBILITY OF SUCH DAMAGES. Further, in no event shall the liability of Horizon exceed the individual price of the Product on which liability is asserted. As Horizon has no control over use, setup, final assembly, modification or misuse, no liability shall be assumed nor accepted for any resulting damage or injury. By the act of use, setup or assembly, the user accepts all resulting liability. If you as the purchaser or user are not prepared to accept the liability associated with the use of the Product, purchaser is advised to return the Product immediately in new and unused condition to the place of purchase.
Law – These terms are governed by Illinois law (without regard to conflict of law principals). This warranty gives you specific legal rights, and you may also have other rights which vary from state to state. Horizon reserves the right to change or modify this warranty at any time without notice.
WARRANTY SERVICES
Questions, Assistance, and Services – Your local hobby store and/or place of purchase cannot provide warranty support or service. Once assembly, setup or use of the Product has been started, you must contact your local distributor or Horizon directly. This will enable Horizon to better answer your questions and service you in the event that you may need any assistance. For questions or assistance, please visit our website at www.horizonhobby.com, submit a Product Support Inquiry, or call the toll free telephone number referenced in the Warranty and Service Contact Information section to speak with a Product Support representative.
Inspection or Services – If this Product needs to be inspected or serviced and is compliant in the country you live and use the Product in, please use the Horizon Online Service Request submission process found on our website or call Horizon to obtain a Return Merchandise Authorization (RMA) number. Pack the Product securely using a shipping carton. Please note that original boxes may be included, but are not designed to withstand the rigors of shipping without additional protection. Ship via a carrier that provides tracking and insurance for lost or damaged parcels, as Horizon is not responsible for merchandise until it arrives and is accepted at our facility. An Online Service Request is available at http://www.horizonhobby.com/content/service-center_ render-service-center. If you do not have internet access, please contact Horizon Product Support to obtain a RMA number along with instructions for submitting your product for service. When calling Horizon, you will be asked to provide your complete name, street address, email address and phone number where you can be reached during business hours. When sending product into Horizon, please include your RMA number, a list of the included items, and a brief summary of the problem. A copy of your original sales receipt must be included for warranty consideration. Be sure your name, address, and RMA number are clearly written on the outside of the shipping carton.
NOTICE: Do not ship LiPo batteries to Horizon. If you have any issue with a LiPo battery, please contact the appropriate Horizon Product Support office.
Warranty Requirements – For Warranty consideration, you must include your original sales receipt verifying the proof-of-purchase date. Provided warranty conditions have been met, your Product will be serviced or replaced free of charge. Service or replacement decisions are at the sole discretion of Horizon.
Non-Warranty Service – Should your service not be covered by warranty, service will be completed and payment will be required without notification or estimate of the expense unless the expense exceeds 50% of the retail purchase cost. By submitting the item for service you are agreeing to payment of the service without notification. Service estimates are available upon request. You must include this request with your item submitted for service. Non-warranty service estimates will be billed a minimum of ½ hour of labor. In addition you will be billed for return freight. Horizon accepts money orders and cashier’s checks, as well as Visa, MasterCard, American Express, and Discover cards. By submitting any item to Horizon for service, you are agreeing to Horizon’s Terms and Conditions found on our website http://www.horizonhobby.com/ content/service-center_render-service-center
ATTENTION: Horizon service is limited to Product compliant in the country of use and ownership. If received, a non-compliant Product will not be serviced. Further, the sender will be responsible for arranging return shipment of the un-serviced Product, through a carrier of the sender’s choice and at the sender’s expense. Horizon will hold non-compliant Product for a period of 60 days from notification, after which it will be discarded.
Contact Information
| Country of Purchase | Horizon Hobby | Phone Number/Email Address | Address |
| United States of America | Horizon Service Center (Repairs and Repair Requests) | servicecenter.horizonhobby.com/RequestForm/ | 2904 Research Rd Champaign, Illinois, 61822 USA |
| Horizon Product Support (Product Technical Assistance) | [email protected] | ||
| 877-504-0233 | |||
| Sales | [email protected] | ||
| 800-338-4639 | |||
| European Union | Horizon Technischer service | [email protected] | Hanskampring 9 D 22885 Barsbüttel, Germany |
| Sales: Horizon Hobby GmbH | +49 (0) 4121 2655 100 |
FCC Information
FCC ID: BRWSPMSR6200A
Supplier’s Declaration of Conformity
EFL Valiant 1.3m BNF Basic and PNP (EFL49500 and EFL4975)
This device complies with part 15 of the FCC Rules. Operation is subject to the following two conditions: (1) This device may not cause harmful interference, and (2) this device must accept any interference received, including interference that may cause undesired operation
CAUTION: Changes or modifications not expressly approved by the party responsible for compliance could void the user’s authority to operate the equipment
NOTE: This equipment has been tested and found to comply with the limits for a Class B digital device, pursuant to part 15 of the FCC Rules. These limits are designed to provide reasonable protection against harmful interference in a residential installation. This equipment generates, uses and can radiate radio frequency energy and, if not installed and used in accordance with the instructions, may cause harmful interference to radio communications. However, there is no guarantee that interference will not occur in a particular.
Installation. If this equipment does cause harmful interference to radio or television reception, which can be determined by turning the equipment off and on, the user is encouraged to try to correct the interference by one or more of the following measures:
- Reorient or relocate the receiving antenna.
- Increase the separation between the equipment and receiver.
- Connect the equipment into an outlet on a circuit different from that to which the receiver is connected.
- Consult the dealer or an experienced radio/TV technician for help.
Horizon Hobby, LLC
2904 Research Rd.,
Champaign, IL 61822
Email: [email protected]
Web: HorizonHobby.com
IC Information
CAN ICES-3 (B)/NMB-3(B)
IC: 6157A-SPMSR6200A
This device contains license-exempt transmitter(s)/receivers(s) that comply with Innovation, Science, and Economic Development Canada’s license-exempt RSS(s). Operation is subject to the following 2 conditions:
- This device may not cause interference.
- This device must accept any interference, including interference that may cause undesired operation of the device.
Compliance Information for the European Union
EU Compliance Statement:
EFL Valiant 1.3m BNF Basic (EFL49500); Hereby, Horizon Hobby,
LLC declares that the device is in compliance with the following:
EU Radio Equipment Directive 2014/53/EU, RoHS 2 Directive 2011/65/EU, RoHS 3 Directive – Amending 2011/65/EU Annex II 2015/863.
EFL Valiant 1.3m PNP (EFL4975); Hereby, Horizon Hobby, LLC declares that the device is in compliance with the following: EU EMC Directive 2014/30/EU, RoHS 2 Directive 2011/65/EU, RoHS 3 Directive – Amending 2011/65/EU Annex II 2015/863.
The full text of the EU declaration of conformity is available at the following
internet address: https://www.horizonhobby.com/content/support-rendercompliance.
Wireless Frequency Range and Wireless Output Power:
2404 – 2476 MHz
5.58dBm
WEEE NOTICE:
This appliance is labeled in accordance with European Directive 2012/19/EU concerning waste of electrical and electronic equipment (WEEE). This label indicates that this product should not be disposed of with household waste. It should be deposited at an appropriate facility to enable recovery and recycling.
EU Manufacturer of Record:
Horizon Hobby, LLC
2904 Research Road
Champaign, IL 61822 USA
EU Importer of Record:
Horizon Hobby, GmbH
Hanskampring 9
22885 Barsbüttel Germany
Australia/New Zealand:
Replacement Parts
| Part # | Description |
| EFL4951 | Painted Valiant 1.3 fuse |
| EFL4952 | Painted Valiant 1.3 wing |
| EFL4953 | Valiant 1.3 carbon wing tube |
| EFL4954 | Valiant 1.3 Spinner |
| EFL4955 | Valiant 1.3 Landing gear set |
| EFL4956 | Valiant 1.3 Hardware/screw set |
| EFL4957 | Valiant 1.3 Float Struts |
| EFL4958 | Valiant 1.3 pushrod set |
| EFL4959 | Valiant 1.3 Motor mount/hardware |
| EFL4960 | Valiant 1.3 Plastic part set (cowl, door, joiner) |
| EFL4961 | Valiant 1.3 Vertical Fin/Rudder |
| EFL4962 | Valiant 1.3 Horizontal stab / elevator |
| EFLA1030B | 30-Amp Pro Switch-Mode BEC Brushless ESC (V2) |
| SPMSA381 | SV80 Short Lead 3-Wire Servo: AB3 |
| SPMSA382 | SV80 Long Lead 3-wire servo: T28 |
| EFLM480BL | 480 BL Out runner Motor; 960Kv |
| EFLP107580 | Propeller: 10.75 X 8 |
| SPMAR631 | AR631 6-Ch SAFE and AS3X Receiver |
Optional Parts
| Part # | Description |
| HBZ7390 | Float set |
| EFLA250 | Park Flyer Tool Assortment, 5 pc |
| RVO1005 | Ball Link Pliers |
| EFLAEC302 | EC3 Battery Connector, Female (2) |
| EFLAEC303 | EC3 Device/Battery Connector, Male/ Female |
| SPMX22003S30 | 11.1V 3S 30C 2200MAH Li-Po |
| SPMX22003S50 | 11.1V 3S 50C 2200MAH Li-Po |
| DYNC2030 | Prophet Sport LiPo 50W AC Charger |
| SPMXC1080 | Spektrum Smart S1100 1x100W AC Charger |
| SPMA3081 | AS3X Programming Cable – Audio Interface |
| SPMA3065 | AS3X Programming Cable – USB Interface |
| DYN1405 | Li-Po Charge Protection Bag, Large |
| DYN1400 | Li-Po Charge Protection Bag, Small |
| DXe DSMX 6-Channel Transmitter | |
| DX6i DSMX 6-Channel Transmitter | |
| DX6 DSMX 6-Channel Transmitter | |
| DX6e DSMX 6-Channel Transmitter | |
| DX7G2 DSMX 7-Channel Transmitter | |
| DX8G2 DSMX 8-Channel Transmitter | |
| DX9 DSMX 9-Channel Transmitter | |
| DX18 DSMX 18-Channel Transmitter | |
| DX20 DSMX 20-Channel Transmitter |
© 2021 Horizon Hobby, LLC.
E-flite, Valiant, AS3X, DSM, DSM2, DSMX, the DSMX logo, Bind-N-Fly, BNF, the BNF logo, Plug-N-Play, SAFE, the SAFE logo, Z-Foam, Model Match, Dynamite, EC3, Prophet and the Horizon Hobby logo are trademarks or registered trademarks of Horizon Hobby, LLC.
The Spektrum trademark is used with permission of Bachmann Industries, Inc.
Futaba is a registered trademark of Futaba Denshi Kogyo Kabushiki Kaisha Corporation of Japan.
All other trademarks, service marks and logos are property of their respective owners. US 9,056,667. US 9,753,457. US 10,078,329. US 9,930,567. US 10,419,970.. US 8,672,726. Other patents pending. http://www.e-fliterc.com/
References
RC Airplanes and Helicopters, RC Cars and Trucks, RC Boats, RC Radios | Horizon Hobby
Home - Know Before You Fly
Product Serivce Center
RC Cars, RC Trucks, RC Airplanes, Model Trains, and Slot Cars at Tower Hobbies
RC Airplanes & Helicopters, RC Cars & Trucks, RC Boats, RC Radios | e-Flite
RC Airplanes and Helicopters, RC Cars and Trucks, RC Boats, RC Radios | Horizon Hobby
RC Airplanes and Helicopters, RC Cars and Trucks, RC Boats, RC Radios | Horizon Hobby
RC Airplanes and Helicopters, RC Cars and Trucks, RC Boats, RC Radios | Horizon Hobby
registermyuas.faa.gov/
RC Airplanes and Helicopters, RC Cars and Trucks, RC Boats, RC Radios | Horizon Hobby



































































