anslut 011763 Lamp with Motion Sensor LED

SAFETY INSTRUCTIONS
- Designed for indoor and outdoor use.
- Battery powered only.
- Do not mix old and new batteries,
or batteries of different types, for example rechargeable batteries and non-rechargeable batteries. Replace all the batteries at the same time. Insert the batteries with the correct polarity. - Battery flu id from leaking batteries can cause burns on the skin. Wear safety gloves if you need to handle leaking batteries.
- Never modify the product, this can invalidate the warranty.
- The product must be discarded if the glass front is cracked.
- The LED light source is not replaceable. When the light source has reached the end of its useful life the complete product must be replaced.
- Remove the batteries if the product is not going to be used for some time.
TECHNICAL DATA

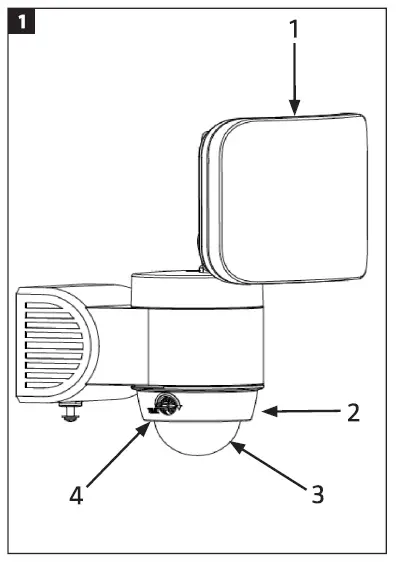
DESCRIPTION
- Lamp housing
- Control dial for lighting-up time
- Motion sensor
- Control dial for light sensitivity FIG. 1

INSTALLATION
- Choose a place for installation so that the product illuminates the required area and is protected from direct exposure to precipitation.
- The range of the motion detector depends on how high the product is installed. At the recommended installation height of 2 metres the motion detector has a range of 10 met res at a detection angle of 140 °.
- Check before installation that the motion detector will not be lit up by street lighting when it goes dark as this can interfere with the functionality of the product.
- Undo the screw underneath the product with a Phillips screwdriver. Remove the mounting plate on the back of the product.
- Use the plate as a template to mark the position of the holes to be made in the wall.
- Check before drilling that there are no concealed wires or pipes.
- Drill holes as per the markings and use expander plugs and screws to mount the plate on the wall.

- Press the lock tabs on the battery cover and remove the cover.
- Insert 3 batteries in the battery compartment with the correct polarity as shown by the markings.

- Replace the battery cover.
- Fit the product on the mounting plate and lock in place with the screw.

- Set the required lighting-up time with the control dial marked TIME. The time can be set from 3 seconds to 7 minutes (+/-10%).
- Use the control dial marked LUX to set the ambient light level during which the motion detector will switch on the product. With the dial in position er it will only light up in the dark. With the dial in position ;:) it will also light up in the daylight.
USE
- The product is controlled by the ambient light and a motion detector-the light goes on in twilight or darkness when the motion detector detects infrared radiation from passing persons. The light stays on from about 3 seconds to 7 minutes (+/-10%), which is set with the control dial marked TIME.
- The ambient light level during which the motion detector will respond and switch on the light can be set with the control dial marked LUX.
NOTE:
If additional movement is detected after the motion detector has switched on the light, the time is reset to zero and a new time period starts.
- The motion detector responds to thermal radiation (infrared radiation). At low ambient temperatures it is therefore more sensitive to body heat than at high ambient temperatures.
- Street lighting, light from buildings or other artificial light, can affect the product so that it does not switch on even though it is dusk or dark. Turn the control dial LUX to position
to increase the upper level for the light level at which the light is switched on. If the light switches on in daylight, turn the control dial marked LUX to position
to lower the light level at which the light is switched on.
MAINTENANCE
- Clean the lamp with a soft, slightly damp cloth. Abrasive or corrosive detergent or solvent must not be used.
- Clean the motion detector at regular intervals to ensure correct functionality.
REPLACING THE BATTERY
- Undo the screw and remove the product from the mounting plate.
- Release and remove the battery cover, remove the old batteries and insert new ones of the same type with the correct polarity as shown by the markings in the battery compartment.
- Replace the battery cover, fit the product on the mounting plate and lock in place with the screw























