SUMMIT SBC696OSNK 24 Inch Wide Built in Outdoor Kegerator

APPLIANCE SAFETY
Your safety and the safety of others are very important.
We have provided many important safety messages in this manual and on your appliance. Always read and obey all safety messages.
This is the Safety Alert Symbol. The symbol alerts you to potential hazards that can kill or injure you and others. All safety messages will follow the Safety Alert Symbol and either the words “DANGER” or “WARNING”.
![]()
DANGER means that failure to heed this safety statement may result in severe personal injury or death.![]()
WARNING means that failure to heed this safety statement may result in extensive product damage, serious personal injury, or death.
All safety messages will alert you about the potential hazard, tell you how to reduce the chance of injury, and let you know what can happen if the instructions are not followed.
IMPORTANT SAFEGUARDS
Before the appliance is used, it must be properly positioned and installed as described in this manual, so read the manual carefully. To reduce the risk of fire, electrical shock or injury when using the appliance, follow basic precautions, including the following:
![]()
- Plug into a grounded 3-prong outlet, do not remove grounding prong, do not use an adapter, and do not use an extension cord.
- Replace all panels before operating.
- It is recommended that a separate circuit serving only your appliance be provided. Use receptacles that cannot be turned off by a switch or pull chain.
- Never clean appliance parts with flammable fluids. These fumes can create a fire hazard or explosion. And do not store or use gasoline or other flammable vapors and liquids in the vicinity of this or any other appliance. The fumes can create a fire hazard or explosion.
- Before proceeding with cleaning and maintenance operations, make sure the power line of the unit is disconnected. Failure to do so can result in electrical shock or death.
- Do not connect or disconnect the electric plug when your hands are wet. · Do not attempt to repair or replace any part of your appliance unless it is specifically recommended in this manual. All other servicing should be referred to a qualified technician.
- This appliance is CFC- and HFC-free and contains small quantities of Isobutane (R600a) which is environmentally friendly, but flammable. It does not damage the ozone layer, nor does it increase the greenhouse effect. Care must be taken during transportation and setting up of the appliance that no parts of the cooling system are damaged. Leaking coolant can ignite and may damage the eyes.
- In the event of any damage: o Avoid open flames and anything that creates a spark,
o Disconnect from the electrical power line,
o Air the room in which the appliance is located for several minutes, and
o Contact the Service Department for advice. - The more coolant there is in an appliance, the larger the room it should be installed in. In the event of a leakage, if the appliance is in a small room, there is the danger of combustible gases building up. For every ounce of coolant at least 325 cubic feet of room space is required. The amount of coolant in the appliance is stated on the data plate on the back of the appliance. It is hazardous for anyone other than an Authorized Service Person to carry out servicing or repairs to this appliance.
- Take serious care when handling, moving, and using the appliance to avoid either damaging the refrigerant tubing or increasing the risk of a leak.
![]()
FOLLOW WARNING CALLOUTS BELOW ONLY WHEN APPLICABLE TO YOUR MODEL
- This unit is intended FOR INDOOR USE ONLY
- Use two or more people to move and install appliance. Failure to do so can result in back or other injury.
- To ensure proper ventilation for your appliance, at least 4 inches (100mm) of space should be kept between the back of the unit and the wall to allow proper air circulation to cool the compressor and condenser. Choose a well-ventilated area with temperatures above 50°F (10°C) and below 109°F (43°C). Do not install in a location where the unit will be exposed to direct sun exposure as this may result I unsatisfactory performance
- The appliance should not be located next to ovens, grills or other sources of high heat.
- Never place heavy objects or items containing water on top of the unit. Spilled water could deteriorate the insulation of electrical components and result in electrical leakage.
- The appliance must be installed with all electrical, water and drain connections in accordance with state and local codes. A standard electrical supply (115 V AC only, 60 Hz), properly grounded in accordance with the National Electrical Code and local codes and ordinances, is required.
- Do not throw items onto the shelves and do not place items totaling more than 65 lbs. on each shelf. The shelf could fall, possibly causing injury.
- Do not kink or pinch the power supply cord of the appliance.
- The size of the fuse (or circuit breaker) should be 15 amperes.
- It is important that the appliance be leveled in order to work properly. You may need to make several adjustments to level it.
- All installations must be in accordance with local plumbing code requirements.
- Make certain that the pipes are not pinched, kinked or damaged during installation.
- Check for leaks after connection
- Never allow children to operate, play with or crawl inside the appliance.
- Do not allow anyone to hang from the door or climb onto the unit. The unit could tip over and fall, causing material damage and injury.
- Do not use solvent-based cleaning agents or abrasives on the interior. These cleaners may damage or discolor the interior.
- This appliance is intended for storage and display of beverages for sale. Use this appliance only for its intended purpose.
- Keep fingers out of the “pinch point” areas. Clearances between the doors and between the doors and cabinet are necessarily small. Be careful closing doors when children are in the area.
![]()
Risk of child entrapment!
Child entrapment and suffocation are not problems of the past. Junked or abandoned appliances are still dangerous, even if they will “just sit in the garage a few days”.
Before discarding your old refrigerator:
- Take off the doors
- Leave the shelves in place so that children may not easily climb inside.
– SAVE THESE INSTRUCTIONS –
INSTALLATION INSTRUCTIONS
Before Using your Appliance
- Remove the exterior and interior packaging, but do not remove any foam insulation surrounding the pipes at the back.
- Before connecting the unit to the power source, let it stand upright for approximately 24 hours. This will reduce the possibility of a malfunction in the cooling system from handling during transportation.
- Clean the interior surface with lukewarm water using a soft cloth. · Place the unit on a flat, solid floor that is strong enough to support it when it is fully loaded. To level the appliance, adjust the rolling casters at the bottom of the unit.
- When moving your refrigerator, please do not incline it more than 45 degrees.
- Locate the appliance away from direct sunlight and sources of heat (stove, heater, radiator, etc.). Direct sunlight may affect the acrylic coating and heat sources may increase electrical consumption. Extreme cold ambient temperatures may also cause the unit to perform improperly. The optimal ambient temperature range is S0°F – 109 .4°F. Do not mount the draft tower remotely, as the exposed beer line will not be refrigerated, causing foam. Avoid locating the unit in damp areas.
- Unwind the power cord to its full length and inspect for damage before plugging into the outlet.
- Plug the refrigerator into an exclusive, properly installed and grounded wall outlet. Do not under any circumstances cut or remove the third (ground) prong from the power cord. Any questions concerning power and/or electrical grounding should be directed to a certified electrician or authorized products service center. After plugging the appliance into a wall outlet, allow the unit to cool down for 3 to 4 hours before installing a keg in the appliance.
Locating your Appliance
- The Kegerator is designed from built-in or freestanding installation and is suitable for indoor and outdoor use.
- For freestanding installation, 5″ (127mm) of space at the back and sides of the unit and 4″ (102mm) at the top are suggested, which allows the proper air circulation to cool the compressor and condenser for energy saving. Even for built-in installation, it is a must to keep at least 3/16″ (5mm) of space on each side, 2″ (50mm) at the back and 1/16″ (1.6mm) at the top to ensure proper service access and ventilation. The air vent at the front of the appliance must never be covered or blocked in any way.
Guardrail Installation
- Place the guardrail on top of the beer dispenser and line up the feet with the holes on top of the cabinet
- Using the screws provided, secure each foot to the cabinet.

Caster Installation
- Remove everything from the cabinet and lay the unit on a clean, dry, and padded sur face
- Install casters into the holes on the bottom of the unit as show n and tighten with a wrench
- The two casters equipped with locks should be installed on the front of the unit
- Once all four casters are attached, return the beer dispenser to an upright position
- Allow the unit to sit for 8-10 hours before plugging in to allow the refrigerant to settle.

Installing the Handle
This appliance includes a stainless-steel handle that is not required to operate this unit. To install the handle please follow the below instructions:
- Pull away the door gasket in the area where the handle is to be
installed as shown in Illustration. The gasket is easily displaced by hand, no tools are necessary. - Locate the screws included in the bag with the user’s guide. Insert the screws into the holes as shown.
- Align the handle with the screws installed. Tighten the screws using a Phillips head screwdriver until the handle sets both flush and secured tightly against the door frame. (DO NOT over tighten as this will cause damage to the handle assembly).
- Replace the door gasket to its original position.

Reversing the Door Swing of your Appliance
CAUTION: Before reversing the door swing, please read and follow the reversal instructions below carefully. Skipping steps might result in unexpected personal injury. To prevent serious injury, wear eye and hand protection.
This unit has the capability of the door opening from either the left or right side. The unit is delivered to you with the door opening from the left side. Should you desire to reverse the opening direction, please follow the reversal instructions shown below.
NOTE: All parts removed must be saved to allow the door swing to be reversed.
Step 1
A. Take out two hex keys from a bag in the cabinet. Insert the small hex key (1) to the axes (2).
B. Rotating the axes (2) clockwise.
C. Use the big hex key (3) to push the pin (4) until you can remove the pin by hand.
Step 2
A. Remove the top right screws (5) from the right top hinge (6). Gently pull down the door and place it on a padded surface to avoid the risk of damage.
B. Transfer the top left screws (7) to cover the top right holes.
Step 3
A. To hang the axes (2) to the opposite and put the caps (8) and (9) to cover the holes (10) and (11) at the same time.
Step 4
A. Remove the screws (5) from the hinge plate (13).
B. Place the hinge plate (13) on the bottom left.
C. Fix the screws (5) on the hinge plate (13) again.
Step 5
A. Place the axes (2) on the left hinge plate.
Step 5
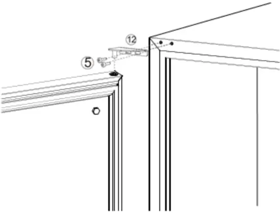
A. Screw the alternative left top hinge (12) included with the unit, onto the left-hand side of the cabinet, and tighten it after the door is leveled.
Step 6
A. Place the axes (2) on the left hinge plate.
Step 7
A. Loosen the small screw a little (around 0.3″), making sure the pin is not higher than the screw.
B. Use the small hex key (1) to rotate the axes (2) counter-clockwise.
C. Insert the pin (4) when you find your desired self-closing strength.
CALIFORNIA CARS/SNAP DISCLOSURE
This product uses eco-friendly hydrocarbon refrigerant and fully complies with California CARB regulations.
However, we are required by California law to provide the fo llo1eving disclosure statement in every product sold in California.
*This equipment is prohibited from use in California with any refrigerants on the ‘List of Prohibited Substances’ for that specific end-use, in accordance with California Code of Regulations, title 17, section 95374. This disclosure statement has been reviewed and approved by Felix Storch, Inc. and Felix Storch, Inc. attests, under penalty of perjury, that these statements are true and accurate.*
This product does not use any refrigerants on the ‘List of Prohibited Substances”
OPERATING YOUR APPLIANCE
The Kegerator is ab le to maintain the proper dispensing temperature for beer, provided it is installed correctly in the proper environment. For best results, mount the draft tower as close to the top of the kegerator as possible and seal any openings to prevent heat transfer. Avoid opening and closing the door of the kegerator too often to ensure a consistent temperature inside the unit. Factory preset temperature is 34 degrees Fahrenheit.
The kegerator should be placed in an area where the ambient temperature range is between 50109.4 degrees Fahrenheit (10-43 degrees Celsius). If the ambient temperature is above or below this range, the performance of the unit may be affected. For example, placing your unit in extreme cold or hot conditions may cause interior temperatures to fluctuate. Please be aware that the desired temperatures may fluctuate depending on the ambient temperature and the orientation of the keg.
Control Panel

ON/OFF Power![]()
To turn the appliance ON or OFF, press and hold the POWER key
for 5 seconds.
UP
and DOWN![]()
Press
first, then press
or
to increase (warm) or decrease (cool) the set temperature by 1°C/1°F.
Press
again, the temperature is selected and shows the actual temperature. If no other button is pressed
°C/°F Selector
Selects the temperature display setting in Fahrenheit or Celsius. To change the temperature from Fahrenheit to Celsius or from Celsius to Fahrenheit, press
and
at the same time, then hold for 6 seconds.
Setting the Temperature
- The range of the temperature control is from 32°F to 50°F (0°C to 10°C).
- To view the set temperature at any time, press the
key. The set temperature will flash in the display window for 6 seconds. After 6 seconds, the temperature inside the unit will reappear in the display window.
NOTE: The temperature preset at the factory is 34°F (1°C).
Defrosting
The Kegerator defrosts automatically under normal operating conditions. Condensate collects in the drainage channel behind the rear wall of the unit, and flows through a drainage hole into the drip tray near the compressor, where it evaporated. Frost may accumulate on the evaporator if the unit is repeatedly opened in high heat or high humidity locations. If this frost pattern does not clear within 24 hours, the appliance will require manual defrosting.
Interior Light
The unit has an inside light that switches on when the door is opened and turns off automatically when the door is closed.
Internal Fan
The Kegerator is equipped with an internal fan that circulates the air inside to help maintain a consistent temperature from top to bottom.
Alarms
- Door Alarm: A buzzing sound will alert you that the door had been left open for longer than a minute. Press any button on the control panel to silence the buzzer, or simply close the door.
- High/Low Temperature Alarm: This alarm will alert you if the interior cabinet temperature rises above 86°F (30°C) or below 5°F (-15°C). Press any button to turn off the alarm.
Black Plastic Tube
This tube directs cold air into the beer tower, as shown in the illustration at the right.

NOTE: If the unit is unplugged or power is lost or turned off, you must wait 3 to 5 minutes before restarting the unit. If you attempt to restart before this time delay, the unit will not start.
CARE AND MAINTENANCE
Cleaning your Appliance
- Turn off the power, unplug the appliance, and remove all items including the dispense kit.
- Wash the inside surfaces with warm water and baking soda solution. The solution should be about 2 tablespoons of baking soda to a quart of water.
- Wring excess water out of the sponge or cloth when cleaning area of the controls, or any electrical parts.
- Wash the outside cabinet with warm water and mild liquid detergent. Rinse and wipe dry with a clean soft cloth. Do not use steel wool or a steel brush on the stainless steel. These will contaminate the stainless steel with steel particles and rusting may occur.
- Dust the front grill and back of the unit twice yearly. Make sure the power is off before cleaning.
- It is recommended to clean the unit completely inside and out yearly to maximize the longevity of the product.
Moving your Appliance
- The provided casters will allow you to roll the appliance from one location to another in your home easily.
- For transportation, remove the keg, the dispense kit and any other items you may have inside the unit.
- Securely tape down all loose items inside your appliance and tape the door shut.
- Be sure the appliance stays secure in the upright position during transportation.
- Protect the outside of the appliance with a blanket or similar item.
Energy-Saving Tips
- Place the unit in the coolest area of the room, away from heat-producing appliances and out of direct sunlight
- Let heated items and beverages cool to room temperature before placing them into the appliance
- Do not overload the beer dispenser as it forces the compressor to run longer
- Wrap items properly and wipe containers dry before placing them in the unit to cut down on frost build-up
- Do not line shelves with aluminum foil, wax paper, or paper towels, as liners can interfere with cold air circulation, reducing cooling efficiency
- Position items so that air can circulate freely around them
- Do not leave door open for longer than required
- Make sure items do not touch the back of the storage compartment
- Do not set the thermostat to exceedingly cold temperatures
TROUBLESHOOTING
There are many common issues you may experience with your kegerator that can be solved very easily, without the need of a service call. Try the tips below to troubleshoot your unit should you experience any problems:
| PROBLEM | POSSIBLE CAUSE |
| Kegerator does not operate |
|
| Kegerator is not cold enough |
|
| Kegerator is turning on and off frequently |
|
| The light does not work |
|
| Vibrations |
|
| The kegerator seems to make too much noise |
|
| The door will not close properly |
|
| Smell/odor |
|
| Outer surface of appliance is wet |
|
| External surface is warm |
|
If the problem continues after taking the proper remedial actions, disconnect the power cord from the
wall outlet and transfer stored items to another container. Then call Summit’s toll-fee Customer Service number at 1-800-932-4267.
LIMITED WARRANTY
ONE-YEAR LIMITED WARRANTY
Within the 48 contiguous United States, for one year from the date of purchase, when this appliance is operated and maintained according to instructions attached to or furnished with the product, warrantor will pay for factoryspecified parts and repair labor to correct defects in materials or workmanship. Service must be provided by a designated service company. Outside the 48 states, all parts are warranted for one year from manufacturing defects. Plastic parts, shelves and cabinets are warranted to be manufactured to commercially acceptable standards, and are not covered for damage during handling or breakage.
5-YEAR COMPRESSOR WARRANTY
- The compressor is covered for 5 years.
- Replacement does not include labor.
ITEMS WARRANTOR WILL NOT PAY FOR:
- Service calls to correct the installation of your appliance, to instruct you how to use your appliance, to replace or repair fuses or to correct wiring or plumbing.
- Service calls to repair or replace appliance light bulbs or broken shelves. Consumable parts (such as filters) are excluded from warranty coverage.
- Damage resulting from accident, alteration, misuse, abuse, fire, flood, acts of God, improper installation, installation not in accordance with electrical or plumbing codes, or use of products not approved by warrantor.
- Replacement parts or repair labor costs for units operated outside the United States.
- Repairs to parts or systems resulting from unauthorized modifications made to the appliance.
- The removal and reinstallation of your appliance if it is installed in an inaccessible location or is not installed in accordance with published installation instructions.
DISCLAIMER OF IMPLIED WARRANTIES; LIMITATION OF REMEDIES
CUSTOMER’S SOLE AND EXCLUSIVE REMEDY UNDER THIS LIMITED WARRANTY SHALL BE PRODUCT REPAIR AS PROVIDED HEREIN. IMPLIED WARRANTIES, INCLUDING WARRANTIES OF MERCHANTABILITY OR FITNESS FOR A PARTICULAR PURPOSE, ARE LIMITED TO ONE YEAR. WARRANTOR SHALL NOT BE LIABLE FOR INCIDENTAL OR CONSEQUENTIAL DAMAGES. SOME STATES DO NOT ALLOW THE EXCLUSION OR LIMITATION OF INCIDENTAL OR CONSEQUENTIAL DAMAGES, OR LIMITATIONS ON THE DURATION OF IMPLIED WARRANTIES OF MERCHANTABILITY OR FITNESS, SO THESE EXCLUSIONS OR LIMITATIONS MAY NOT APPLY TO YOU. THIS WARRANTY GIVES YOU SPECIFIC LEGAL RIGHTS AND YOU MAY ALSO HAVE OTHER RIGHTS, WHICH VARY FROM STATE TO STATE.
WAIRNIN’G: This produd ,can expose you to ,chemicals including Nickel
(Metallic) which is known to the State of California to cause ,cancer.
For more· information go to www.P65Wamings.ca.gov
Note: Nickel is a component in all stainless steel and some other metal components.





















