pulsFOG Turbo ULV Portable Pneumatic Cold Fogger Instruction Manual
TURBO ULV SAFETY INSTRUCTIONS
Intended Use
The pulsFOG foggers are designed for fogging all kinds of pesticides, disinfectants and pest control agents authorized and approved for this type of application insofar as there are no risks for the environment, human beings and animals involved. Failure to comply with these may result in fire or accidents. Observe the EU Directive 89/391/EC (e.g. Article 6) and 1999/92/EC (ATEX 137, Article 5)
Contrary to intended use
Contrary to intended use and improper handling may cause hazards for people, objects andenvironment. With a not intended use of the unit the general permit of operation/use expires.
- The equipment is restricted to professional use by persons of age and qualified operators
- Read and respect instruction manual of the unit and of the pesticide. However, without restricting the unit manufacturer’s operating instructions in any way.
- Observe the applicable regulations of the local public utility.
- Only use extension cables for a power consumption of min. 1,0 kW.
- Fogging tap must be closed every time if engine is not running.
- Check the functional safety of the unit (e.g. by trial fogging with water). Repair any loose or leaking lines. If functional safety is not ensured, do not put the unit into operation.
- Observe the material safety data sheet of the fogging product.
- The pesticide must be officially approved for the intended application
- Wear suitable protective clothing during the preparatory work and when fogging (full-face mask with filter A2 B2-P3, protective suit, gloves, rubber boots) .
- Any formation of aerosols or fogs from flammable substances or acids releasing oxygen and clor in a mixture with air and/or dust always involves the risk of fire or explosion if there is a source of ignition.
- Observe the explosion limit of a pesticide and avoid over dosage accordingly. Only use noninflammable liquids (without a flash point) for treatments in rooms where a dust explosion hazard exists. Unit is not explosion proof.
- Use Oxygen and chlorine releasing chemicals (e.g. peroxides) and other acids only with acid resistant equipment. Ph-value limited from 4,5-8,5
- Do not fog towards hot surfaces or electric cables.
- Do not fog in rooms with a temperature exceeding 35°C.
- Only treat well closed rooms
- Arrange the unit in a safe and upright position with the hand piece hooked or carry it with the strap over your shoulder. In case of stationary use, do not leave the unit unattended. Carry out automatic or stationary room fogging with highly inflammable liquids only from the outside in (the turbine must take in fog-free cooling air).
- Open or close the fogging valve only with the motor running. If the motor stops unintentionally, close the fogging valve immediately and depressurise the tank (When the motor stops and the fogging tap is open, after-dripping of fogging liquid may occur)
- Make sure to distribute the fog evenly in the room. In stationary applications, provide for air circulation.
- Secure treated rooms against unauthorized access (i. e. provide warnings outside). Always keep treated rooms closed and eliminate leakages. Ventilate treated rooms sufficiently before re-using them.
Store in a safe place, use the original cardboard box if possible; store in a dry and dust-free room, protected against tilting and only with the rinsed chemical tank empty.
Portable Pneumatic Cold Fogger
Congratulations on choosing the Turbo ULV! This system is particularly effective, has a robust construction and is simple to operate. Please read the following instructions carefully to ensure the system’s long operational life.
Technical Data
- Packing Dimensions: 59x35x37 cm
- Packing Weight: 8,3 kg
- Contents of the chemical tank: nominal 5 litres
- Flow rate: 5.3 l/h – max. 48 l/h
Flow rate with dosing nozzle 0.7 mm:*): 5.3 l/h at max. power (inbuilt) - Flow rate with dosing nozzle 0.8 mm:*): 7.7 l/h at max. power
- Flow rate with dosing nozzle 1.0 mm *): 10.8 l/h at max. power
- Remaining quantity: 20 ml
- Electrical voltage: 110 Volt/ 50-60 Hz AC
- Electrical power: 1.0 kW /4.4 A
- Effective fog trajectory range: max. 25 m (without change of direction)
- Droplet size: between 10 and 50 µm according to the set flow rate (metering nozzle)
- Noise level: 70 db (A)
Accessories
- Funnel with sieve, mesh width 0.4 mm
- Sling
- Dosing nozzle 0.8 mm
- Dosing nozzle 1.0 mm
- Sealing rings
- Replacement preliminary filter
- Operating instructions
Spare parts:
Air filter: consisting of preliminary filter and main filter
* measured during fogging
Recommended accessories / options
- Mixing set consisting of 2 l measuring cup, 250 ml measuring cup, wooden stirring stick
- Continuously adjustable flow control (adjustable nozzle)
Technical description
The system consists of the following functional groups:
- Metal casing with turbine blower, intake filter and on-off switch
- Sheet steel chassis, powder coated with transparent chemical tank
- Chemical piping with intake filter
- Flow valve with metering nozzles
- Eddy current nozzle in hand piece with flexible spiral hose
The strong 1,000-Watt electric engine is assembled in a metal casing, which has a large air inlet opening with an air filter and a narrowed air outlet opening for the pressurised air produced. The compressed air (max. 60°C) empties into a 90 cm longflexible spiral hose. The diffuser nozzle with handle is fastened onto the end of this hose. At the opening of the nozzle a vacuum is created by the released compressed air. This vacuum sucks in the fog liquid from the chemical tank via a flow control unit with a stop function. A smaller air pressure is conveyed from the blower onto the chemical tank for assistance.
According to the flow rate used, the Turbo ULV produces particulate matter with a diameter of 10 – 50 µm. It is possible to carry out precision regulation according to the opening angle of the manual fog control valve. However, repeat accuracy is guaranteed by the alternating nozzles.
Suitability
The Turbo ULV is suitable for the production of particulate matter from aqueous fluids with a low viscosity (< 10 cSt). Operation is carried out by specialist personnel in the areas of pesticide use in greenhouses, stock protection, hygiene, disinfection of animal facilities and aerosol vaccination in animal facilities. Aqueous solutions, emulsions, suspensions or dispersions may be used. The dilution of the medium used in the application of pesticides must be at least in the ratio 1:20 (100 ml in 2 l water); in the production of suspensions it must be at least 1:30 (see section “Dosage”). The dilution of disinfectants must be at least 1:3, i.e. 1 part medium + 2 parts water. Carry out applications with inflammable liquids (dilution of more than 3 ltr/1000 m³ ) only from the outside in, i.e. only the fogging nozzle is in the room to be treated, whereby the fog distribution has to be guaranteed through air circulation.
Warning: In the case of stationary use in the space where the atomisation is to take place, the preliminary filter (and possibly the main filter) must be changed every hour. It is therefore better to carry out treatment working inwards from the outside. Blocked air filters lead to the engine overheating.
The following are materials which the fog liquid comes into contact with: polyethylene, polyamide, Viton, Teflon, aluminium, nickel. The chemical dichlorvos causes Viton to expand after long exposure times. The chemical pipe must be rinsed immediately after use. The system is suitable for the use of weaker acids and alkalis (pH values 5 – 9) for disinfection. In the case of operation in the fog, it should be ensured that acidic steams do not have a long-term effect on the engine or reduce the operational life of 500 hours.
Operating the system
Preparation
- Check that the system is switched off.
- Close the manual fog control valve.
- Make sure that the dosing nozzle is fixed properly.
- Disconnect the chemical tank from the system fitting; use the funnel to fill with the required amount of medium, reconnect to the system and shut tightly.
Note: According to investigations carried out by the VDI (German Association of Engineers), the largest risk of contamination with noxious substances occurs in the production of the media mixture. Therefore, always wear the appropriate protective equipment – even during the preparatory stage.
Producing the media mixture
Only ever prepare as much media as will be immediately needed for use. It is recommended to use the mixing set for the preparation of the media mixture. This can be purchased additionally as an accessory. It consists of: 2 l measuring cup, 250 ml measuring cup and a wooden stirring stick.
First, determine the amount of chemical in the 250 ml measuring vessel, then dilute with water in the 2 l measuring cup, stir and pour into the chemical tank of the system. Mix larger amounts in a bucket. Then put some water in the 250 ml measuring cup, swirl it around to clean and then pour into the 2 l measuring cup. Pour in additional water and add a sufficient amount to the chemical tank as is needed for the planned application.
The production of a suspension with spraying powder takes place by first adding a little water to make the determined spraying powder amount into a lump-free paste in the 2 l measuring cup, which is then continuously diluted. The calculated amount of water will have been prepared in a bucket beforehand. The produced suspension in the 2 l measuring cup is then mixed into the water in the bucket using the stirring stick.
Warning: Produced mixtures must not be stored for later use. Therefore only prepare the amount that is needed for immediate use.
Note
The Turbo ULV does not have a stirring device. It is therefore recommended to start the application immediately and to shake the tank slightly at regular intervals, when the tank lid is tightly closed.
Metering the medium
The dosage is largely based on the amounts tested and approved by the manufacturer per unit of area, space or weight, e.g.
- In pesticide use: 1 kg/ha
- In animal facility disinfection: 2 – 3 l/1,000 m³
- In pest control: 10 ml/100 m3
- In stock protection: 8 ml/1 t
In these cases the dosage is adjusted proportionally to the area, space or tonnage to be treated. Dilution with water in the use of pesticides and in pest control is at a ratio of 1:20 (e.g. 100 ml in 2 l water) to 1:30 according to the type of medium (emulsion or suspension) and in the area of hygiene, ratios of 1:2 to 1:5 are used, according to requirements. In the disinfection of animal facilities, the lowest ratio of 1:2 can be used, if the system is being used on wet wall areas.
Gardening
If the dosage of the medium is only known as spray water concentration data (e.g. 0.1%), the pre-converted values for the atomisation can be taken from the following table:
| Fog dosage per 3,000 m³or 1,000 m²in the greenhouse | Concentrationspraying method | 0.01%10 ml/hl | 0.05%50 ml/hl | 0.1%100 ml/hl | 0.15%150 ml/hl | 0.2%200 ml/hl | 0.25%250 ml/hl |
| Normal | 10 ml (g) | 50 ml (g) | 100 ml (g) | 150 ml (g) | 200 ml (g) | 250 ml (g) | |
| Medium | 20 ml (g) | 100 ml (g) | 200 ml (g) | 300 ml (g) | 400 ml (g) | 500 ml (g) | |
| Maximum | 30 ml (g) | 150 ml (g) | 300 ml (g) | 450 ml (g) | 600 ml (g) | 750 ml (g) |
Animal facility disinfection
If there is no established fog dosage in the facility disinfection, the following rule can be used (if possible, facility surfaces must be dripping wet before treatment):
Conventional spraying method:
1% Fog process: 1.5 to 2.0 l medium + 3 to 4 l water per 1,000 m³ space.
2% Fog process: 3.0 to 4.0 l medium + 6 to 8 l water per 1,000 m³ space.
From this it can be seen that media, which are used in conventional spraying methods with concentrations of 1% or less, should preferably be used for the fog process to reduce the duration of atomisation.
Starting the engine
First close fogging tap!
Connect the system to a 110 V safety socket and switch “ON“ (turbine compressor starts).
Warning: Only use extension cables for a power consumption of min. 1,0 kW. Rolled cables could overheat and lead to automatic cut-off.
Atomisation
After starting the motor, open the manual fog control valve. According to the size of metering nozzle used, a faster or slower flow of the fog liquid is achieved with correspondingly larger or finer droplets. Furthermore, fine-tuning can be carried out using the manual fog control valve, but this cannot be reproduced exactly. The flow rates are determined with water and with hooked hand piece. High strength mixtures have a higher viscosity and lead to lower values.
Flow rate (analized with turbine 230 V)
Dosing nozzle 0.7 mm:
Flow rate 5.3 l/h. Preferred nozzle for pest control in spaces with sensitive surfaces, stored goods or seed stock. Short, direct fog application from at least 2 m away is possible to improve the depth of penetration on accessible points. Otherwise, fog is applied indirectly in the air space. When used in the greenhouse, fog may not be directly applied to flowering plants. Stationary use is possible with the aid of a ventilator and timer.
Dosing nozzle 0.8 mm:
Flow rate 7.7 l/h. This nozzle should preferably be used for spraying powder formulations if good plant covering is needed. A damp spraying fog is produced. Direct application of the fog onto plant crops must be avoided. The dilution of the medium must be at least 1:25, i.e. 25 litres of water to 100 g pesticide. Also suitable for aerosol vaccination in animal facilities.
Dosing nozzle 1.0 mm:
Flow rate 10.8 l/h. Damp spraying fog for special applications that require a high chemical precipitation. Treated surfaces become damp. Do not continue spraying until the object is dripping wet, and do not use on flowers. Medium dilution: 10 litres of water to 100 g pesticide.
Larger dosing nozzles
Can be used for spraying methods with lower chemical concentrations. The flow rate then increases to more than 50 l/h.
The droplet sizes increase to more than 50 µm. The following flow rates are achieved:
- Dosing nozzle 1.5 mm 23 l/h
- Dosing nozzle 2.0 mm 33 l/h
- Dosing nozzle 2.5 mm 44 l/h
- Dosing nozzle 3.0 mm 46 l/h
Without a metering nozzle, but with a hollow bolt: 48 l/h. Without a hollow bolt: 57 l/h.
Application in plant protection
The Turbo ULV is carried through the crops using a long electric cable / the fog jet is directed over the crops into the open air space. With a medium path, a trajectory range of up to 15 m can be expected. Constant movement and shaking of the nozzle head will result in a reduction of the trajectory range.
Warning
The plants may never be sprayed with the abovementioned concentrations so much that they get wet. Avoid applying fog directly to flowers.
The length of fog application is dependent on the metering nozzle used and the viscosity of the medium, as well as the lever setting of the manual fog control valve. During work, the transparent chemical tank must regularly be checked for the consumption of the fog medium, so that its contents can be distributed equally throughout the space to be treated. Half of the fog liquid in the tank must have been used when the halfway point of the surface to be treated is reached.
Types of application
- Stationary
- Mobile method
Stationary (= space treatment):
The system is placed on a desk with a hooked-on fog nozzle hand piece, and is started with a slightly upward angle. The fog is directed into the empty air space. Use dosing nozzle no. 7, or possibly dosing nozzle no. 8, if no fall-out is observed in the close-up area. In spaces larger than 1,000 m³ air circulation must be induced using one or more ventilators. This will prevent local fall-out and will guarantee even distribution. If possible, the Turbo ULV should not be inside the fog in order to prevent blockages of the air filter. This would cause the engine to overheat which could lead to inflammation if inflammable liquids are applied. The hand piece can be positioned up to 1 m above the system. The resulting reduced flow rate can be balanced out using a larger dosing nozzle. The hand piece with the fogging nozzle should not be fixed on a lower position as the tank level in order to avoid the continued flow out of the liquid in case the power supply is suddenly interrupted.
Warning: Do not bend spiral hose. The turbine could overheat due to the reduced profile.
Mobile method
The system is carried over the shoulder using the sling, and the handgrip with the fog nozzle is directed at the target. When treating a space, the fog is applied indirectly in the empty air space and the fog direction is changed so that an even distribution is achieved. When carrying out a surface treatment, the fog jet is channelled over the surface to be treated, and the direction must be constantly changed to avoid an excessive dosage or wetting of the surface to be treated. The handle with the fog nozzle should not be positioned more than 1 m above the system as the pressure in the chemical tank is not sufficient to transport the fog liquid any higher than this. The flow rate reduces proportionally to how high the fog nozzle head is positioned above the system.
Ending atomisation
If the fog tank is empty or if atomisation needs to be ended, first shut the manual fog control valve while the blower is running. After a few seconds, turn off the blower as well. Loosen the cover of the chemical tank to discharge pressure.
Warning
If the engine is stopped when the nozzle is hanging down, the fog liquid will flow out of the nozzle head. If the nozzle head is kept upright and you forget to shut the manual fog control valve before switching off the blower, the fog liquid can still escape from the nozzle and flow back into the spiral hose up until it reaches the turbine blower if there is a slight excess pressure in the chemical tank. This could damage the turbine.
Cleaning
After finishing work, empty the tank and always rinse out with clear water. Dispose of the rinsing liquid correctly. Atomise approx. 0.5 l of warm water to clean the chemical pipes. Check and, if necessary, change the preliminary filter (and possibly also the main filter, see also point 2) in the air intake area after approx. 5 operational hours. Always wipe off the surfaces of the system again with a damp cloth.
Warning
According to the ambient air temperature the handle heats to a temperature a little bit higher than body temperature by the heated compressed air. If the filter is choked by fouling, the cooling air that flows less is heated more. This leads to a higher abrasion of the engine.
Guarantee
For a duration of 24 months – limited to 500 machine hours i.e. wear-and tear of carbone, starting from the invoice date, we will provide free repairs for proven manufacturing and material defects in accordance with the conditions of the valid original guarantee card. For this to take place the system must be delivered postage free and exempt from costs to the Überlingen site (Germany) or to an authorised repairs station. The system tank must be completely empty. The owner incurs the transport costs and the transport risk.
An analysis will then take place, and a quotation will be given for all work not covered by the guarantee. Contamination and blockages, which lead to a defect, are not covered by a guarantee. Work carried out to remove any such residues, and any possible disposal of unemptied tanks, must be included in the invoice (minimum in voice value € 25. ).
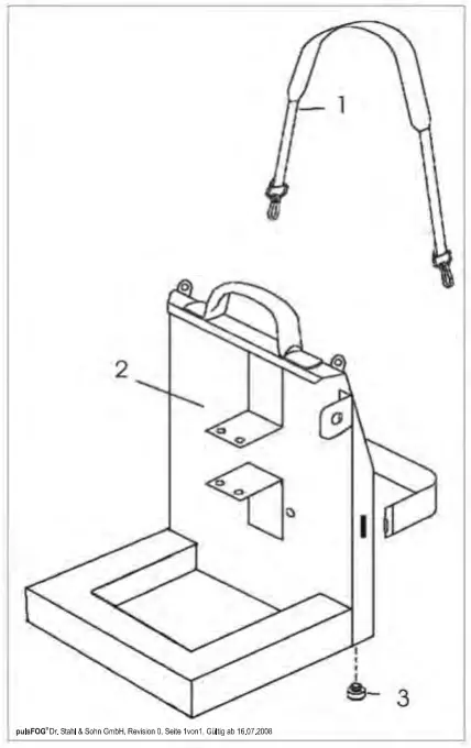
pulsFOG Turbo ULV Chassis
| Pos. No. | Description | Art.-No. |
| 1 | Sling | Z00002. |
| 2 | Chassis Turbo ULV | G00286. |
| 3 | Plastic feet | Z00075. |
Blower unit cpl. (motor and hand piece) Turbo ULV
| Pos. No. | Description | Art.-No. |
| 1 | Hand piece cpl. with eddy current nozzle and tubes Turbo ULV | G00293. |
| 2 | Cylinder head screw M3 x 25 Turbo ULV | N00244. |
| 3 | Lid for nozzle Turbo ULV | Z00524. |
| 4 | Eddy current nozzle Turbo ULV | Z00523. |
| 5 | Cylinder head screw M3 x 10 Turbo ULV | N00245. |
| 6 | Tube clip size 8 | N00015. |
| 8 | Solution tube 1330mm Viton Turbo ULV | F00240. |
| 9 | Air tube 1150 mm rubber Turbo ULV | F00241. |
| 10 | Air tube 75mm black | F00075. |
| 11 | Non-return valve (red/grey) Turbo ULV | G00294. |
| 12 | Hand piece casing Turbo ULV | Z00522. |
| 13 | Flexible tube 940 mm Turbo ULV | Z00528. |
| 14 | Tube clip size 35 -40 Turbo ULV | Z00534. |
| 15 | Butterfly nut M6 Turbo ULV | N00246. |
| 16 | Disc 6,5 x 12 Turbo ULV | N00256. |
| 17 | Filter casing Turbo ULV | Z00520. |
| 18 | Preliminary filter Turbo ULV (for main filter) (1 Set with 10 pce.) | Z00519. |
| 19 | Main air filter Turbo ULV | Z00521. |
| 20 | Cheese head screw M5 x 10 | N00242. |
| 21 | Washer M5 | N00099. |
| 22 | Connecting cable with plug kpl Turbo ULV | Z00505. |
| 23 | Cable strain relief cpl. with nut black Turbo ULV | G00323. |
| 24 | Rear Motor casing Turbo ULV | Z00511. |
| 25 | Motor ventilation/turbine cpl. 110 V Turbo ULV | G00335. |
| 27 | Connecting cable (switch/motor) black 200 mm Turbo ULV | F00269. |
| 28 | Gasket motor casing Turbo ULV | Z00513. |
| 29 | Switch On/ Off without seal bonnet | Z00398. |
| 30 | Isolation Turbo ULV | F00266. |
| 31 | Hexagon screw M5 x 10 | N00072. |
| 32 | Tooth lock washer (internal) ø 5,3 | N00019. |
| 33 | Cylinder head screw M5 x 6 MS | N00027. |
| 34 | Front Motor casing Turbo ULV | Z00562. |
| 35 | Holder for hand piece Turbo ULV | Z00512. |
| 36 | Motor casing cpl. incl. turbine 110 V Turbo ULV | G00336. |
| 37 38 | Blower unit cpl. (motor 110 V and hand piece) Turbo ULVSeal bonnet for switch | G00337.Z00026. |
Fog solution installation cpl. Turbo ULV

| Pos. No. | Description | Art.-No. |
| 1 | Dosing nozzle size 7 “acid resistant” (Ø 0,7 mm) | Z00564. |
| 2 | Gasket 8x12x1 Fi | N00059. |
| 2 | Gasket 8x12x1 ALU “acid resistant” | N00061. |
| 3 | Nozzle cane Turbo ULV | Z00531. |
| 4 | Gasket 10x14x1,5 PA | N00250. |
| 5 | Ring piece with nut (anodized) Turbo ULV | N00248. |
| 5 | Ring piece stainless steel (welded) incl. Tube clip (size 8) “acid resistant “ | G00351. |
| 6 | Fog tap cpl. for Turbo ULV | G00289. |
| 7 | Lock washer S M10x1 | N00031. |
| 8 | Flat hexagon nut M10x1 brass | N00030. |
| 9 | Supporting spring 8,5×160 for Novoprene/Viton | Z00062. |
| 10 | Fog solution tube 195 mm Viton Turbo ULV | F00245. |
| 11 | Supporting spring 8,5×100 for Novoprene/Viton | Z00095. |
| 12 | Fog solution tube 120 mm Viton Turbo ULV | F00387. |
| 13 | Air tube 195 mm rubber Turbo ULV | F00246. |
| 14 | Lid with bore-hole (tri-cornered) | F00097. |
| 15 | Passage | Z00051. |
| 16 | Laminate gasket | Z00052. |
| 17 | Fog solution tube 310 mm Viton | F00066. |
| 18 | Solution tank with lid 5 ltr. | F00129. |
| 19 | Single suction piece (PA with brass-weight) | G00165. |
| 19 | Single suction piece (PA with stainless steel weight) “acid resistant” | G00166. |
| 20 | Fog solution installation cpl. Turbo ULV | G00287. |
Support
Dr. Stahl & Sohn GmbH
Abigstrasse 8 -D-88662 Überlingen/Germany
Tel.: +49 7551 92610
Fax: +49 7551 926161
E-mail: [email protected]




















