Figollty JH-A32 Rechargeable Hearing Aid for Seniors

Please read this user manual thoroughly and completely before using the product.
IMPORTANT SAFETY INSTRUCTIONS
Read all the information in this instruction manual and any other literature included in the box before using the device.
CONTRAINDICATION
The device should not be used in the following situations:
- Patients with chronic suppurative otitis media (CSOM),congenital ear atresia, or any type of ear discharge
- Anyone under 36 months old
WARNINGS
Keep small parts (hearing instrument, ear domes, battery or other detachable parts) that can be swallowed out of children’s reach. Dropping, immersing in liquid, exposure to strong electromagnetic fields or excessive heat will damage the hearing amplifiers. Remove devices prior to any type of X-ray, MRI, or CT scan. If parts become stuck in the ear canal, seek medical assistance – do not attempt to remove by yourself.
Notice
- Do not use at high volume for extended periods of time – ear injury can result.
- If you experience any pain or strong discomfort using the devices, remove and consult a doctor.
- Routine maintenance to keep the device clean is required
- Ensure that ear domes are free of debris and moisture at all times.
- Avoid shocks or dropping the product.
- Do not store or use the product in environments of high humidity or temperature (such as sauna room), to avoid damage.
- Batteries should be properly recycled and not disposed in the trash.
- Keep the devices away from small children. Injury or damage may result.
- Do not set volume levels too high. Listening with high-output devices for extended periods at high volume levels can cause further hearing damage.
- Do not share your hearing amplifiers with others. Using a hearing amplifier configured for someone else can result in hearing damage or injury.
- Monitor for any unusual skin reaction. If you notice any allergic reaction (itchiness, swelling, or rash), stop wearing the hearing amplifiers and consult a medical specialist.
- Do not touch the hearing amplifiers to any type magnet or magnetized object. Your hearing amplifiers are delicate electronic instruments and may be damaged by contact with strong magnetic fields
- Do not attempt to open or repair the devices yourself.
- Damage can result and will void the warranty.
- Do not store your devices in hot/humid locations. You should never leave your hearing amplifiers near heating appliances or in direct sunlight.
- Do not leave your hearing amplifiers in the car as inside temperatures can reach dangerous levels which could damage the devices.
- Do not use the hearing amplifiers together with a cell phone earpiece directly – excessive noise and distortion may result. Instead, use via Bluetooth pairing with your cell phone. Radio wave emissions from mobile phones can cause noise in the hearing amplifiers or result in reduced volume.
- Please contact the MANUFACTURER:
For assistance, if needed, in setting up, using, or maintaining your devices or to report any unexpected operation or events

DO NOT USE IF ANY OF THE FOLLOWING APPLY TO YOU
- Congenital atresia of external ear or deformity of any part of the ear canal
- Deafness is unstable, and the degree of hearing loss often fluctuates
- Persistent headaches, dizziness, earaches, tinnitus or other symptoms that are not suitable for adaptation
- Sudden onset of hearing loss within the past 3 months; rapid progressive deafness; unilateral hearing loss or another acute ear disease;
- Effusion (secretions/discharge) in the ear and/or frequent purulence (pus)
- Central deafness (central nervous system) or non-organic deafness
- Patients with acute otitis externa and tympanitis
- Patients with acute and chronic suppurative otitis media (in the period of purulent infection)
- Patients who are allergic to the materials of this product
Matters needing attention, warnings and tips
- Do not immerse the hearing amplifier in any liquid. Remove the hearing amplifier before swimming or bathing. After swimming or washing, wait for the ear canal to dry before wearing the hearing amplifier.
- After removing the hearing amplifier at night, it should be placed in a case with a desiccant if possible, protected from light, high temperature and high humidity environment.
- The external surfaces of the hearing amplifier should be kept clean, and earwax in the ear domes should be cleaned out daily
- Applicable objects Suitable for people with air-conducting hearing loss of about 30-50dB
- When you do not use hearing amplifiers, please charge the product regularly to avoid battery damage; The recommended charging time interval of hearing amplifiers is <2s days.
HOW TO USE YOUR DEVICE
- Microphone
- Volume Adjustment/ Hearing Mode Change
- Microphone
- Ear Dome
- Charging contacts
- In-Ear Detection Sensor

- Lip
- Hearing Amplifier charging inserts with left/ right indicators
- Left-side hearing amplifier charging indicator
- Charging case charging indicator
- Right-side hearing amplifier charging indicator
- Type-C connection to external power supply
- Battery check button/ Charge ON/OFF
HOW TO APPLY DOMES
Please follow these steps to mount domes, because Incorrect dome replacement could result in the dome being left in the ear when you remove the hearing amplifier.
- Step 1: Choose a suitable size ear dome.

- Step 2: Push the ear dome rim membrane outward.

- Step 3: Hold on to the end of the hearing amplifier and push firmly to ensure that the dome is fastened securely.
Notes: After the ear dome is installed. pull the ear dome gently to see if it is firmly installed and ensure the ear dome does not fall off easily.
WARNING: It may be in few circumstances that the ear dome remain attached to the auditory meatus after the hearing amplifier is taken out. In that case, please ask a professional doctor to take the ear dome out. Do NOT deal with it yourself, you could easily cause further damage.
LEFT & RIGHT HEARING AMPLIFIER MARKINGS
There is an R or L marking on the hearing amplifier. This will tell you if it is a left or a right-hearing amplifier.
Helpful Hints
- Minor irritation and/or inflammation may occur as your ear becomes accustomed to having an object in it; if so, please contact your hearing professional. There are several different sizes of ear domes that may be more comfortable.
- If an actual allergic reaction occurs, alternative ear dome materials are available; contact your hearing professional.
- Severe swelling. discharge from the ear, excessive wax or other unusual conditions warrant immediate consultation with a physician.
WEARING/REMOVING HEARING AMPLIFIER
The in-ear detection sensor will carry out rea l-time intelligent detection on the operation status of the hearing amplifier. When the hearing amplifier is removed, it will automatically enter the standby status; When you place the hearing amplifier in the ear, it will automatically turn on.
Wearing hearing amplifier
- Step 1: Hold the hearing amplifier body (hard part), place in the ear (Make sure it is in right direction like picture).
- Step 2: Move the body slightly into auricle for holding until feeling comfortable.
Removing the hearing amplifier
Step 1: Grasp the protruding hearing amplifier and remove it from your auricle.
Notice
- It may be in few circumstances that the ear dome remain attached to the auditory meatus after the hearing amplifier is taken out improperly In that case, please ask a professional doctor to take the ear dome out.
- The creak sound can be used as a reference to determine whether the hearing amplifier is secured. If the hearing amplifier gives out squeaking, please check if it is taken on correctly; if so, but the squeaking remains, please replace with the other set of ear domes. When the hearing amplifier is not in use, please turn it off without delay.
- When the hearing amplifier is not functioning properly, please check the “Troubleshooting Guide”. If none of the solutions work, please contact our after-sales service team.
TURN ON/TURN OFF
- Turn On: Take the hearing amplifier out of the charging case, the hearing amplifier will enter the standby status. The hearing amplifier will turn on automatically in 3 seconds when you wear the hearing amplifier correctly in the ears.
- Turn Off: The hearing amplifiers will automatically enter the standby status when you remove it from your ear. Put the hearing amplifiers back into the correct slot of the charging case , they will automatically turn off and start charging.
Note: The hearing amplifier built-in with a ‘delay turn on’ function, after placed correctly in the ear canal, automatically turns on after 3 seconds delay from the ‘beep’ tone.
Charging case Turn On/Off
- Press and hold the lower part of button for 1 second. Until the white light flash three times, the charging case is on.
- Press and hold the lower part of button for 5 seconds Until the blue light flash three times, the charging case is off.
VOLUME ADJUSTMENT
The hearing amplifier has six(6) volume levels Adjust the volume until the level you are comfortable with.
- Short press the “+” button to increase the volume
- Short press the “–” button to decrease the volume
- You will hear a “Beep” when you turn the volume up or down, and when the volume is adjusted to highest or lowest level, it will give out the prompt tone of “Beep-Beep-Beep”.
HEARING MODE CHANGE
- The hearing amplifier has 4 different hearing modes.
- You can cycle through the 4 hearing modes by long press of the “+”button or “-“button for three (3) seconds to change the hearing mode
- The hearing amplifier is designed with the memory function: The hearing amplifier can automatically record the previously tuned hearing mode.

- Press “+” button to increase the volume (Short Press once)
- Press “–” button to decrease the volume (Short Press once)

Note: You need to perform the operation on BOTH of the devices separately to change modes and volume adjustments.
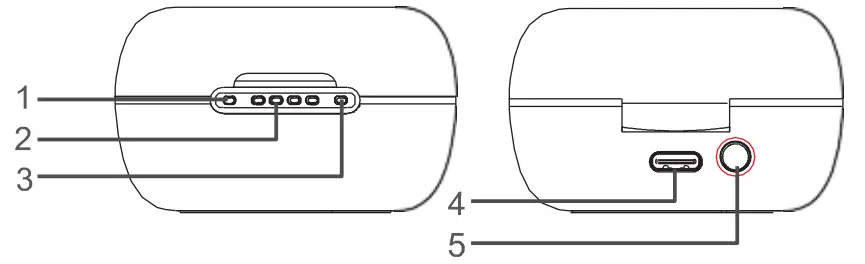
HEARING AMPLIFIER CHARGING
Before using your hearing amplifier for the first time, it is recommended to charge it for 2 hours. Put the hearing amplifier back into the correct slot of the charging case, they will automatically turn off and start charging. Blue light will indicate hearing amplifiers are charging. After fully charged, they will light in white and automatically turn off indicates charging is complete, so the hearing amplifiers can be safely left in the charger.
Hearing amplifier Low Power warning: You will hear the notification sound when the hearing amplifier battery drops below 15%, you have to charge the hearing amplifiers.
- Left-side hearing amplifier charging indicator
- Charging case charging indicator
- Right-side hearing amplifier charging indicator
- Type-C connection to external power supply
- Battery check button/ Charge ON/OFF
CHARGING CASE
The charging case will charge via the USB port on the case. The rising bars (1 to 4) will indicate the level of charge in the case. When fully charged the indicator light will be constantly on, i.e. solid blue light.
(See details in the table for Charging Indicator Changes of the Charging Case)
HOW TO USE THE CHARGING CASE
- Plug the larger end of the charging cable into the power supply such as a power charger or your computer.
- Plug the smaller end into the type-c port on the hearing
amplifier charger case. - The charging case will charge via the USB port on the case. The rising bars (1 to 4) will indicate the level of charge in the case. When the case is charging, the indicator shows a blue solid light, and fully charged the indicator light will shows a solid blue light will be constant . Once the case can be unplugged from power, solid blue light will automatically shut off after 10 seconds.
- The fully charged case offers 3 full charging cycles for a pair of hearing amplifiers.
- The charging process will automatically stop when the case and hearing amplifiers are fully charged, so the hearing amplifiers can be safely left in the charger. Place it on a flat even surface away from exposure to moisture, dust, or extreme temperatures.
- Charging case Turn ON/OFF: Press and hold the lower part of button for 1 second. Until the white light flash three times, the charging case is on. Press and hold the lower part of button for 5 seconds. Until the blue light flash three times, the charging case is off.
Charging Indicator Changes of the Charging Case

Note
- To check the remaining battery status of the charging case, press the battery check button. The indicator will show the status.
- Charging case Low Power: The charging case indicator will flash blue when the charging case battery drops below 25%, please charge the case.
- When the hearing amplifier and case is not functioning properly, please check the “charging case troubleshooting table”. If none of the solutions work, please contact our after-sales service team.
MAINTENANCE AND CLEANING
Daily maintenance
It is important to keep your devices clean and dry. On a daily basis, wipe them clean using a soft cloth or tissue. To avoid potential damage from excess humidity or perspiration, the use of a drying kit is also recommended.
Care and maintenance
When not in use, store in a secure area away from small children and pets. Do not place hearing amplifiers or charging case near high-temperature areas such as stoves or direct sunlight. Do not leave the devices in a humid place for a long time, such as a bathroom. Take care not to poke the microphone holes with any sharp objects to avoid damage. Do not disassemble or attempt any repairs by yourself. Doing so will void your warranty.
Cleaning
Cleaning the ear domes
- Remove any earwax buildup using the enclosed tool. Wipe clean with a tissue or soft cloth.
- please use the thin side of the cleaning brush to clean the ear dome of earwax and debris.
- Remove ear dome from the hearing amplifier before cleaning, and push the ear dome rim membrane outward.

- Remove ear dome from the hearing amplifier before cleaning, and push the ear dome rim membrane outward.
- Wipe the earwax with alcohol and dry cloth. Wait for the ear domes to dry before attaching them to the hearing amplifier.
Note: We recommend that you change the dome every three months. If the dome get stiff, brittle or discolored over time, please change them sooner.
Cleaning Tool
- Use a soft cloth or tissue to wipe any moisture, perspiration, or debris from the surface of the tool.
Note: Do not use alcohol or other cleaning solvents to clean the hook as this could damage the protective covering.
HEARING AMPLIFIERS CARE
- Keep your hearing amplifiers clean. Extreme temperatures (heat or cold), moisture, and foreign substances can result in poor performance.
- Use the cleaning brush tool or soft cloth to clean debris from around the buttons, microphones, and charging contacts; inspect the receiver, ear tips, and charging case regularly.
- Never use water, solvents, cleaning fluids or oils to clean your hearing amplifiers.
- Charging contacts should always be kept clean and dry.
- Always store your hearing amplifiers in the charging case when not in use or cleaning.
Charging Case Care
- Keep your charger clean. Heat, moisture and foreign materials can result in poor performance.
- Using the provided cleaning brush keep the charging ports clear of debris.
- Do not use water, solvents or cleaning fluids to clean the charging ports.
- Keep lid closed as much as possible to avoid dust and debris build-up.
- Store your charger in a clean and dry location, i.e. a dresser or shelf rather than the bathroom or kitchen.
- To ensure the longest life of your rechargeable hearing amplifiers batteries and the batteries in the charger:
- Fully charge hearing amplifiers batteries every night.
Service and Repair
If, for any reason, your hearing amplifier does not operate properly, do NOT attempt to fix it yourself. Not only are you likely to violate any applicable warranties or insurance, you could easily cause further damage. Should your hearing amplifier fail or perform poorly, check the Troubleshooting Guide on the next page for possible solutions. If problems continue, contact us or your hearing professional for advice and assistance. Many common problems may be solved right in your hearing professional’s office or clinic.
WARNING: DO NOT OPEN THE HEARING AMPLIFIER OR CHARGER, NO USER-SERVICEABLE PARTS INSIDE.
TROUBLESHOOTING GUIDE


Hearing amplifier failure self-checking table

Note: If the problem persists, contact your hearing care professional for assistance.
TIPS FOR BETTER COMMUNICATION
It will take practice, time, and patience for your brain to adapt to the new sounds that your hearing amplifiers provide. Hearing is only part of how we share thoughts, ideas and feelings. Reading lips, facial expressions, and gestures can help the learning process and add to what amplification alone may miss.
Please review the following simple communication tips
For You
- Move closer to and look at the speaker
- Sit face-to-face in a quiet room if possible
- Try out different locations to find the optimal places to listen
- Minimize distractions
- Background noises may be frustrating at first; remember, you have not heard them for a while
- Let others know what you need; keep in mind that people cannot “see” your hearing loss
- Develop realistic expectations of what your hearing amplifiers can and cannot do
- Better hearing with hearing amplifiers is a learned skill combining desire, practice, and patience. You will learn and adjust, it just takes a little time. Remember to be patient with yourself.
For Your Family and Friends
- Your family and friends are also affected by your hearing loss.
Request that they
- Get your full attention before beginning to speak
- Look at you or sit face-to-face
- Speak clearly and at a normal rate and level; shouting can actually make understanding more difficult
- Rephrase rather than repeat the same words; different words may be easier to understand
- Minimize distractions while speaking
TECHNICAL SPECIFICATION

Accessories List
- Charging Case: 1
- Hearing Amplifiers: 2
- Ear Domes: 6
- Manual: 1
- USB Cable: 1
Optional accessories list
- Adapter: 1
- Input: 100-240V-50/60Hz 0.2A
- Output: 5V 1A 5W
NORMALIZED SYMBOLS

MAINTENANCE, STORAGE, AND DISPOSAL
Maintenance
- We do not authorize any institution or individual to maintain and/or repair the product. If you suspect that the products may be in question, please contact us immediately.
- The user must not attempt any repairs to the device or any of its accessories. Please contact us for any repair needs.
- Opening of the equipment by unauthorized agencies is not allowed and will terminate any claim to warranty.
- Warning: No modification of this equipment is permitted.
Storage
- Always store your devices in the Charging Case when not in use.
- Do not store or expose the devices and/or case to extreme hot/cold temperatures, moist/humid environments, or shock/vibration.
- Keep the devices and case in following environmental ranges -10″C 55°C, 10%-90%RH, 700-1060 hPa
Disposal
Please dispose of the device in accordance with the directive 2002/96/EC – WEEE (Waste Electrical and Electronic Equipment). If you have any questions, please refer to your local authority responsible for waste disposal.
WARRANTY
In the unlikely event that a problem or failure occurs within the warranty period, please contact Customer Support.
Warranty Period: 1 year from date of purchase.
This limited warranty covers defects in material and workmanship, which includes the hearing devices. charger case within the warranty period. However. consumable parts and accessories are not covered by the warranty.
- Consumable parts: Eartips
- Accessories: USB cable
For the following cases, even if within the warranty period, replacement and repairs will require payment.
- Failure or damage caused by misuse or improper repair or modification
- Natural disasters such as fire. earthquake. flood, lightning, etc. Furthermore, pollution, abnormal voltage, or damage from the usage of an undesignated power supply
- Damage caused by the carelessness of the customer or failure caused by improper repair, decomposition, or modification
- Failure or deterioration due to use that is not in accordance with this manual
- Exchange of consumables and accessories
This warranty is only valid in the United States of America. This manual & warranty will not be reissued, so please keep it safe and secure. A warranty claim must be submitted with the purchase receipt.
[Contact Us] Customer Support
- Tel: +1 (844) 551-6688 (US)
- E-mail: [email protected]
Shenzhen Hongyuesheng Technology Co, ltd
- Shenzhen City, Guangdong Province, China
- Tel: +1 (844) 551-6688
- Email: [email protected]
- Facebook: @HYSservice
Huizhou Jinghao Medical Techology Co., Ltd
- Address: Floor 6, Huicheng Industry Building, No.9 Huifeng Dong’er Road, Zhongkai High-tech Zone, Huizhou City, Guangdong Province, China.
- Tel: +86-752-2266961
- Email: [email protected]
- Website: www.jinghao.cc
Service & Support
- +1 (844) 551-6688 (US)
- [email protected]
- @HYSservice
VER: A32B-20211108-V01


























