SHURE ANI22 Audio Network Interface

Product Information:
The ANI22 is an Audio Network Interface manufactured by Shure Incorporated. It is a device that allows for audio and network control through a browser-based web application. This user guide provides comprehensive information on system diagrams, specifications, installation instructions, command strings, and more. The current version of the user guide is 3.4 (2022-B).
Product Usage Instructions:
Getting Started
This device features a browser-based web application, which controls audio and network properties.
Upon completing this basic setup process, you will be able to:
- Access the web application to customize audio settings and network properties
- Use Dante Controller software to connect with other Dante devices and pass audio
- Access additional configuration information
Step 1: Connect to a Network
- Use an Ethernet cable (CAT5e or higher) to connect the ANI22 to a network switch.
Note: The network switch must provide Power over Ethernet (PoE). Make sure to connect to a PoE port, since many switches do not supply power on all ports. - Connect a computer to the network switch with an Ethernet cable.

Step 2: Access the Web Application
- Download and install the Shure Device Discovery application from the Shure website (http://www.shure.com).
- Open the Shure Device Discovery application.
- Double-click the device in the application to open the web application.

Tip: If setting up multiple Shure devices, use the Identify button in the application to flash the lights on the device.
Step 3: Connect Devices in Dante Controller Software
- Download and install Dante Controller Software from the Audinate website (http://www.audinate.com).
- Use Dante Controller to create connections with other Dante devices.
Note: Refer to the Dante Controller user guide for more information on channel routing (available at http://www.audinate.com/resources/technicaldocumentation).
Example: Connecting the ANI22 and Shure MXA310
- Find the MXA310 in the list of Dante transmitters, and select the plus sign (+) to show all channels.
- Find the ANI22 in the list of Dante receivers, and select the plus sign (+) to show all channels.
- Check the box where the MXA310 AUTOMIX OUT and the ANI22 DANTE INPUT 1 intersect.
Step 4: Configure Audio
- Connect analog equipment (such as loudspeakers or wireless microphone systems) to the analog inputs and outputs. Refer to the hardware section in this guide for information on connections and LED metering.
- In the ANI22 web application, adjust input and output levels and perform a sound check. Refer to the help topics in the web application for additional information.


Note: For more detailed instructions and information, refer to the corresponding sections in the user guide.
Get More Information
Now that the basic setup is complete, you should have access to the web application and be able to pass audio between devices.
More comprehensive information is available online and in the help section, including:
- Maximizing audio quality with the built-in parametric equalizer
- External control system command strings
- System scenario diagrams
- Software configuration
- Networking information
- Troubleshooting
- Replacement parts and accessories
The complete user guide is available at http://pubs.shure.com/guide/ANI22
General Description
The Shure ANI22 Audio Network Interface provides 2 channels of Dantetoanalog and 2 channels of analogtoDante conversion. A single interface provides a simple way to connect analog equipment to the audio network, such as wireless microphones, audio processors, video codecs, and loudspeaker systems. Available in XLR and block connector versions, each box uses a single network cable to carry audio and power through Power over Ethernet (PoE). A browser-based web application controls audio and network settings from any computer connected to the same network.
Hardware and Installation
Hardware
- Block Connector Model:

- XLR Model:

- Signal/Clip Indicators
Each indicator corresponds to a single channel. Analog and digital gain adjustments are made through the web application. If an input channel LED turns red, attenuate the level from the source device to prevent clipping at the input stage.
If an output channel LED turns red, lower the corresponding Digital Gain (dB) fader for the Dante channel under the Input Channels tab. Do not lower the output level (line/aux/mic), as any clipping indicated on the LED occurs before the final output level stage.LED State Audio Signal Level Off less than -60 dBFS Green -59 dBFS to -24 dBFS LED State Audio Signal Level Yellow -23 dBFS to -1 dBFS Red 0 dBFS or more - Audio and Logic Connections
Note: Logic connections are only featured on the block connector version.
Block Connector Pin Assignments:
Input+ Audio + – Audio – 
Audio ground switch Logic Mute (sent from microphone) led Logic LED (received by microphone) gnd Logic ground Output
+ Audio + – Audio – 
Audio ground XLR Pin Assignments:
1 Ground 2 Positive 3 Negative - Chassis Ground Screw
Provides an optional connection for microphone shield wire to chassis ground. - LED Indicators
Power: Power over Ethernet (PoE) present
Note: Use a PoE injector if your network switch does not supply PoE.- Network: Network connection active
- Network Audio: Dante audio present on the network
Note: Error details are available in the event log in the web application.LED Status Activity Off No active signal Green Device is operating successfully LED Status Activity Red Error has occurred. See event log for details. Encryption:
LED Status Activity Off Audio not encrypted Green Successful encrypted audio connection with another device Red Encryption error.
Possible causes:
Encryption is enabled on one device and not on another Passphrase mismatch
- Dante Network Port
Connects to a network switch to send Dante audio, while receiving Power over Ethernet (PoE) and data from the control software. See the Dante and networking section for additional information. - Reset Button
Resets the device settings back to the factory default.
Power Over Ethernet (PoE)
This device requires PoE to operate. It is compatible with both Class 0 and Class 3 PoE sources.
Power over Ethernet is delivered in one of the following ways:
- A network switch that provides PoE
- A PoE injector device
Device Identification
To identify the hardware by flashing the lights, select the Identify button in the device options section.
Installation and Rack Mounting
Two mounting solutions are available for installing the Audio Network Interface:
- CRT1 19″ Rack Tray (optional accessory): Supports up to 3 devices; mountable in a rack or under a table
- Single-unit Mounting Tray (included accessory): Supports a single device for mounting under a table
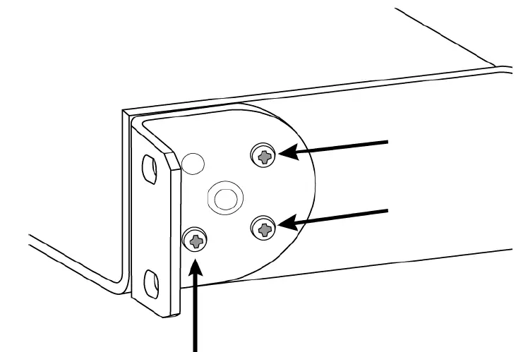
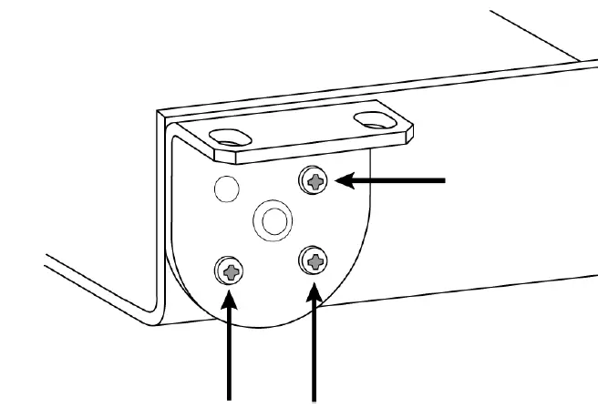
Securing the Devices
Use the included screws from the mounting hardware kit to secure the Audio Network Interfaces. Audio Network Interfaces can be mounted to face either direction. Insert the screws from the bottom in the appropriate holes, according to the following diagrams:
Align the holes as shown for securing a single device in the single-unit mounting tray
Align the holes as shown for securing up to 3 devices in the 19″ rack tray.
Rack Ear Configuration
A combination of up to 3 Audio Network Interfaces can be mounted in a single 19-inch rack space. The adjustable rack ears support mounting in a standard equipment rack or underneath a table.
Standard 19″ Rack Mount
- Align the ears with the mounting holes pointed forward.
- Install the 3 screws that hold the ear to the tray as shown.

Under-Table Mounting
- Align the ears with the mounting holes pointed upward.
- Install the 3 screws that hold the ear to the tray as shown.

Installing Underneath a Table
- Hold the tray in the desired location under a table.
- Use a pencil to mark the location of the mounting holes on the table.
- Drill 4 holes for the screws. The diameter of the holes in the tray are 7.1 mm.
- Install the components into the tray.
- Install with 4 screws to secure the tray underneath the table.
Reset
The reset button is located inside a small hole in the rear panel. Use a paperclip or other small tool to press the button. There are two hardware reset functions:
Network reset (press button for 4-8 seconds)
Resets all Shure control and audio network IP settings to factory defaults
Full factory reset (press button for longer than 8 seconds)
Restores all network and Designer settings to the factory defaults.
Software Reset Options
To simply revert settings without a complete hardware reset, use one of the following options:
- Reboot Device:Power-cycles the device as if it were unplugged from the network. All settings are retained when the device is rebooted.
- Default Settings: To revert audio settings back to the factory configuration (excluding Device Name, IP Settings, and Passwords), select Load Preset and choose the default settings preset.
Summing
The Audio Network Interface provides channel summing to combine input signals and send them over a single output channel. This makes it possible to send all channels to a device with a limited number of Dante receiver channels or analog inputs. The relative channel levels are not affected; the mix is summed in the device and sent over a single output channel.
Note: When summing is enabled, a limiter is activated to prevent signal overloading. The limiter does not affect the direct outputs, and will only affect the summed signal.
By default, the ANI22 treats signals this way:
- Analog input 1 → Dante output 1
- Analog input 2 → Dante output 2
- Dante input 1 → Analog output 1
- Dante input 2 → Analog output 2
To combine channels, select one of the summing options in Channels > Inputs.
| Summing Option | Signal Destination |
| 1 + 2 | |
| Analog input 1 + analog input 2 | Dante output 1 |
| Dante output 2 | |
| 3 + 4 | |
| Summing Option | Signal Destination |
| Dante input 1 + Dante input 2 | Analog output 1 |
| Analog output 2 | |
| 1 + 2 / 3 + 4 | |
| Analog input 1 + analog input 2 | Dante output 1 |
| Dante output 2 | |
| Dante input 1 + Dante input 2 | Analog output 1 |
| Analog output 2 | |

Adjusting Input levels
Levels for analog and Dante channels are adjustable in the Input tab.
Dante Sources
- Check the source level before it reaches the Network Interface:
- Verify that the networked microphones or other Dante sources are operating at nominal output levels.
- Levels for Microflex Advance™ microphones are adjustable through their web application.
- Adjust the digital gain in the Network Interface web application:
- Use the faders or manually enter a gain value.
- The digital gain adjusts the level of the signal before it reaches the analog circuitry.
- Set these levels as high as possible without reaching the peak level (0 dB) on the meter.
Analog Sources
Before you begin, verify that levels from the analog devices with adjustable output levels are operating at nominal levels. The analog gain adjusts the level of the audio signal before it is converted from analog to digital. It is adjustable in 3 dB increments, with up to 51 dB total gain.
- Match the analog gain setting to the incoming signal level:
Source Level Gain Range Line (+4 dBu) 0 to +9 dB Auxiliary (-10 dBV) +9 to +21 dB Microphone (varies) +21 to +51 dB - The meters should peak between -18 and -9 dB.
Note: Leaving some additional headroom is a recommended to prevent clipping if mobile devices will be plugged into particular channels.
Adjusting Output Levels
Dante Outputs
Output levels are controlled by the Digital Gain (dB) fader. Always adjust the input gain before the output gain. In most cases, setting the analog gain correctly results in an appropriate output level. Sources that have a quiet signal, such as a microphone with low sensitivity, may need some Digital Gain (dB) applied. If the output is clipping, use the Digital Gain (dB) fader to lower the signal.
Note: If summing is enabled on input channels, use the Digital Gain (dB) and Analog Gain (dB) controls in the Input section to adjust the mix.
Analog Outputs
Match the output level from the Network Interface to the input sensitivity on the analog device:
- Line level (0 dB)
- Aux level (-20 dB)
- Microphone level (-46 dB)
LED Signal and Clipping Indicators
Each analog output channel has a corresponding LED:
- Green: Audio signal present
- Red: Audio signal is clipping and should be attenuated.
Audio Settings
Channel Utilities
- +48V (Phantom Power)
Delivers + 48V phantom power to the selected channel - Polarity Reverse
Each Dante channel has a checkbox to reverse the polarity of the input signal. - Analog Gain
Adjusts the gain to optimize input signal level before the analog audio is converted to a digital audio. - Digital Gain
Adjusts the digital signal level to optimize the signal strength over the network. - Mute Groups
Check the Mute group box to add the channel to a group. Muting any channel within the Mute group mutes all channels in the group. - Fader Groups
Check the Fader group box to add the channel to a group. All faders within the group are linked, and move together when a single fader is adjusted. - Logic Switch Indicator
Illuminates when a switch logic signal is received by the Audio Network Interface from a microphone.
Note: only applies to block connector model.
Logic LED Indicator
Illuminates when an LED logic signal is received by the Audio Network Interface through the network from a control system.
Note: only applies to block connector model.
Metering Options (Pre-gain and Post-gain)
Each Dante channel includes a meter to measure signal levels (dBFS), located in the web application under the input and output sections.
Pre-gain metering measures the signal level without digital gain applied. It does reflect analog gain adjustments on the two input channels. Post-gain metering measures the signal with both analog and digital gain applied.
To change the metering setting, open the Settings menu, select the General tab, and adjust the Metering setting.
Important: If the incoming signal is adjustable (wireless microphone systems, for example), make sure it is at the nominal level before adjusting the analog gain on the Audio Network Interface.
Parametric Equalizer
Maximize audio quality by adjusting the frequency response with the parametric equalizer.
Common equalizer applications:
- Improve speech intelligibility
- Reduce noise from HVAC systems or video projectors
- Reduce room irregularities
- Adjust frequency response for reinforcement systems
If you’re using Shure Designer software to configure your system, please check the Designer help section for more about this topic.
Setting Filter Parameters
Adjust filter settings by manipulating the icons in the frequency response graph, or by entering numeric values. Disable a filter using the check-box next to the filter.
Filter Type
Only the first and last band have selectable filter types.
- Parametric: Attenuates or boosts the signal within a customizable frequency range
- Low Cut: Rolls off the audio signal below the selected frequency
- Low Shelf: Attenuates or boosts the audio signal below the selected frequency
- High Cut: Rolls off the audio signal above the selected frequency
- High Shelf: Attenuates or boosts the audio signal above the selected frequency
Frequency
Select the center frequency of the filter to cut/boost
Gain
Adjusts the level for a specific filter (+/- 30 dB)
Q
Adjusts the range of frequencies affected by the filter. As this value increases, the bandwidth becomes thinner.
Width
Adjusts the range of frequencies affected by the filter. The value is represented in octaves.
Note: The Q and width parameters affect the equalization curve in the same way. The only difference is the way the values are represented.
Copy, Paste, Import, and Export Equalizer Channel Settings
These features make it simple to use effective equalizer settings from a previous installation, or simply accelerate configuration time.
Copy and Paste
Use to quickly apply the same PEQ setting across multiple channels.
- Select the channel from the pull-down menu in the PEQ screen.
- Select Copy.
- In the pull-down menu, select the channel to apply the PEQ setting and select Paste.
Import and Export
Use to save and load PEQ settings from a file on a computer. This is useful for creating a library of reusable configuration files on computers used for system installation.
- Export
Choose a channel to save the PEQ setting, and select Export to file. - Import
Choose a channel to load the PEQ setting, and select Import from file.
Equalizer Applications
Conferencing room acoustics vary based on room size, shape, and construction materials. Use the guidelines in following table.
| EQ Application | Suggested Settings |
| Treble boost for improved speech intelligibility | Add a high-shelf filter to boost frequencies greater than 1 kHz by 3-6 dB. |
| HVAC noise reduction | Add a low cut filter to attenuate frequencies below 200 Hz |
| Reduce flutter echoes and sibilance | Identify the specific frequency range that “excites” the room:
|
| Reduce hollow, resonant room sound | Identify the specific frequency range that “excites” the room:
|
Custom Presets
Use presets to quickly save and recall settings. Up to 10 presets can be stored on each device to match various seating arrangements. A preset saves all device settings except for the Device Name, IP Settings, and Passwords. Importing and exporting presets into new installations saves time and improves workflow. When a preset is selected, the name displays above the preset menu. If changes are made, an asterisk appears next to the name.
Note: Use the default settings preset to revert to the factory configuration (excludes Device Name, IP Settings, and Passwords).
Open the presets menu to reveal preset options:
| save as preset: | Saves settings to the device |
| load preset: | Opens a configuration from the device |
| import from file: | Downloads a preset file from a computer onto the device. Files may be selected through the browser or dragged into the import window. |
| export to file: | Saves a preset file from the device onto a computer |
Mute Sync
Mute sync ensures that all connected devices in a conferencing system mute or unmute at the same time and at the correct point in the signal path. Mute status is synchronized in the devices using logic signals or USB connections.
To use mute sync, make sure logic is enabled on all devices.
Designer’s Optimize workflow configures all necessary mute sync settings for you.
- P300 (Also mutes supported soft codecs connected by USB)
- ANIUSB-MATRIX (Also mutes supported soft codecs connected by USB)
- IntelliMix Room software (Also mutes supported soft codecs connected by USB)
- MXA910
- MXA710
- MXA310
- Network Mute Button
- ANI22-BLOCK
- ANI4IN-BLOCK
- Logic-enabled MX microphones connected to ANI22-BLOCK or ANI4IN-BLOCK
- Compatible Shure logic devices:
- MX392
- MX395-LED
- MX396
- MX405/410/415
To use mute sync, connect a logic-enabled MX series microphone to an ANI4IN-BLOCK or ANI22-BLOCK.
Note: See microphone guides to learn how to turn on logic on mics.
For help with specific mute sync implementations, see our FAQs.
Connections and Signal Flow
- Analog Input with Logic Connection (MX392)
In addition to running the audio signal, this boundary microphone features three additional wire leads for logic connections. This allows the switch on the microphone to send a logic mute signal to other equipment on the network, and to receive a logic LED control signal. - Analog Input Sources
Analog sources, such as wireless microphones, connect to the analog input - Analog Output Devices
Loudspeakers, amplifiers, or recording devices connect to the analog line output - Dante-enabled Equipment
Dante microphones, such as the Shure Microflex Advance ceiling and table arrays connect to the network switch and can be routed using Dante Controller software. - Control CPU
A computer connected to the network accesses the web application to control the channel levels and processing. - Network Switch
The network switch provides Power over Ethernet (PoE) to the ANI22, while also supporting all other Dante-enabled audio equipment.
Logic Applications
The block connecter inputs feature three logic signal connections. Logic signals are converted into Ethernet command strings and sent and received by any device (such as an echo canceller or control system) that supports Ethernet command strings.
In this diagram, Shure MX392 Microflex microphones are connected the audio network interface. The mute button on each microphone sends a logic signal (switch) to mute other audio equipment. The microphones receive logic signals (LED) so that the microphone LED behavior reflects the state of the entire audio system.
Encryption
Audio is encrypted with the Advanced Encryption Standard (AES-256), as specified by the US Government National Institute of Standards and Technology (NIST) publication FIPS-197. Shure devices that support encryption require a passphrase to make a connection. Encryption is not supported with third-party devices.
To activate encryption:
- Open the Settings menu and select the General tab.
- Select Enable Encryption.
- Enter a passphrase. All devices must use the same passphrase to establish an encrypted connection.
Important: For encryption to work, all Shure devices on your network must use encryption.
Networking and Dante
Dante Transmit Flows
This device supports up to two transmit flows and two receive flows. A single flow consists of up to four channels, through either a unicast or multicast transmission.
- A unicast flow is a point-to-point connection between two devices, supporting up to four channels per flow.
- A multicast flow is a one-to-many transmission, which supports sending up to four channels to multiple receiving devices across the network.
Shure Device Applications
This device can connect with up to two Dante devices.
The Shure MXA310, ANI22, ANIUSB-MATRIX and ANI4IN support multicast transmission. This means that flows can transmit to multiple devices — as many as the network can support. If using unicast flows, each of these devices can connect with up to two Dante receiver devices.
The Shure ANI4OUT connects with up to two Dante transmitter devices.
Pushing Device Names to the Dante Network
To send a device name to appear in Dante Controller, go to Settings>General and enter a Device Name. Select Push to Dante to send the name to appear on the network.
Note: names appear in Dante Controller with “-d” attached.
Compatibility with Dante Domain Manager
This device is compatible with Dante Domain Manager software (DDM). DDM is network management software with user authentication, role-based security, and auditing features for Dante networks and Dante-enabled products.
Considerations for Shure devices controlled by DDM:
- When you add Shure devices to a Dante domain, set the local controller access to Read Write. Otherwise, you won’t be able to access to Dante settings, perform a factory reset, or update device firmware.
- If the device and DDM can’t communicate over the network for any reason, you won’t be able to control Dante settings, perform a factory reset, or update device firmware. When the connection is reestablished, the device follows the policy set for it in the Dante domain.
- If Dante device lock is on, DDM is offline, or the configuration of the device is set to Prevent, some device settings are disabled. These include: Dante encryption, MXW association, AD4 Dante browse and Dante cue, and SCM820 linking.
QoS (Quality of Service) Settings
QoS settings assign priorities to specific data packets on the network, ensuring reliable audio delivery on larger networks with heavy traffic. This feature is available on most managed network switches. Although not required, assigning QoS settings is recommended.
Note: Coordinate changes with the network administrator to avoid disrupting service.
To assign QoS values, open the switch interface and use the following table to assign Dante -associated queue values.
- Assign the highest possible value (shown as 4 in this example) for time-critical PTP events
- Use descending priority values for each remaining packet.
Dante QoS Priority Values
| Priority | Usage | DSCP Label | Hex | Decimal | Binary |
| High (4) | Time-critical PTP events | CS7 | 0x38 | 56 | 111000 |
| Medium (3) | Audio, PTP | EF | 0x2E | 46 | 101110 |
| Low (2) | (reserved) | CS1 | 0x08 | 8 | 001000 |
| None (1) | Other traffic | BestEffort | 0x00 | 0 | 000000 |
Note: Switch management may vary by manufacturer and switch type. Consult the manufacturer’s product guide for specific configuration details.
For more information on Dante requirements and networking, visit www.audinate.com.
Networking Terminology
- PTP (Precision Time Protocol): Used to synchronize clocks on the network
- DSCP (Differentiated Services Code Point): Standardized identification method for data used in layer 3 QoS prioritization
IP Ports and Protocols
Shure Control
| Port | TCP/UDP | Protocol | Description | Factory Default |
| 21 | tcp | FTP | Required for firmware updates (otherwise closed) | Closed |
| 22 | tcp | SSH | Secure Shell Interface | Closed |
| 23 | tcp | Telnet | Not supported | Closed |
| 68 | udp | DHCP | Dynamic Host Configuration Protocol | Open |
| 80* | tcp | HTTP | Required to launch embedded web server | Open |
| 443 | tcp | HTTPS | Not supported | Closed |
| 161 | tcp | SNMP | Not supported | Closed |
| 162 | tcp | SNMP | Not supported | Closed |
| 2202 | tcp | ASCII | Required for 3rd party control strings | Open |
| 5353 | udp | mDNS† | Required for device discovery | Open |
| 5568 | udp | SDT† | Required for inter-device communication | Open |
| Port | TCP/UDP | Protocol | Description | Factory Default |
| 8023 | tcp | Telnet | Debug console interface | Closed |
| 8180 | tcp | HTML | Required for web application | Open |
| 8427 | udp | Multcast SLP† | Required for inter-device communication | Open |
| 64000 | tcp | Telnet | Required for Shure firmware update | Open |
Dante Audio & Controller
| Port | TCP/UDP | Protocol | Description |
| [319-320]* | udp | PTP† | Dante clocking |
| 2203 | udp | Custom | Required for packet bridge |
| 4321, 14336 -14600 | udp | Dante | Dante audio |
| [4440, 4444, 4455]* | udp | Dante | Dante audio routing |
| 5353 | udp | mDNS† | Used by Dante |
| [8700-8706, 8800]* | udp | Dante | Dante Control and Monitoring |
| 8751 | udp | Dante | Dante Controller |
| 16000-65536 | udp | Dante | Used by Dante |
- These ports must be open on the PC or control system to access the device through a firewall.
- These protocols require multicast. Ensure multicast has been correctly configured for your network.
Event Log
The event log provides a detailed account of activity from the moment the device is powered on. The log collects up to 1,000 activity entries and time-stamps them relative to the last power cycle. The entries are stored in the internal memory, and are not cleared when the device is power-cycled. The Export feature creates a CSV (comma separated values) document to save and sort the log data.
Refer to the log file for details when troubleshooting or consulting with Shure Systems Support.
To view the event log:
- Open the Help menu
- Select View Event Log
Severity Level
- Information
An action or event has been successfully completed - Warning
An action cannot be complete, but overall functionality is stable - Error
A problem has occurred that could inhibit functionality.
Log Details
- Description
Provides details on events and errors, including IP address and subnet mask. - Time Stamp
Power cycles:days:hours:minutes:seconds since most recent boot-up. - Event ID
Indicates event type for internal reference.
Tip: Use the filter to narrow down results. Select a category heading to sort the log.
Using Command Strings
This device receives logic commands over the network. Many parameters controlled through Designer can be controlled using a third-party control system, using the appropriate command string.
Common applications:
- Mute
- LED color and behavior
- Loading presets
- Adjusting levels
A complete list of command strings is available at: pubs.shure.com/command-strings/ANI22.
Specifications
General
Analog Connections
| Inputs | Active Balanced | ANI22-XLR | (2) XLR connector |
| ANI22-BLOCK | (2) 6-pin block connector | ||
| Outputs | Impedance Balanced | ANI22-XLR | (2) XLR connector |
| ANI22-BLOCK | (2) 3-pin block connector |
Network Connections (Dante Digital Audio) (1) RJ45
Channel Count: 2 Inputs, 2 Outputs
Polarity
Non-inverting, any input to any output
Phantom Power
selectable per channel
+48 V
Power Requirements
Power over Ethernet (PoE), Class 0. (PoE Plus compatible).
Power Consumption
11W, maximum
Weight
672 g (1.5 lbs)
Dimensions H x W x D
4 x 14 x 12.8 cm ( 1.6 x 5.5 x 5.0 in.)
Control Software
HTML5 Browser-based
Operating Temperature Range
6.7°C (20°F) to 40°C (104°F)
Storage Temperature Range
29°C (20°F) to 74°C (165°F)
Thermal Power Dissipation
| Maximum | 12.1 W ( 41.3 BTU/hr) |
| typical | 9.8 W ( 33.7 BTU/hr) |
Audio
Frequency Response ±1 dB
20 to 20,000 Hz
Dante Digital Audio
| Sampling Rate | 48 kHz |
| Bit Depth | 24 |
Latency
| Does not include Dante latency | Analog to Dante | 0.35 ms |
| Dante to Analog | 0.71 ms |
analog gainrange Adjustable in 3 dB steps
51 dB
Dynamic Range (Analog-to-Dante) 20 Hz to 20 kHz, A-weighted, typical
113 dB
Equivalent Input Noise
20 Hz to 20 kHz, A-weighted, input terminated with 150Ω
| AnalogGain Setting= +0 dB | 93 dBV |
| AnalogGain Setting= +27 dB | 119 dBV |
| AnalogGain Setting= +51 dB | 130 dBV |
Total Harmonic Distortion @ 1 kHz, 0 dBV
Input, 0 dB
analog gain
<0.05%
Common Mode Rejection Ratio 150Ω balanced source
@ 1 kHz
70 dB
Input Impedance
5 kΩ
Output Impedance
150 Ω
InputClipping Level
| AnalogGain Setting= +0 dB | +20 dBV |
| AnalogGain Setting= +27 dB | 7 dBV |
| AnalogGain Setting= +51 dB | 31 dBV |
Analog Output Level
| Selectable | Line | 0 dB |
| Aux | 20 dB | |
| Mic | 46 dB |
Analog Output Level
| Per Channel | Equalizer (4band Parametric, Dante Channels Only) , Mute, Limiter, Gain ( 140 dBrange) |
| System | Channel Summing |
Networking
Cable Requirements
Cat 5e or higher (shielded cable recommended)
Accessories
Furnished Accessories
| Hardware kit (XLR model) | 90A29254 |
| Hardware kit (block connector model) | 90B33522 |
| Mounting Bracket (1/3 rack unit) | 53A27742 |
Optional Accessories and Replacement Parts
19″ rack tray CRT1
Contact Customer Support
Didn’t find what you need? Contact our customer support to get help.
Safety Information
IMPORTANT SAFETY INSTRUCTIONS
- READ these instructions.
- KEEP these instructions.
- HEED all warnings.
- FOLLOW all instructions.
- DO NOT use this apparatus near water.
- CLEAN ONLY with dry cloth.
- DO NOT block any ventilation openings. Allow sufficient distances for adequate ventilation and install in accordance with the manufacturer’s instructions.
- DO NOT install near any heat sources such as open flames, radiators, heat registers, stoves, or other apparatus (including amplifiers) that produce heat. Do not place any open flame sources on the product.
- DO NOT defeat the safety purpose of the polarized or grounding type plug. A polarized plug has two blades with one wider than the other. A grounding type plug has two blades and a third grounding prong. The wider blade or the third prong are provided for your safety. If the provided plug does not fit into your outlet, consult an electrician for replacement of the obsolete outlet.
- PROTECT the power cord from being walked on or pinched, particularly at plugs, convenience receptacles, and the point where they exit from the apparatus.
- ONLY USE attachments/accessories specified by the manufacturer.
- USE only with a cart, stand, tripod, bracket, or table specified by the manufacturer, or sold with the apparatus. When a cart is used, use caution when moving the cart/apparatus combination to avoid injury from tip-over.
- UNPLUG this apparatus during lightning storms or when unused for long periods of time.
- REFER all servicing to qualified service personnel. Servicing is required when the apparatus has been damaged in any way, such as power supply cord or plug is damaged, liquid has been spilled or objects have fallen into the apparatus, the apparatus has been exposed to rain or moisture, does not operate normally, or has been dropped.
- DO NOT expose the apparatus to dripping and splashing. DO NOT put objects filled with liquids, such as vases, on the apparatus.
- The MAINS plug or an appliance coupler shall remain readily operable.
- The airborne noise of the Apparatus does not exceed 70dB (A).
- Apparatus with CLASS I construction shall be connected to a MAINS socket outlet with a protective earthing connection.
- To reduce the risk of fire or electric shock, do not expose this apparatus to rain or moisture.
- Do not attempt to modify this product. Doing so could result in personal injury and/or product failure.
- Operate this product within its specified operating temperature range.
Important Product Information
The equipment is intended to be used in professional audio applications.
Note: This device is not intended to be connected directly to a public internet network.
EMC conformance to Environment E2: Commercial and Light Industrial. Testing is based on the use of supplied and recommended cable types. The use of other than shielded (screened) cable types may degrade EMC performance.
Changes or modifications not expressly approved by Shure Incorporated could void your authority to operate this equipment.
Industry Canada ICES-003 Compliance Label: CAN ICES-3 (B)/NMB-3(B)
Please follow your regional recycling scheme for batteries, packaging, and electronic waste.
Dante is a registered trademark of Audinate Pty Ltd.
Information to the user
This device complies with part 15 of the FCC Rules. Operation is subject to the following two conditions:
- This device may not cause harmful interference.
- This device must accept any interference received, including interference that may cause undesired operation.
Note: This equipment has been tested and found to comply with the limits for a Class B digital device, pursuant to part 15 of the FCC Rules. These limits are designed to provide reasonable protection against harmful interference in a residential installation. This equipment generates uses and can radiate radio frequency energy and, if not installed and used in accordance with the instructions, may cause harmful interference to radio communications. However, there is no guarantee that interference will not occur in a particular installation. If this equipment does cause harmful interference to radio or television reception, which can be determined by turning the equipment off and on, the user is encouraged to try to correct the interference by one or more of the following measures:
- Reorient or relocate the receiving antenna.
- Increase the separation between the equipment and the receiver.
- Connect the equipment to an outlet on a circuit different from that to which the receiver is connected.
- Consult the dealer or an experienced radio/TV technician for help.
Authorized under the verification provision of FCC Part 15B.
Certifications
The CE Declaration of Conformity can be obtained from: www.shure.com/europe/compliance
Authorized European representative:
Shure Europe GmbH
Global Compliance
Jakob-Dieffenbacher-Str. 12
75031 Eppingen, Germany
Phone: +49-7262-92 49 0
Email: [email protected]
www.shure.com
This product meets the Essential Requirements of all relevant European directives and is eligible for CE marking.
The CE Declaration of Conformity can be obtained from Shure Incorporated or any of its European representatives. For contact information please visit www.shure.com
References
ANI22 Command Strings
ANI22 User Guides
Audinate - Maker of Dante, Pro AV's Leading Networking Technology
Error | Audinate
Shure: Microphones, Wireless microphones, in-ear monitoring, earphones, headphones
Documentation Finder - Shure Europe
Audinate - Maker of Dante, Pro AV's Leading Networking Technology
ANI22 Command Strings
Service
Service
ANIUSB-MATRIX - ANIUSB-MATRIX USB Audio Network Interface with Matrix Mixing - Shure USA
IntelliMix P300 - Audio Conferencing Processor - Shure USA
IntelliMix® Room - Audio Processing Software - Shure USA



























