Paul Neuhaus 15661 Light Hanging Lamp

SPECIFICATIONS
- 230V/50Hz
- 1x E27/60W
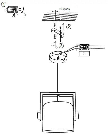
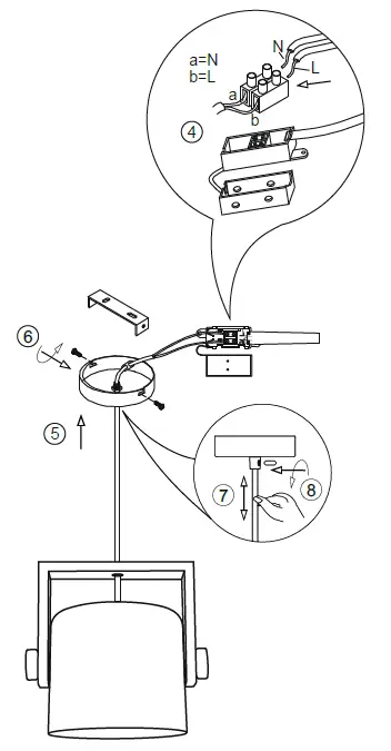
INSTALLATION INSTRUCTIONS



LeuchtenDirekt GmbH Olakenweg 36 D-59457 Werl
- +49(0)2922 9721 9290
- [email protected]
- www.leuchtendirekt.de




LeuchtenDirekt GmbH Olakenweg 36 D-59457 Werl
Download manual
Here you can download full pdf version of manual, it may contain additional safety instructions, warranty information, FCC rules, etc.