cecotec Rock’nGrill Multi 2400 UltraRapid Electric Grill

SAFETY INSTRUCTIONS
Read these instructions thoroughly before using the appliance. Keep this instruction manual for future reference or new users.
- Make sure that the mains voltage matches the voltage stated on the rating label of the appliance and that the wall outlet is grounded.
- This product is designed only for household use.
- During and after operation, the appliance is likely to get very hot. Use gloves or other convenient protection accessories in order to avoid burns and injuries .
- Always use the grill on a flat, dry, stable and heat-resistant surface.
- On surfaces where heat may cause a problem, an insulating mat is recommended.
- Do not immerse the cord, plug, or any non-removable part of the appliance in water or any other liquid, nor expose the electrical connections to water. Make sure your hands are dry before handling the plug or switching on the appliance.
- Do not twist, bend, strain, or damage the power cord in any way. Protect it from sharp edges and heat sources. Do not let it touch hot surfaces. Do not let the cord hang over the edge of the working surface or countertop.
- Do not operate the appliance outdoors, on or near a gas or electric hob, in heated ovens or near open flames.
- Do not operate de device after it has been dropped or after it malfunctions.
- Check the power cord regularly for visible damage. If the cord is damaged, it must be replaced by the official Technical Support Service of Cecotec in order to avoid any type of danger.
- Do not use this appliance with an extension cord.
- Extreme caution must be taken when moving the appliance.
- Always turn off and disconnect the appliance from the power supply when not in use or if it is not going to be used for a long period of time and before cleaning it. Pull from the plug and not the cord to disconnect it.
- Do not use accessories not provided or suggested by Cecotec, as these could cause damage to the product or result in risk.
- The appliance is not intended to be used by children, persons with reduced physical, sensory or mental capabilities or lack of experience and knowledge.
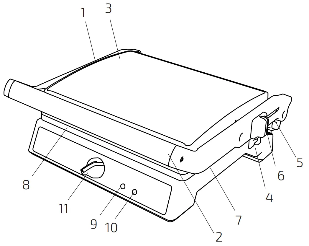
PARTS AND COMPONENTS
- Left lift lever
- Handle
- Upper housing
- Right lift lever
- 180º opening button
- Handle lock
- Bottom housing
- Non-stick plate
- Ready light indicator
- Power light indicator
- Thermostat knob

BEFORE USE
- Take the product out of the box.
- Remove all packaging materials. Keep the original box.
- Make sure all the components are included and in good conditions, otherwise, contact immediately the official Technical Support Service of Cecotec.
- Clean the plates with a soft, dampened cloth.
- Dry thoroughly all parts of the device with a cloth or paper towel.
- For best results, lightly coat the cooking plates with a little cooking oil or cooking spray.
Warning: A slight odour and smoke might appear when heating the device for the first time. This is due to manufacturing materials residues and does not affect the appliance’s operating.
OPERATION
Preparing your grill
- Close the grill and connect the plug to a power supply. The light indicators will turn on red, indicating the device is now turned on.
- Turn the thermostat knob to select the desired temperature. Set it at “MIN” for lightcoloured results and “MAX” for darker ones. The ready light indicator will turn on indicating the device has started preheating.
Warning: It is suggested to turn the knob all the way to the maximum setting, and then adjust temperature depending on the type of food.
Using the contact grill
Warning:The device includes a lift lever that allows adjusting the top plate to the thickness of each food.
The device can be used as a contact grill for grilling boneless pieces of meat in a fast and efficient way, as both sides of food are cooked at the same time.
- Once the device has preheated, set the thermostat knob to the desired position.
- Open the grill and place boneless pieces of meat, burgers or any other thin cuts of meat to be cooked on the bottom plate.
- Close the grill and press down the top plate by the handle. The top plate must be fully lowered for the cooked food to have grill marks.
- When food is cooked, use the handle to open the grill and use a heatproof spatula to remove food.
- Once you have finished cooking, disconnect the plug from the wall outlet and leave the unit open until it cools down.
Warning:Never use metal tongs or a knife to remove food as these can cause damage to the non-stick coating.
Using the grill toaster
- Once the device has preheated, set the thermostat knob to the desired position.
- Place the sandwich, bread or quesadilla on the bottom plate, towards the back.
- Close the grill and press down the bottom plate by the handle. The top plate must be fully lowered for sandwiches, bread and other similar foods to be cooked properly and evenly.
- Allow it to grill for 3-6 minutes, depending on food and on each one’s taste.
- When the sandwich or bread is cooked, use the handle to open the grill and use a heatproof spatula to remove food.
Using the extendable feet
- The device’s feet can be extended for fat in the fat drip tray to be removed easily.

Using the device as an open grill
The grill can be used in a completely opened, flat position. The top plate is opened and levelled with the lower plate. This position allows cooking greater variety of food without mixing flavour, for example, fish on one plate and meat on the other, and allows cooking different types of food for different cooking times.

- Hold the grill’s handle with your left hand, hold pressed the 180º opening button with your right hand and lift the top plate by the handle until completely opened.
- Use the grill in this position to cook burgers, steak, poultry, fish or vegetables. Place the food to cook over the top or bottom plate.

Warning: It is not recommended to use the grill to cook bone-in chicken. - To close the grill back to its original position, just hold from the handle and bring the top plate back to the closed position.
CLEANING AND MAINTENANCE
- Always turn off and unplug the appliance after each use and before cleaning.
- Allow the appliance to cool down before cleaning and storing.
- If there is food stuck to the plates, pour some drops of soapy water for food rests to soften and then use a non-abrasive sponge or paper towel to remove them.
- Use a soft, dampened cloth to clean the product’s outside surface.
- Do not immerse the appliance in water or other liquid.
- Do not use abrasive scouring pads, powders or cleaners.
- Do not wash the device in the dishwasher.
- Remove and empty the fat drip tray after each use and wash the tray in warm, soapy water. Rinse and dry thoroughly with a clean, soft cloth and replace.
Storage
- Unplug the device before storage.
- Make sure the grill is cool and dry before storing it.
- The power cord can be wrapped around the bottom of the base for a more comfortable storage.
TECHNICAL SPECIFICATIONS
Product name: Rock’nGrill Multi 2400 UltraRapid
Product reference: 03066
2200-2400 W, 220-240 V, 50/60 Hz
Made in China | Designed in Spain
DISPOSAL OF OLD ELECTRICAL APPLIANCES
The European directive 2012/19/EU on Waste Electrical and Electronic Equipment (WEEE), specifies that old household electrical appliances must not be disposed of with the normal unsorted municipal waste. Old appliances must be collected separately, in order to optimize the recovery and recycling of the materials they contain, and reduce the impact on human health and the environment.
The crossed out “wheeled bin” symbol on the product reminds you of your obligation to dispose of the appliance correctly. If the product has a built-in battery or uses batteries, they should be removed from the appliance and disposed of appropriately.
Consumers must contact their local authorities or retailer for information concerning the correct disposal of old appliances and/or their batteries.
TECHNICAL SUPPORT SERVICE AND WARRANTY
This product is under warranty for 2 years from the date of purchase, as long as the proof of purchase is submitted, the product is in perfect physical condition, and it has been given proper use, as explained in this instruction manual.
- The product has been used for purposes other than those intended for it, misused, beaten, exposed to moisture, immersed in liquid or corrosive substances, as well as any other fault attributable to the customer.
- The product has been disassembled, modified, or repaired by persons, not authorised by the official Technical Support Service of Cecotec.
- Faults deriving from the normal wear and tear of its parts, due to use.
- The warranty service covers every manufacturing defects of your appliance for 2 years, based on current legislation, except consumable parts. In the event of misuse, the warranty will not apply.
If at any moment you detect any problem with your product or have any doubt, do not hesitate to contact Cecotec Technical Support Service at +34 96 321 07 28.




















