
![]()
Play Gradient
Light tube
![]()
![]()
HUE serial number
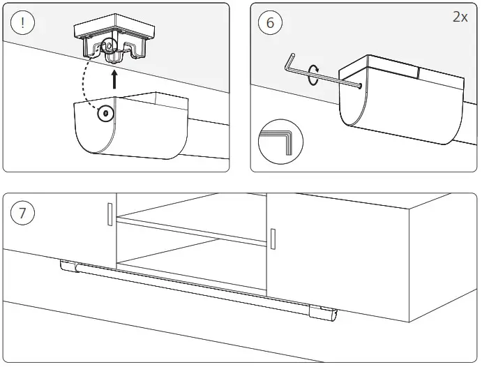
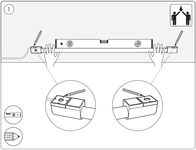
User manual
Hue PlayGradient Light Tube Compact


Check if the electrical specification on the product label is in accordance with the electrical socket





















www.philips-hue.com/connectproduct

![]()
Signify North America Corporation 400 Crossing Blvd, Suite 600 Bridgewater, NJ 08807, USA
Signify Canada Ltd./Signify Canada Ltée 281 Hillmount Road, Markham, ON, Canada L6C 2S3
Questions or Comments: 1-800-555-0050
© 2023 Signify Holding
All rights reserved
www.philips-hue.com
4422 955 26042
Last update: 02/2023



















