BALiLA CM-100 Wireless Conference Microphone User Manual
Product Preview

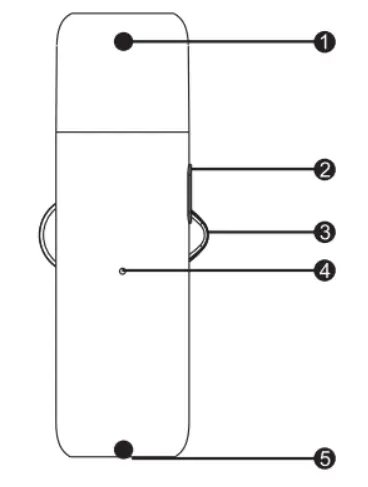
Fig 1 Speaker
- USB-C Charging Port
- Mute/ Unmute (The blue indicator lights up for recording status)
- Volume-
- volume+
- 3.5mm Socket

Fig ii Transmitter
- Omnidirectional Microphone (360° pick-up)
- Power Button
- Lapel Clip
- Power Indicator
- USB-C Charging Port

Fig ⅲ Receiver
- 3.5mmPlug
- Power Button
- Power Indicator
- USB-C Charging Port
How to use
- Connect the Speaker to the computer with a USB-c cable and a USB adaptor;

- Plug the receivers into the Speaker;

- Power on the transmitters and receivers, the green indicator of the transmitters and receivers are both on, and then you can start using them.

Indicator Light Instructions
| Speaker | Unmute | Blue light on |
| Muted | Blue light off | |
| Transmitter& Receiver | connected | Steady green |
| Low battery state | Slow flashing red | |
| While charging | Steady red | |
| finished charging | Red light off |
Product Parameters
- Charge input: 5V 2A
- Charging time: 1h
- Talk time: 10h
- Frequency Range: 120Hz- 20KHz
- Working Frequency: 2402-2480MHz
- Working Range: 20m
- Application System: Windows XP/7/8/10 and mobile phone
systems, plug and use, no need to install drivers
Speaker
- Driver size: 1*2 inches (internal magnetic horn)
- Frequency Response: 100Hz-16KHz
- Rated output power: 5W RMS
- Audio Input Interface: 3.5mm jack (5 ports in total)
- Function: Volume+, Volume-, mute/ unmute
- Output Interface: USB-C jack
Transmitter (Microphone)
- Pickup Mode: Omnidirectional(360° pick-up)
- Power Supply: Built-in 110maH lithium battery
- Charging Port: 5V 500MA (USB-C input)
Receiver
- Power Supply: Built-in 110maH lithium battery
- Charging Port: 5V 500MA (USB-C input)
- Audio output interface: 3.5mm plug
Packing List
Speaker X1, Transmitter X5, Receiver X5, USB-C cable X1, 1-in-10 charging cable X1
udaoRF exposure statement
This equipment complies with the FCC radiation exposure limits set forth for an uncontrolled environment. This transmitter must not be co-located or operating in conjunction with any other antenna or transmitter.
FCC Warning
This device complies with Part 15 of the FCC Rules. Operation is subject to the following two conditions:
- This device may not cause harmful interference, and (2) this device must accept any interference received, including interference that may cause undesired operation.
NOTE 1: This equipment has been tested and found to comply with the limits for a Class B digital device, pursuant to part 15 of the FCC Rules. These limits are designed to provide reasonable protection against harmful interference in a residential installation. This equipment generates uses and can radiate radio frequency energy and, if not installed and used in accordance with the instructions, may cause harmful interference to radio communications. However, there is no guarantee that interference will not occur in a particular installation. If this equipment does cause harmful interference to radio or television reception, which can be determined by turning the equipment off and on, the user is encouraged to try to correct the interference by one or more of the following measures:
- Reorient or relocate the receiving antenna.
- Increase the separation between the equipment and receiver.
- Connect the equipment into an outlet on a circuit different from that to which the receiver is connected.
- Consult the dealer or an experienced radio/TV technician for help.
NOTE 2: Any changes or modifications to this unit not expressly approved by the party responsible for compliance could void the user’s authority to operate the equipment.
Customer Service
- 18-month limited warranty
- Lifetime technical support
- Our warranty is additional to the legal rights customers have buying this product
Pre-sales customer service: [email protected]
After-sales customer service : [email protected]
Website: https://www.balila-audio.com
If you have any questions, please feel free to contact us.























