The Home Depot ECLS8F-WB10L Bathroom Magnifying Wall Mounted LED 10x Round Makeup Mirror Instructions
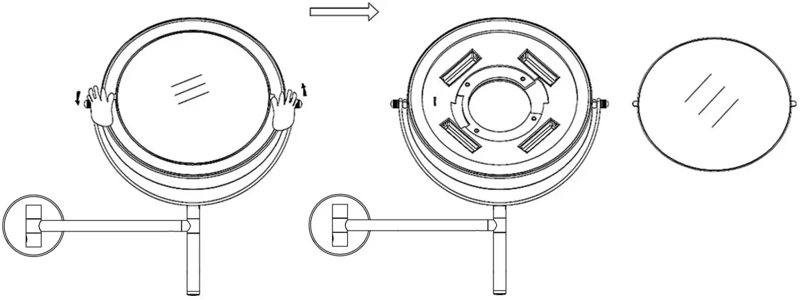
Instruction for removing the mirror panel


Use 4*AAA nickel-metal hydride rechargeable batterues.(Included)

The Home Depot ECLS8F-WB10L Bathroom Magnifying Wall Mounted LED 10x Round Makeup Mirror Instructions


Use 4*AAA nickel-metal hydride rechargeable batterues.(Included)

Download manual
Here you can download full pdf version of manual, it may contain additional safety instructions, warranty information, FCC rules, etc.