
Microwave Oven
Instructions

Model: SBD602DPB-PACC1G
Please read these instructions carefully before installing and operating the oven.
PRECAUTIONS TO AVOID POSSIBLE EXPOSURE TO EXCESSIVE MICROWAVE ENERGY
- Do not attempt to operate this oven with the door open since open-door operation can result in harmful exposure to microwave energy. It is important not to defeat or tamper with the safety interlocks.
- Do not place any object between the oven front face and the door or allow soil or cleaner residue to accumulate on sealing surfaces.
- Do not operate the oven if it is damaged. It is very important that the oven door close properly and that there is no damage to the
- Door (including any bent),
- Hinges and latches (broken or loosened),
- Door seals and sealing surfaces.
- The oven should not be adjusted or repaired by anyone except qualified service personnel.
IMPORTANT SAFETY INSTRUCTIONS
- Read all instructions before using the appliance and keep for future reference.
- Use this appliance only for its intended use as described in the manual. Do not use corrosive chemicals or vapors in this appliance. This type of oven is specifically designed to heat, cook or dry food. It is not designed for industrial or laboratory use.
- Do not operate the oven when empty.
- Do not operate this appliance if it has a damaged cord or plug, if it is not working properly, or if it has been damaged or dropped. If the supply cord is damaged, it must 3 be replaced by the manufacturer or its service agent or a similarly qualified person in order to avoid a hazard.
- WARNING!–Only allow children to use the oven without supervision when adequate instructions have been given so that the child is able to use the oven in a safe way and understands the hazards of improper use.
- To reduce the risk of fire in the oven cavity:
- When heating food in plastic or paper container, check the oven frequently to the possibility of ignition.
- Remove wire twist-ties from paper or plastic bags before placing bag in oven.
- If smoke is observed, switch off or unplug the appliance and keep the door closed in order to stifle any flames.
- Do not use the cavity for storage purposes. Do not leave paper products, cooking utensils, or food in the cavity when not in use.
- The microwave oven is intended for heating food and beverages. Drying of clothing and heating of warming pads, slippers, sponges, damp cloth and similar may lead to risk of injury, ignition or fire.
- WARNING!–Liquid or other food must not be heated in sealed containers since they are liable to explode.
- Microwave heating of beverage can result in delayed eruptive boiling, therefore care has to be taken when handle the container.
- Do not fry food in the oven. Hot oil can damage oven parts and utensils and even result in skin burns.
- Eggs in their shell and whole hard-boiled eggs should not be heated in microwave ovens since they may explode even after microwave heating has ended.
- Pierce foods with heavy skins such as potatoes, whole squashes, apples and chestnuts before cooking.
- The contents of feeding bottles and baby jars should be stirred or shaken and the temperature should be checked before serving in order to avoid burns.
- Cooking utensils may become hot because of heat transferred from the heated food. Potholders may be needed to handle the utensil.
- Utensils should be checked to ensure that they are suitable for use in microwave oven.
- WARNING!–It is hazardous for anyone other than a trained person to carry out any service or repair operation which involves the removal of any cover which gives protection against exposure to microwave energy.
- This Microwave complies with EN 55011/CISPR 11, in this standard it belong to Class B Group 2 classification. Group 2 equipment: group 2 contains all ISM RF equipment in which radio-frequency energy in the frequency range 9 kHz to 400 GHz is 4 intentionally generated and used or only used locally, in the form of electromagnetic radiation, inductive and/or capacitive coupling, for the treatment of material, for inspection/analysis purposes, or for transfer of electromagnetic energy. Class B equipment is equipment suitable for use in locations in residential environments and in establishments directly connected to a low voltage power supply network which supplies buildings used for domestic purposes.
- This appliance is not intended for use by persons (including children) with reduced physical, sensory or mental capabilities, or lack of experience and knowledge, unless they have been given supervision or instruction concerning use of the appliance by a person responsible for their safety.
- Children should be supervised to ensure that they do not play with the appliance.
- The microwave oven is only used in freestanding.
- WARNING!--Do not install oven over a range cook top or other heat-producing appliance. if installed could be damaged and the warranty would be avoid .
- The microwave oven shall not be placed in a cabinet.
- The door or the outer surface may get hot when the appliance is operating.
- WARNING!--Accessible parts may become hot during use. Young children should be kept away.
- During use the appliances becomes hot. Care should be taken to avoid pressing heating elements inside the oven, for cooking ranged and ovens.
- The temperature of accessible surfaces may be high when the appliance is operating.
- The appliance shall be placed against a wall.
- Appliance is not to be used by children or persons with reduced physical, sensory or mental capabilities, or lack of experience and knowledge, unless they have been given supervision or instruction.
- WARNING!--If the door or door seals are damaged, the oven must not be operated until it has been repaired by a competent person.
- The instructions shall state that appliances are not intended to be operated by means of an external timer or separate remote-control system.
- The microwave oven is for household use only and not for commercial use.
- Never remove the distance holder in the back or on the sides, as it ensures a minimum distance from the wall for air circulation.
- Please secure the turntable before you move the appliance to avoid damages.
- CAUTION!–It is dangerous to repair or maintain the appliance by no other than a specialist because under these circumstances the cover have to be removed which assures protection against microwave radiation. This applies to changing the power cord or the lighting as well. Send the appliance in these cases to our service centre.
- The microwave oven is intended for defrosting, cooking and steaming of food only. 5
- Use gloves if you remove any heated food.
- Caution! Steam will escape, when opening lids or wrapping foil.
- This appliance can be used by children aged from 8 years and above and persons with reduced physical, sensory or mental capabilities or lack of experience and knowledge if they have been given supervision or instruction concerning use of the appliance in a safe way and understand the hazards involved. Children shall not play with the appliance. Cleaning and user maintenance shall not be made by children unless they are aged from 8 years and above and supervised.
- If smoke is emitted, switch off or unplug the appliance and keep the door closed in order to stifle any flames.
INSTALLATION GUIDE
- Make sure that all the packing materials are removed from the inside of the door.
- WARNING!–Check the oven for any damage, such as misaligned or bent door, damaged door seals and sealing surface, broken or loose door hinges and latches and dents inside the cavity or on the door. If there is any damage, do not operate the oven and contact qualified service personnel.
- This microwave oven must be placed on a flat, stable surface to hold its weight and the heaviest food likely to be cooked in the oven.
- Do not place the oven where heat, moisture, or high humidity are generated, or near combustible materials.
- For correct operation, the oven must have sufficient airflow. Allow 20cm of space above the oven, 10cm at back and 5cm at both sides. Do not cover or block any openings on the appliance. Do not remove feet.
- Do not operate the oven without glass tray, roller support, and shaft in their proper positions.
- Make sure that the power supply cord is undamaged and does not run under the oven or over any hot or sharp surface.
- The socket must be readily accessible so that it can be easily unplugged in an emergency.
- Do not use the oven outdoors.
GROUNDING INSTRUCTIONS
This appliance must be grounded. This oven is equipped with a cord having a grounding wire with a grounding plug. It must be plugged into a wall receptacle that is properly installed and grounded. In the event of an electrical short circuit, grounding reduces risk of electric shock by providing an escape wire for the electric current. It is recommended that a separate circuit serving only the oven be provided. Using a high voltage is dangerous and may result in a fire or other accident causing oven damage.
WARNING!–Improper use of the grounding plug can result in a risk of electric shock.
Note:
- If you have any questions about the grounding or electrical instructions, consult a qualified electrician or service person.
- Neither the manufacturer nor the dealer can accept any liability for damage to the oven or personal injury resulting from failure to observe the electrical connection procedures.
The wires in this cable main are colored in accordance with the following code:
Green and Yellow = EARTH
Blue = NEUTRAL
Brown = LIVE
RADIO IMTERFERENCE
Operation of the microwave oven can cause interference to your radio, TV, or similar
equipment. When there is interference, it may be reduced or eliminated by taking the
following measures:
- Clean door and sealing surface of the oven.
- Reorient the receiving antenna of radio or television.
- Relocate the microwave oven with respect to the receiver.
- Move the microwave oven away from the receiver.
- Plug the microwave oven into a different outlet so that microwave oven and receiver are on different branch circuits.
BEFORE CALLING FOR SERVICE
Before asking for service, please check each item below:
- Check to ensure the oven is plugged in securely. If not, remove the plug from the outlet, wait 10 seconds, and plug it in again securely.
- Check for a blown circuit fuse or a tripped main circuit breaker. If these seem to be operating properly, test the outlet with another appliance.
- Check to ensure the control panel is programmed correctly and the timer is set.
- Check to ensure the door is securely closed, engaging the door lock system. If the door is not properly closed, the microwave energy will not flow inside.
IF NONE OF THE ABOVE RECTIFIES THE SITUATION, THEN CONTACT A QUALIFIED TECHNICIAN. DO NOT TRY TO ADJUST OR REPAIR THE OVEN YOURSELF.
COOKING TECHNIQUES
- Arrange food carefully. Place thickest areas towards outside of dish.
- Watch cooking time. Cook for the shortest amount of time indicated and add more as needed. Food severely overcooked can smoke or ignite.
- Cover foods while cooking. Covers prevent spattering and help foods to cook evenly.
- Turn foods over once during microwave cooking to speed cooking of such foods as chicken and hamburgers. Large items like roasts must be turned over at least once.
- Rearrange foods such as meatballs halfway through cooking both from top to bottom and from the center of the dish to the outside.
COOKING UTENSILS GUIDE
- Microwave cannot penetrate metal. Only use utensils that are suitable for use in microwave ovens. Metallic containers for food and beverages are not allowed during microwave cooking. This requirement is not applicable if the manufacturer specifies size and shape of metallic containers suitable for microwave cooking.
- Microwave cannot penetrate metal, so metal utensils or dishes with metallic trim should not be used.
- Do not use recycled paper products when microwave cooking, as they may contain small metal fragments which may cause sparks and/or fires.
- Round /oval dishes rather than square/oblong ones are recommend, as food in corners tends to overcook.
- Narrow strips of aluminum foil may be used to prevent overcooking of exposed areas. But be careful don’t use too much and keep a distance of 1 inch (2.54cm) between foil and cavity.
The list below is a general guide to help you select the correct utensils.
Cookware | Microwave Cooking |
Heat–Resistant Glass | YES |
Non Heat–Resistant Glass | NO |
Heat–Resistant Ceramics | YES |
Microwave–Safe Plastic Dish | YES |
Kitchen Paper | YES |
Metal Tray | NO |
Metal Rack | NO |
| Aluminum Foil & Foil Containers | NO |
SPECIFICATIONS
Power Consumption | 230-240V/50Hz, 1500W(microwave) |
Output | 1200W |
Operation Frequency | 2450MHz |
Outside Dimensions | 359mm(H)×628mm(W)×505mm(D) |
Oven Cavity Dimensions | 294mm(H)×468mm(W)×474mm(D) |
Oven Capacity | Compact 60Liters |
Net Weight | Approx.16.5kg |
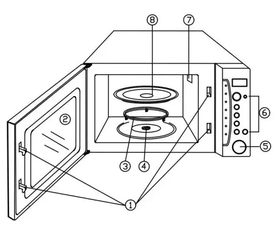
PART NAME
- Door Safety Lock System
- Oven Window
- Roller Ring
- Shaft
- Door Release Button
- Control Panel
- Wave Guide (Please do not remove the mica plate covering the wave guide)
- Glass Tray
CONTROL PANEL

⚫ DISPLAY
Cooking time, power, indicators and present time are displayed.
⚫ AUTO COOK MENUS
Instant settings to cook popular foods.
⚫ AUTO COOK/TIME/WEIGHT (dial)
Use to choose auto cook menus or select time or weight.
⚫ CLOCK
Press to set clock time.
⚫ POWER LEVEL
Press to set microwave cooking power level.
⚫ WEIGHT DEFROST
Press to set defrost program based on weight.
⚫ TIME DEFROST
Press to set defrost program base on time.
⚫ STOP/CANCEL
Press to reset the oven before setting a program. Press once to temporarily stop cooking, or twice to cancel cooking altogether.
It is also used to set child lock.
⚫ START/+30 SEC
Press to start the oven. It is also used to add cooking time during cooking and set the express cooking program.
⚫ TIMER +/-
Press to adjust cooking time.
⚫ KITCHEN TIMER
Press to set timer function.
OPERATION INSTRUCTIONS
- When the display first plugged in, beep will sound and the display will show “1:01” and ”
“. - In the process of setting, broken about 25 seconds, the oven will return to standby mode.
- During cooking, if press STOP/CANCEL button once, the program will be paused, then press START/+30 SEC button to resume, but if press STOP/CANCEL button twice, the program will be canceled.
- After cooking end, the screen will display End and the system will sound beeps to remind user every two minutes until user press STOP/CANCEL button or open the door.
- The electronically controlling system of the microwave oven has the feature of cooling. As for any cooking mode which cooking time above 2 minutes, after cooking end or cooking program is paused the oven fan will work about 3 minutes automatically to cool the oven for prolonging the life of the oven
SETTING THE CLOCK
This is a clock in 12- or 24- hour. You can choose to set the clock time in 12- or 24- hour by pressing the CLOCK button in standby mode.
- In standby mode, press CLOCK button once or twice to set the clock in 12- or 24- hour.
- Turn AUTO COOK/TIME/WEIGHT dial to indicate hour digit.
- Press CLOCK button once.
- Turn AUTO COOK/TIME/WEIGHT dial to indicate minute digit.
- Press START/+30 SEC to confirm.
NOTE: During cooking, you can press CLOCK button to check the current clock time.
MICROWAVE COOKING
- Press POWER LEVEL button repeatedly to select power level.
- Turn AUTO COOK/TIME/WEIGHT dial to enter cooking time The longest time is 95 minutes.
- Press START/+30 SEC button to start
SELECT POWER LEVEL BY PRESSING THE POWER LEVEL BUTTON:
| Press POWER LEVEL | Power (Display) | Press POWER LEVEL | Power (Display) |
| Once | 100% (P100) | 6 times | 50% (P-50) |
| Twice | 90% (P-90) | 7 times | 40% (P-40) |
| 3 times | 80% (P-80) | 8 times | 30% (P-30) |
| 4 times | 70% (P-70) | 9 times | 20% (P-20) |
| 5 times | 60% (P-60) | 10 times | 10% (P-10) |
NOTE: During cooking, you can check cooking power level by pressing POWER LEVEL button. If you want to cook at full power level, omit the first step
EXPRESS COOKING
Use this feature to program the oven to microwave food at 100% power conveniently.
In standby mode, press START/+30 SEC once (Default cooking time is 30 seconds),
the oven will start working automatically.
NOTE: During express and microwave cooking, you can press START/+30 SEC
repeatedly to add cooking time, each press to increase 30 seconds, and up to 95
minutes.
ADJUST COOKING TIME
During cooking (except auto cook menus, weight defrost and time defrost), you can
press TIMER +/- button once and then turn AUTO COOK/TIME/WEIGHT dial to adjust cooking time while the sign “COOK” is twinkling
SETTING THE TIMER
- In standby mode, during cooking or pausing state, press KITCHEN TIMER button once.
- Turn AUTO COOK/TIME/WEIGHT dial to enter desired time. The longest time is 95 minutes.
- Press START/+30 SEC button to confirm.
NOTE: During cooking or pausing state, you can check the countdown time by pressing KITCHEN TIMER button, but if STOP/CANCEL button is pressed when the display shows the time, the function can be cancelled.
WEIGHT DEFROST
The defrosting time and power level are automatically set once the weight is programmed.
- In standby mode, press WEIGHT DEFROST button once.
- Turn AUTO COOK/TIME/WEIGHT dial to enter food weight. The food weight ranges from 100 g to 2700 g.
- Press START/+30 SEC button.
NOTE: During defrosting process, the system will pause and sound to remind user to
turn food over, after that, press START/+30 SEC to resume.
TIME DEFROST
- In standby mode, press TIME DEFROST button once.
- Turn AUTO COOK/TIME/WEIGHT dial to enter defrosting time. The longest time is 95 minutes
- Press START/+30 SEC button.
NOTE: During defrosting, the oven will pause and sound beep to remind user to turn
the food over and then press START/+30 SEC button to resume.
MULTI-STAGE COOKING
Your oven can be programmed for up to 3 automatic cooking sequences.
Suppose you want to set the following cooking program.
Microwave-cooking
↓
Microwave cooking (with lower power level)
- In standby mode, input the first microwave cooking program. Do not press START/+30 SEC.
- Input the second microwave cooking program.
- Press START/+30 SEC button.
NOTE: Weight defrost, time defrost and auto cook menus cannot be set in multiple
cooking program.
CHILD LOCK
Use to prevent unsupervised operation of the oven by children. To set: In standby mode, press and hold STOP/CANCEL button more than 3 seconds, then a beep will sound, the oven will auto enter child lock mode and the lock indicator light will turn on. In the lock state, the oven can’t be operated.
To cancel: Press and hold STOP/CANCEL button more than 3 seconds, then a beep will sound and the indicator light will come off, the oven can be operated
FAILURE WARNING
In the microwave mode, if undetectable feedback signal for five seconds, the system
will stop working, and buzzer constantly issued “DE” hint sound and display “E-1”. After troubleshooting, press the STOP/CANCEL button, the system back to normal standby mode.
AUTO COOK
For food or the following cooking mode, it is not necessary to program the cooking time and power. It is sufficient to indicate the type of food that you wish to cook as well as the weight or servings of the food.
For regular food menus:
- In standby mode, press the corresponding menu button repeatedly to select food weight. Or press the corresponding menu button once, then turn AUTO COOK/TIME/WEIGHT dial to select food weight or servings.
- Press START/+30 SEC button to start.
Regular food menus:
Food | Note |
| Beef (200-600 g) | The result of auto cooking depends on factors such as the shape and size of food, your personal preference as to the doneness of certain foods and even how well you happen to place food in the oven. If you find the result at any rate not quite satisfactory, please adjust the cooking time a little bit accordingly. |
| Fish (200-600 g) | |
| Dinner Entre (250 g, 500 g) | |
| Vegetable (200-600 g) | |
| Chicken (200-600 g) |
For ordinary food menus:
- In standby mode, turn AUTO COOK/TIME/WEIGHT dial anti-clockwise once and then turn it clockwise to select food code.
- Press START/+30 SEC to start.
Ordinary cook menus:
Food | Code | Weight/Serving |
Butter | B1 | 1/2 Stick |
B2 | 1 Stick | |
| B3 | 2 Stick | |
Cheese | C1 | 85 g |
| C2 | 170 g | |
Frozen Pizza (110 g/slice) | F1 | 1 slice |
F2 | 2 slice | |
| F3 | 3 slice | |
Ice Cream | E1 | 1 pint |
| E2 | 1 quart | |
Popcorn | P1 | 50 g |
P2 | 85 g | |
| P3 | 100 g |
CLEANING AND CARE
- Turn off the oven and unplug the power cord from the wall when cleaning.
- Keep the inside of the oven clean. When food splatters or spilled liquids adhere to oven walls, wipe with a damp cloth. Mild detergents may be used if the oven gets very dirty. Avoid using spray or other harsh cleaners. They may stain, streak or dull the door surface.
- The outside of the oven should be cleaned with a damp cloth. To prevent damage to the operating parts inside the oven, water should not be allowed to seep into the ventilation openings.
- Wipe the door and window on both sides, the door seals and adjacent parts frequently with a damp cloth to remove any spills or spatters. Do not use abrasive cleaner.
- A steam cleaner is not be used.
- Do not allow the control panel to become wet. Clean with a soft, damp cloth. When cleaning the control panel, leave oven door open to prevent oven from accidentally turning on.
- If steam accumulates inside or around the outside of the oven door, wipe with a soft cloth. This may occur when the microwave oven is operated under high humidity condition. And it is normal.
- It is occasionally necessary to remove the glass tray for cleaning. Wash the tray in warm sudsy water or in a dishwasher.
- The roller ring and oven floor should be cleaned regularly to avoid excessive noise. Simply wipe the bottom surface of the oven with mild detergent. The roller ring may be washed in mild, soapy water or in a dishwasher. When removing the roller ring, be sure to replace it in the proper position.
- Remove odors from your oven by combining a cup of water with the juice and skin of one lemon in a microwaveable bowl. Microwave for 5 minutes. Wipe thoroughly and dry with a soft cloth.
- If the light bulb burns out, please contact customer service to have it replaced.
- The oven should be cleaned regularly and any food deposits should be removed. Failure to maintain the oven in a clean condition could lead to deterioration of surface that could adversely affect the life of the unit and could possibly result in a hazardous situation.
- Please do not dispose of this appliance into the domestic rubbish bin; it should be disposed to the particular disposal center provided by the municipalities.
The user manual can also be checked and download from our website:















