HINKLEY 32981 C-Lighting Capel Tall Cylinder Clear Glass Shade

Mounting Instructions
- Find a clear area in which you can work.
- Unpack fixture and glass from carton.
- Carefully review instructions prior to assembly.
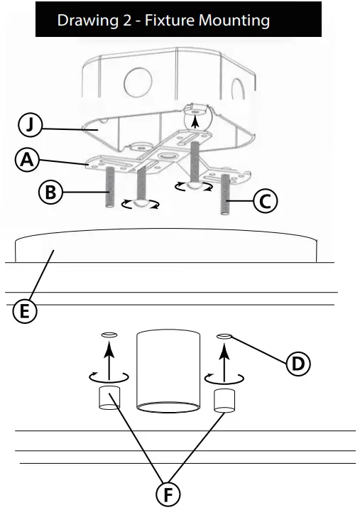
- Prepare gem strap (A) for mounting by threading two screws (B) provided into back of gull wing bracket of gem strap (A) – see Drawing 1

• Be sure the holes into which the screws are threaded match the spacing of holes (D) in the canopy (E)- see Drawings 1 and 2. - Mount gem strap (A) to junction box (J), using the two 1″ screws (C) NOT PROVIDED.
SAFETY WARNING: READ WIRING AND GROUNDING INSTRUCTIONS (I.S. 18) AND ANY ADDITIONAL DIRECTIONS. TURN POWER SUPPLY OFF DURING INSTALLATION. IF NEW WIRING IS REQUIRED, CONSULT A QUALIFIED ELECTRICIAN OR LOCAL AUTHORITIES FOR CODE REQUIREMENTS.
Make electrical connections from supply wire to fixture lead wires. Refer to instruction sheet(I.S. 18) and follow all instructions to make all necessary wiring connections.
- Hang the fixture body without the glass by slipping screws (B) in mounting strap (A) through holes (D) in the canopy (E)- see Drawing 2.

- Thread on barrel knobs (F) to secure fixture to the ceiling.
Assembly Instructions
- First lamp fixture using appropriate medium base bulbs
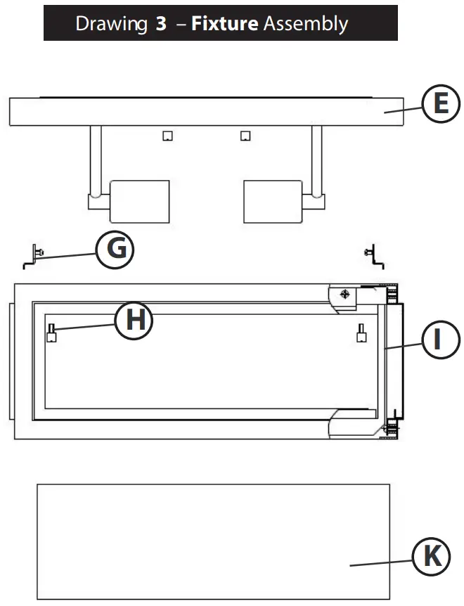
- Next use knobs to secure cage (I) to canopy
- Slide glass panels (K) into cage and secure panels using clips and screw (G)
- Fixture can now be powered on

I.S. 18 wiring grounding instructions
SAFE TY WARNI NG: READ WIRIN G AND GR OUNDING INSTRUCTIO NS (IS 18) AND ANY ADDITIONAL DIRECTIONS.
TURN POWER SUPPLY OFF DURING INSTALLATION. IF NEW WIRING IS REQUIRED, CONSU LT A QUALIFIED ELECTRICIAN OR LOCAL AUTHORITIES FOR CODE REQUIREMENTS
wiring instructions
Indoor Fixtures
- Connect positive supply wire (A) (typically black or the smooth, unmarked side of the two-conductor cord) to positive fixture lead (B) with appropriately sized twist on connector – see Drawings 1 or 2.

- Connect negative supply wire (C) (typically white or the ribbed, marked side of the two-conductor cord) to negative fixture lead (D).
- Please refer to the grounding instructions below to complete all electrical I connections
Outdoor Fixtures
- Connect positive supply wire (A) (typically black or the smooth unmarked side of the two-conduce tor cord) to positive fixture lead (B) with appropriately sized twist on connector – see Drawings 2 or 3.

- Connect negative supply wire (C) (typically white or the ribbed, marked side of the two-conductor cord) to negative fixture lead (D).
- Cover open end of connectors with silicone sealant to form a watertight seal.
If installing a wall mount fixture, use caulk to seal gaps between the fixture mounting plate (backplate) and the wall. This will help prevent water from entering the out let box. If the wall surface is lap siding, use caulk and a fixture mounting platform specially. - Please refer to the grounding Instructions below to complete all electrician connections.
grounding instructions
Chain Hung Fixtures
Loop fixture ground wire (E) (typically cope r or green plastic coated) under the head of the ground screw i(S) on fixture mounting strap (M ) and connect to the loose end of the fixture ground w ire directly to the ground wire of the building system with appropriately sized twist on connectors – see Drawing 2.
Post-Mount Fixtures
Connect fixture ground w ire ( E) (typically copper or green plastic coated) to power supply ground with app rope irately sized twist-on connector inside post. Cover open end of connector with silicone sealant to form a watertight sea l – see Drawing 3.





















