X32FP Gaming Monitor
User Guide
Acer Gaming Monitor Quick Start Guide (QSG)
Important safety instructions
Please read the following instructions carefully.
- To clean the monitor screen: Be sure that your monitor is electrically rated to operate with the AC power available in your location.
- Turn off the monitor and unplug the power cord.
- Spray a non-solvent cleaning solution onto a rag and clean the screen gently.
- NEVER SPRAY OR POUR ANY LIQUID DIRECTLY ONTO THE SCREEN OR CASE.
- DO NOT USE ANY AMMONIA OR ALCOHOL-BASED CLEANERS ON THE DISPLAY SCREEN OR CASE.
- Acer will not be liable for damage resulting from use of any ammonia or alcohol-based cleaners.
- Do not place the monitor near a window. Exposing the monitor to rain, moisture or sunlight can severely damage it.
- Do not apply pressure to the screen. Excessive pressure may cause permanent damage to the display.
- Do not remove the cover or attempt to service this unit yourself. An authorized technician should perform servicing of any nature.
- Store the monitor in a room with a temperature of -20° to 60°C (-4° to 140°F). Storing the monitor outside this range may result in permanent damage.
- Immediately unplug your monitor and call an authorized technician if any of the following circumstances occur:
- Monitor-to-PC signal cable is frayed or damaged.
- Liquid spills onto the monitor or the monitor is exposed to rain.
- The monitor or case is damaged.
Connecting your monitor to a computer
- Connect the monitor to your computer using an HDMI or DP cable.
- Connect the power adapter to the DC-in port on the monitor.
- Connect the power cord to the power adapter.
- Fully insert the power cord plug into the power outlet socket.
Note: Transmitting the 4K 160Hz signal via one HDMI 2.1/DP 1.4/Type-C port requires DSC (Display Stream Compression) functionality.
If your computer’s USB-C port does not have DP-Alt, please connect HDMI/DP+USB-B to computer 1 and HDMI/DP+USB-C to computer 2.

Using the Control Panel
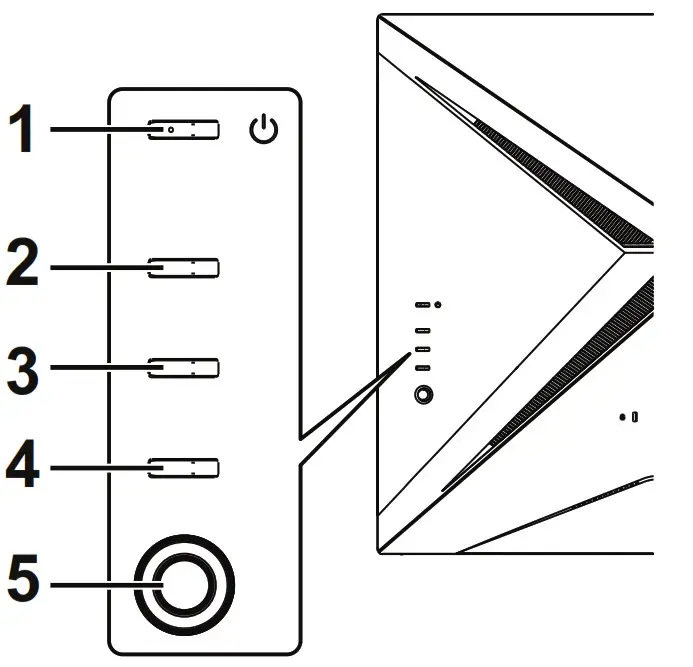
| Power Button | Turns the monitor on/off. | |
| 2 | Hot Key 1 | •Opens the OSD portal. •When the OSD portal is opened, press to enter the assigned hotkey function. •Opens Information after entering the main OSD menu. |
| 3 | Hot Key 2 | •Opens the OSD portal. •When the OSD portal is opened, press to enter the assigned hotkey function. •Opens Modes after entering the main OSD menu. |
| 4 | Hot Key 3 | •Opens the OSD portal. •When the OSD portal is opened, press to enter the input source menu. •Exits the main OSD menu. |
| 5 | Joystick | •Opens the OSD portal. •When the OSD portal is opened, press to enter the main OSD menu. •Toggle the joystick up/down/left/right to navigate the OSD menu. •Press the joystick to confirm selections. •Toggle the joystick left/right to adjust settings. •Press the joystick to confirm changes. |

Connecting USB devices to your monitor
- Connect the supplied USB-A to USB-B cable or USB-C cable to your computer based on your system and/or preference.
- Insert your USB devices, such as USB mouse, USB keyboard, and USB flash drive into the USB 3.0 ports on the monitor.
- Select the corresponding upstream port for the USB Port Select field in the System sub-menu of the OSD menu.

It can allow a Free Sync Premium supported graphics source to dynamically adjust display refresh rate based on typical content frame rates for power efficient, virtually stutter free and low-latency display update.
Regulations and safety notices
FCC Notice
This device has been tested and found to comply with the limits for a Class B digital device pursuant to Part 15 of the FCC rules. These limits are designed to provide reasonable protection against harmful interference in a residential installation. This device generates, uses, and can radiate radio frequency energy and, if not installed and used in accordance with the instructions, may cause harmful
interference to radio communications. However, there is no guarantee that interference will not occur in a particular installation. If this device does cause harmful interference to radio or television reception, which can be determined by turning the device off and on, the user is encouraged to try to correct the interference by one or more of the following measures:
- Reorient or relocate the receiving antenna.
- Increase the separation between the device and receiver.
- Connect the device into an outlet on a circuit different from that to which the receiver is connected.
- Consult the dealer or an experienced radio/television technician for help.
CE declaration of Conformity
Hereby, Acer Inc., declares that this LCD monitor is in compliance with the essential requirements and other relevant provisions of EMC Directive 2014/30/EU, Low Voltage Directive 2014/35/EU, and RoHS Directive 2011/65/EU and Directive 2009/125/EC with regard to establishing a framework for the setting of ecodesign requirements for energy-related product.
Notice: Shielded cables
All connections to other computing devices must be made using shielded cables to maintain compliance with EMC regulations.
Notice: Peripheral devices
Only peripherals (input/output devices, terminals, printers, etc.) certified to comply with the Class B limits may be attached to this equipment. Operation with non-certified peripherals is likely to result in interference to radio and TV reception.
Caution
Changes or modifications not expressly approved by the manufacturer could void the user authority, which is granted by the Federal Communications Commission, to operate this product.
Operation conditions
This device complies with Part 15 of the FCC Rules. Operation is subject to the following two conditions: (1) this device may not cause harmful interference, and (2) this device must accept any interference received, including interference that may cause undesired operation.
Notice: Canadian users
This Class B digital apparatus complies with Canadian ICES-003. Remarque a (‘intention des utilisateurs Canadians Cet appareil numerique de la classe B est conforme a la norme NMB-003 du Canada.
Disposal of Waste Equipment by Users in Private Household in the European Union
This symbol on the product or on its packaging indicates that this product must not be disposed of with your other household waste. Instead, it is your responsibility to dispose of your waste equipment by handing it over to a designated collection point for the recycling of waste electrical and electronic equipment. The separate collection and recycling of your waste equipment at the time of disposal will help to conserve natural resources and ensure that it is recycled in a manner that protects human health and the environment. For more information about where you can drop off your waste equipment for recycling, please contact your local city office, your household waste disposal
service or the shop where you purchased the product.
In order to prevent damage to the monitor, do not lift the monitor by its base.
Acer monitor is purposed for video and visual display of information obtained from electronic devices.
DANGER To avoid shock hazard:
- Do not remove the covers.
- Do not operate this product unless the stand is attached.
- Do not connect or disconnect this product during an electrical storm.
- The power cord plug must be connected to a properly wired and grounded power outlet
- Any equipment to which this product will be attached must also be connected to properly wired and grounded power outlets.
- To isolate the monitor from the electrical supply, you must remove the plug from the power outlet. The power outlet should be easily accessible.
Gaming Monitor Quick Setup Guide


















