CMS300 Series Studio Microphone Set
Ref. nr.: 173.512, 173.514, 173.516
INSTRUCTION MANUAL
V1.1
Congratulations on the purchase of this Vonyx product. Please read this manual thoroughly prior to using the product in order to benefit fully from all features. Follow the instructions in order not to invalidate the warranty. Take all precautions to avoid fire and/or electrical shock. Keep the manual for future reference.
UNPACKING INSTRUCTION
CAUTION! Immediately upon receiving the product, carefully unpack the carton, check the contents to ensure that all parts are present, and have been received in good condition. Notify the shipper immediately and retain the packing material for inspection if any parts appear damaged from shipping or the package itself shows signs of mishandling. Save the package and all packing materials. In the event that the product must be returned to the factory, it is important that the product be returned in the original factory box and packing.
MICROPHONE CONNECTION

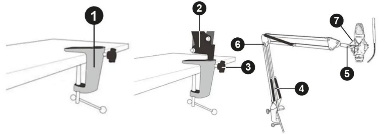
STAND ASSEMBLY INSTRUCTIONS
- Install the base of the stand on to, for example, a tabletop.
- Attach the suspension arm link to the base stand.
- Tighten the nut once your preferred suspension arm direction has been determined.
- Attach the arm to the suspension arm link.
- Attach the shock mount to the suspension arm. Use the adapter of the microphone
- holder to enable mounting of the shock mount (picture right).
- Adjust the height of the arm to your preferred height.
- Put the microphone into the clamp ring of the shock mount.
- Optional: attach the pop filter to the stand to eliminate popping and sibilance sound.

SPECIFICATIONS
CMS300 | |||
| Ref. nr. | 173.512 | 173.514 | 173.516 |
| Frequency response | 50Hz-14KHz | ||
| Sensitivity | -43dB (+/-2dB) | ||
| Impedance | 200 Ohm | ||
| SPL max | 120dB | ||
| Mic. Power supply | 5V via USB | ||
| Weight | 1.95kg | ||
Specifications and design are subject to change without prior notice.
www.tronios.com
Copyright © 2022 by Tronios The Netherlands




















