brennenstuhl WG 3600 ES01M03 WiFi Garden Socket
SAFETY INSTRUCTIONS
- Keep this product and all electrical products away from children. Do not allow children to use electric devices unsupervised.
- The device may only be connected to safely installed sockets.
- Only connect consumers within the specified power limits of the device.
- Do not cover the device. Heat accumulates under covers leading to a risk of fire.
- Regularly check the device for damage. Do not replace damaged parts. Please contact the manufacturer or dispose of the defective device in compliance with environmental regulations.
- Do not open the device. Opening the device will make the warranty null and void.
- Do not connect several WiFi garden sockets in series.
- Do not expose the device to extreme conditions like heat, constant sunlight, cold or humidity.
- Do not touch the device with wet hands and keep it away from water.
- To de-energize the device, disconnect it from the power supply.
- Do not connect radiators or similar consumers to the device as this type of equipment must not be operated without supervision.
- If the device is used for applications not described in this manual or if it is modified, safe use cannot be guaranteed. We will not accept any liability for related damage or personal injury and any guarantee/warranty shall become null and void.
- Position the unit vertically in the well-secured ground. Before doing so, remove the cardboard protector at the tip of the earth spike.
- If the mounting plate is used, also fix it well.
- A splashproof function in connection with a plug is only achieved if the plug is also splashproof (IP 44).
INSTALLATION AND COMMISSIONING
- Start the App brennenstuhl®Connect.
- With the „+“ symbol you can add new devices.
- Select in the device overview with the Art. No. to select the device to be installed.
- Put the WiFi socket into the teachin mode by pressing the teachin button for approx. 3 seconds.
- Follow the instructions in the app to connect the WiFi socket to your network.
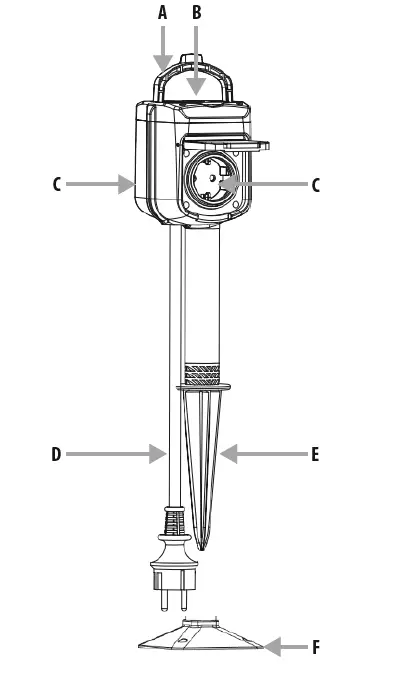
DEVICE OVERVIEW
- Folding hanger
- Teaching button and ON/OFF
- Socket
- Cable
- Ground spike
- Assembly plate
LED STATUS
- Lit permanently = Device ON
- LED flashing quickly = Device in teaching mode
DISTANCE TO SOURCES OF INTERFERENCE
This device works with the 2.4 GHz b/g/n WiFi protocol. The reach within buildings may strongly differ from the one in open areas. Apart from the transmission power and the reception properties of the receivers, environmental influences such as air humidity and the structural situation on site play an important role. The range may be considerably reduced by:
- Walls made of wood, plasterboard, concrete and reinforced concrete
- Proximity to metal and conductive objects
- Broadband interference, e.g. in residential areas (DECT phones, mobile phones, radio headphones, radio speakers, radio weather stations, baby monitoring systems)
- Proximity to electric motors, transformers, power supply units, computers
COMPATIBLE WITH AMAZON ALEXA AND GOOGLE ASSISTANT
The device is compatible with Amazon Alexa and Google Assistant. For Amazon Alexa, download the brennenstuhl®Connect Skill and search for the WiFi socket. For Google Assistant, select the Google Home App and click “Add” R “Setup device”. Then follow the screen menu.
TECHNICAL SPECIFICATIONS
- Designation of the product WG 3600 ES01M03 WG 3600 ES01M10
- Item number 1154540600 1154540601
- Radio frequency 2.4 GHz WiFi 2.4 GHz WiFi
- Frequency band 2,400 – 2,483 GHz 2,400 – 2,483 GHz
- Wireless IEE standards IEEE 802.11b / g / n IEEE 802.11b / g / n
- Max. transmission power <100mW <100mW
- Operating voltage 250 V/50 Hz 250 V/50 Hz
- Operating temperature 0 °C – +35 °C 0 °C – +35 °C
- Nominal frequency 16 A 16 A
- Switching power 3680 W MAX μ 3680 W MAX μ
- Cable designation H07RN-F 3G1.5 H07RN-F 3G1.5
- Cable length 3 m 10 m
- Plug system 2 shock-proof sockets 2 shock-proof sockets
- IP class IP44 IP44
SCOPE OF DELIVERY
- 1x WiFi garden socket
- 1x Ground spike
- 1x Assembly plate
- 1x User manual
CLEANING THE DEVICE
Attention! Risk of electric shock! Before cleaning, separate the device from the power network. Make sure that no liquid penetrates the device. Penetrating liquid may cause a short circuit.
- Clean the device with a dry, nonlinting cloth. If necessary, slightly moisten the cloth.
- Do not use solventcontaining detergents for cleaning.
- Do not immerse the device in water or any other liquids.
- Ensure that the device is completely dry before the next use.
DISPOSAL
The packaging is made of environmentallyfriendly materials which can be disposed of via the local recycling centres. For possibilities of disposal of the used product, please contact your local or municipal administration. Dispose of electric appliances in an environmentally friendly manner! Electric appliances must not be disposed of in household waste! The European Directive 2012/19/EU on Waste Electrical and Electronic Equipment rules that used electric appliances should be collected separately and recycled in an environmentally friendly manner. For possibilities of disposal of the used device, please contact your local or municipal administration.
SIMPLIFIED EU DECLARATION OF CONFORMITY
We, the Hugo Brennenstuhl GmbH & Co. KG, herewith declare that the remote system types WG 3600 ES01M03 / WG 3600 ES01M10 comply with the directives 2014/53/EU and 2011/65/EU. The complete text of the EU declaration of conformity is available at the following web addresses. www.brennenstuhl.com/konformitaetserklaerung/ke_1154540600.pdf www.brennenstuhl.com/konformitaetserklaerung/ke_1154540601.pdf This device complies with all legal, national and European requirements. All company names and product designations contained herein are trademarks of the respective owners.
BEHAVIOUR AFTER RESTORATION OF VOLTAGE (POWER FAILURE)
Under „Settings“, you can select in the device whether the device is set to „ON“, „OFF“ or „Keep last status“ after the operating voltage is restored (mains voltage after power failure). Timers and countdowns triggering an event during power failure are not observed after the voltage is restored.
SERVICE AND MANUFACTURER
- If you have questions concerning the product, please do not hesitate to contact us at www.brennenstuhl.com
- Phone: 00 800 48 72 0 741
- Hugo Brennenstuhl GmbH & Co.KG, Seestraße 13, D72074 Tübingen
- H. Brennenstuhl S.A.S., 4 rue de Bruxelles, F67170 Bernolsheim lectra technik ag, Blegistrase 13, CH64340 Baar
- Comprehensive current operating instructions and FAQs for the product can be found at www.brennenstuhl.com
- All rights reserved
Hugo Brennenstuhl GmbH & Co. KG Seestraße 13 ∙ D72074 Tübingen H. Brennenstuhl S.A.S. 4 rue de Bruxelles ∙ F67170 Bernolsheim lectra technik ag Blegistrasse 13 ∙ CH6340 Baar
www.brennenstuhl.com



















