
Compact Disc Player Lecteur Compact Disc
CD-S303
Owner’s Manual
PRECAUTIONS
Please read these precautions carefully before proceeding.
Be sure to follow the instructions
Please carefully read and observe the following precautions to avoid harm to people or damage to your personal property. After reading this document thoroughly, please retain it in a location that anyone using the product can access at any time.
- Contact the following customer center for inspection or repair.
- The store you purchased the product
- Yamaha dealer
- This product is intended for use as a general household device. Do not use it in any field or activity requiring a high degree of reliability in relation to human lives or valuable assets.
- Please note that Yamaha cannot accept any liability for any losses resulting from improper use or unauthorized modification of the product.
WARNING
These precautions alert you to the possibility of death or serious injury to yourself or others.
If you notice any abnormality
- If any of the following abnormalities occur, immediately shut down the power.
- The power cord or plug becomes damaged.
- Unusual smells, noise or smoke are emitted from the product.
- An object or some water has been dropped into the product.
- Cracks or other damage appear on the product.
- There is a sudden loss of sound during use of the product. Follow the steps below to shut down the power.
- Turn off the power to this product.
- Disconnect the power cord plug from the AC outlet. Continuing to use the product as-is may result in fire, electrical shock or damage to the product. Request inspection or repair immediately.
Power supply
- Do not damage the power cord.
- Do not place the power cord near heat sources such as heaters.
- Do not forcefully bend or modify the power cord.
- Do not damage the power cord.
- Do not place heavy objects on the power cord.
- Do not staple the power cord.
Using a frayed power cord with the core wire exposed may result in fire, electrical shock or damage to the product.
- During lightning or electrical storms, do not touch this product, power plug or power cord. Otherwise, electrical shock may be caused.
- Use the voltage specified for this product. Using an incorrect voltage may result in fire, electrical shock or damage to the product.
- Be sure to use only the item listed below to supply power:
- Included power cord Otherwise, fire, burns or damage to the product may be caused.
- Do not use the following Included accessory with other devices.
- Power cord Otherwise, fire, burns or damage to the product may be caused.
- Check the power cord plug periodically and remove any dirt or dust that may have accumulated. Otherwise, fire or electrical shock may be caused.
- Be sure to fully insert the power cord plug into an AC outlet. Otherwise, electrical shock, or fire or damage to the product due to short circuit may be caused.
- Insert the power cord plug into the AC outlet that is visible and easily accessible. If some trouble or malfunction occurs, you should be able to immediately disconnect the plug from the AC outlet easily. Even when the power switch is turned off, as long as the power cord is not unplugged from the wall AC outlet, the product is not disconnected from the power source completely.
- If you plan not to use the product for a long period of time, remove the power cord plug from the AC outlets. Otherwise, fire or damage to the product may be caused.
Do not disassemble
- Do not modify or disassemble this product. Otherwise, fire, electrical shock, injury or damage to the product may be caused.
Water warning
- Do not use this product in damp or wet conditions, such as a bathroom or rainy outdoor location.
- Do not place on this product any containers (such as vases or medicine bottles) that contain liquids.
If liquid spills into the product, fire, electrical shock or damage to the product may be caused. - Do not insert the power cord plug into or remove it from the AC outlet with wet hands. Do not handle this product with wet hands. Otherwise, electrical shock or damage to the product may be caused.
Fire warning
- Do not handle open flames near this product. Otherwise, fire may be caused.
Vision loss
- Do not look into the laser beam. If the laser beam hits your eyes, vision loss may be caused.
Handling
- Do not drop this product or apply any strong impact to the product. Otherwise, fire, electrical shock or damage to the product may be caused.
Batteries
- Do not swallow batteries.
- Keep batteries away from children.
Otherwise, they may swallow the batteries by accident. Leaking battery liquid may cause loss of vision or inflammation. If the battery case on this product is not completely sealed, stop using the product and keep it away from children. If someone has swallowed a battery by accident, consult a physician immediately. If a battery is swallowed, it can cause serious chemical burns or melting of body tissue within two hours, leading to possible death.
- Do not throw batteries into an open fire.
- Do not expose batteries to high temperatures, such as direct sunlight or an open fire. Otherwise, they may explode, resulting in fire or injury.
- If battery liquid is leaking, do not touch the liquid.
Otherwise, loss of vision or chemical burns may be caused. If you touch the battery liquid, wash it away with water immediately, and consult a physician. - Do not use batteries other than the specified type.
- Do not use old and new batteries together.
- Do not use different types of batteries together.
- Do not insert batteries in an orientation opposite from the polarity indication.
- Do not break down the battery.
- Do not charge non-rechargeable dry cell batteries.
Otherwise, they may explode or battery liquid may leak, resulting in fires, burns, loss of vision, inflammation, or damage to the product. If you touch the battery liquid, wash it away with water immediately, and consult a physician.
- Do not carry the batteries in a pocket or bag or store them along with a piece of metal. Otherwise, the batteries may short-circuit, leading to an explosion or leaking liquid, which could result in fires, loss of vision, or injuries.
- If you plan not to use the product for a long period of time, or if the batteries are completely discharged, remove them from the remote control. Otherwise, battery liquid may leak, possibly resulting in loss of vision, inflammatory injury, or damage to the product.
- Before you store or discard the batteries, apply a piece of tape to the connectors to insulate them. If the battery connectors come into contact with other batteries or metallic objects, they may explode or battery liquid may leak, possibly resulting in fire, burns, loss of vision, or inflammatory injury.
CAUTION
These precautions alert you to the possibility of physical injury to yourself or others.
Power supply
- If the power cord plug inserted into the AC outlet is wiggly or loose, do not use that outlet. Otherwise, fire, electrical shock or burns may be caused.
- When removing the power cord plug from the product or an outlet, always hold the plug itself and not the cord. Otherwise, the power cord may be damaged, resulting in fire or electrical shock.
Installation
- Do not place this product in an unstable position or a location subject to vibration. Otherwise, the product may fall or tip over, resulting in injuries or damage to the product.
- Do not block the heat dissipation of this product when installing it.
- Do not cover the product with a cloth or table cloth.
- Do not install the product on a carpet or rug.
- Make sure that the top surface faces up. Do not install the product on its sides or upside down.
- Do not use the product in a confined, poorly ventilated location.
Inadequate ventilation may result in overheating inside the product, possibly causing damage and fire or malfunction.
Make sure that there is adequate space around the product at least 2.5 cm (1 in) above, 2.5 cm (1 in) at the sides and 2.5 cm (1 in) behind.
- During earthquakes, stay away from this product. Otherwise, the product may fall or tip over, resulting in injuries.
- Before moving this product, be sure to turn off the power switch and remove all connected cables. Otherwise, the cables might be caught by a foot or hand, and the product may fall or tip over, resulting in injuries or damage to the product.
Connections
- If you plan to connect external devices, first read the owner’s manual for each device, and connect them in accordance with the instructions.
If you do not follow the instructions correctly, injury or damage to the product may be caused.
Hearing loss
- Do not expose yourself to high volume sound for an extended period of time. Otherwise, hearing loss may be caused. If you experience any hearing abnormality, consult a physician.
- If you plan to connect this product to any other devices, first turn off the power to all devices. Otherwise, hearing loss, electrical shock or damage to the product may be caused.
- When turning on the power to the audio system, always turn on the power to the power amplifier LAST. When turning off the power to the audio system, turn off the power to the power amplifier FIRST.
Otherwise, hearing loss or damage to the product may be caused.
Maintenance
- Before cleaning the product, be sure to remove the power cord plug from the AC outlet. Otherwise, electrical shock may be caused.
Handling
- Do not insert your hands or fingers in any gaps or openings on this product. Otherwise, injury may be caused.
- Do not drop a foreign object, such as a piece of metal or paper, into any gap on this product. Otherwise, fire, electrical shock or damage to the product may be caused.
- Do not apply the following excessive force to this product.
- Resting your weight on this product
- Placing heavy objects on this product
- Stacking up this product
- Applying excessive force to the buttons, switches, or I/O connectors Otherwise, injury or damage to the product may be caused.
- Do not pull connected cables. Otherwise, the product may fall or tip over, resulting in injuries or damage to the product.
Precautions for use
NOTICE
Follow the precautions below to avoid malfunction and damage to this product and to prevent the loss of data.
Power supply
- If you plan not to use this product for a long period of time, remove the power cord plug from the AC outlet. Even when [
] (Power) on the front panel is turned off, a small amount of current still flows through this product.
Installation
- Depending on the environment in which you use the product, a phone, radio or TV may generate noise. In that case, change the product location or orientation, or the surrounding environment.
- Do not install this product in a place subject to:
- Direct sunlight
- Extremely high or low temperatures
- Excessive dust
Otherwise, malfunction or damage to the product may be caused.
- Do not install this product in a place where condensation can form due to rapid, drastic changes in ambient temperature. Using the product while condensation is present may cause damage to the product. If there is a reason to believe that condensation might have occurred on or in this product, leave it for several hours without turning on the power. You can start using the product when the condensation has completely dried.
Handling
- Do not place any vinyl, plastic or rubber products on this product. Otherwise, the panel may be discolored or deteriorate.
Maintenance
- Use a dry, soft cloth to clean this product. Do not use benzine, thinner, detergent or chemical rag to clean the surface of the product. Otherwise, the surface may be discolored or deteriorate.
Important information
NOTE
This section describes precautions to be observed during use, functional restrictions, and supplemental information that may be helpful for you.
Disposal or transfer
- If you plan to transfer ownership of this product, include this document and the supplied accessories along with the product.
- Follow the rules of your local authority to dispose of this product and its accessories.
- Follow the rules of your local authority to dispose of used batteries.
COMPLIANCE INFORMATION STATEMENT (Supplier’s declaration of conformity procedure)
Responsible Party: Yamaha Corporation of America
Address: 6600 Orangethorpe Ave., Buena Park, Calif. 90620
Telephone: 714-522-9011
Type of Equipment: Compact Disc Player
Model Name: CD-S303,CD-S303RK
This device complies with Part 15 of the FCC R ules. Operation is subject to the following two conditions:
- this device may not cause harmful interference, and
- this device must accept any interference received including interference that may cause undesired operation.
Product information, such as the model name (product number), manufacturing code (serial number), and power requirements, are displayed on or in the vicinity of the nameplate on the product (Rear panel). We recommend that you fill in the following space with the model name and serial number, and store this document in a safe place so that the information will help you identify your product in case you lose the product.
Model Name______________________________
Serial Number_____________________________
WARNING
Use of controls or adjustments or performance of procedures other than those specified herein may result in hazardous radiation exposure.
FCC INFORMATION (U.S.A.)
- IMPORTANT NOTICE: DO NOT MODIFY THIS UNIT!
This product, when installed as indicated in the instructions contained in this manual, meets FCC requirements. Modifications not expressly approved by Yamaha may void your authority, granted by the FCC, to use the product. - IMPORTANT: When connecting this product to accessories and/ or another product use only high quality shielded cables. Cable/s supplied with this product MUST be used. Follow all installation instructions. Failure to follow instructions could void your FCC authorization to use this product in the USA.
- NOTE: This product has been tested and found to comply with the requirements listed in FCC Regulations, Part 15 for Class “B” digital devices. Compliance with these requirements provides a reasonable level of assurance that your use of this product in a residential environment will not result in harmful interference with other electronic devices. This equipment generates/uses radio frequencies and, if not installed and used according to the instructions found in the users manual, may cause interference harmful to the operation of other electronic devices. Compliance with FCC regulations does not guarantee that interference will not occur in all installations. If this product is found to be the source of interference, which can be determined by turning the unit “OFF” and “ON”, please try to eliminate the problem by using one of the following measures:
- Relocate either this product or the device that is being affected by the interference.
- Utilize power outlets that are on different branch (circuit breaker or fuse) circuits or install AC line filter/s.
- In the case of radio or TV interference, relocate/reorient the antenna. If the antenna lead-in is 300 ohm ribbon lead, change the lead-in to co-axial type cable.
If these corrective measures do not produce satisfactory results, please contact the local retailer authorized to distribute this type of product. If you can not locate the appropriate retailer, please contact Yamaha Corporation of America, 6600 Orangethorpe Ave, Buena Park, CA90620, USA.
The above statements apply ONLY to those products distributed by Yamaha Corporation of America or its subsidiaries.
BEFORE USING THE UNIT
Features
- Optical digital output
- Coaxial digital output
- Supports playback of CD-R and CD-RW discs
- Supports playback of files stored on USB flash drives or data CDs (MP3/WMA/AAC/WAV/FLAC)
- Random-sequence playback (page 14)
- Repeat playback (page 14)
- Program playback (audio CDs only) (page 14)
- A-B Repeat playback (audio CDs only) (page 15)
- PURE DIRECT function (page 15)
- Configurable display settings (items to be displayed/brightness) (page 15)
- Remote-controlled Standby On/Off · Playback Mode Memory (page 19)
- Ready mode (page 19)
- Automatic Playback function (page 19)
- Auto Power Standby function (page 19)
About this manual
- This manual explains operations performed primarily on the supplied remote control.
- All illustrations in this manual are provided for the purpose of operational instruction.
- In this manual, a music CD is referred to as an audio CD, and a CD that contains MP3/WMA/AAC/WAV/FLAC data is referred to as a data CD.
- Specifications and appearance are subject to change without notice.
WARNING is intended to alert you to the risk of death or serious injury.
CAUTION is intended to alert you to the risk of personal injury.- Notice should be observed to avoid malfunction and damage to this product.
- Note provide supplemental information that might be handy.
Accessories
- Remote control
- Power cord
- RCA stereo cable
- Batteries (AA, R6, UM-3) (x2)
- Owner’s Manual (this manual)
Inserting batteries into the remote control
Insert the batteries in the proper orientation.
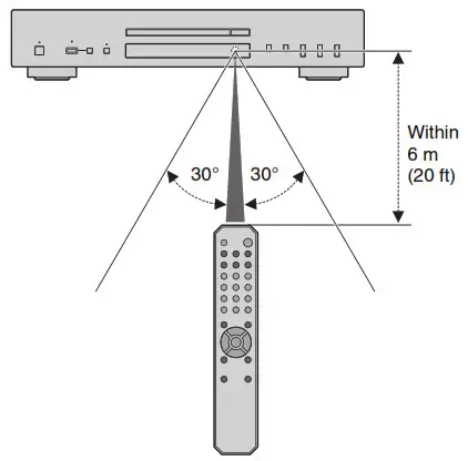
Remote control operating range
Point the remote control toward the remote control sensor on the unit from within the range shown in the figure on the right.
PREPARATION
Connecting to an amplifier
CAUTION
- Do not plug the power cord of this unit and other connected devices into AC outlets until all nonpower connections are complete.
Connecting the power cord
After all the connections are complete, connect the supplied power cord to the AC IN connector on this unit, and then plug the other end into an AC outlet.
Turning on the power
To turn on the power to the unit, press
(Power) on the front panel.
Note
- If you press
(Power) on the remote control while the power to the unit is on, the unit will enter Standby mode. - The power indicator on the unit operates as follows:
Brightly lit: Power is on
Dimly lit: Standby mode
Off: Power is off - This unit features an Auto Power Standby function that saves power consumption (page 19). (Default: Auto Power Standby On)
PLAYING AUDIO
Playing an audio CD

This unit enables you to play data CDs as well as audio CDs. For information on the type of CDs that can be played on this unit, please refer to “Supported file formats/discs/USB flash drives” (page 20).
- Press CD/USB to switch to Disc mode. The playback media indicator (CD) on the display lights up.
- Place a CD on the disc tray. Press OPEN/CLOSE repeatedly to open and close the disc tray.
Note
• You can also press
(Open/Close) on the front panel repeatedly to open and close the disc tray. - Press
(Play).
The
(Play) indicator on the display lights up and playback starts.
Note
• During audio file playback, the playback media indicator reflecting the file format lights up.
Notice
• Do not insert your hand or finger into the disc tray slot. Doing so might cause injury.
Note
• After you place a CD on the disc tray, the disc tray will close and playback will start if you perform one of the following operations:
– Press
(Play)
- Press a numeric key that corresponds to a track number.
• You can configure the unit so that playback automatically starts when power to the unit is turned on or when you switch to Disc or USB mode (page 19).
(Default: Automatic Playback On)
Use the following remote control keys to navigate the operation.
| Available keys | Function |
| The | |
| The | |
| Stops playback. | |
| Searches tracks backward. | |
| Searches tracks forward. | |
| Skips back to the previous track. Skips back to the top of the current track if pressed during playback. | |
| Skips to the next track. | |
| Numeric keys | Enter a track number to directly select the corresponding track. |
| FOLDER , | Enable you to select a folder. |
* The control buttons on the front panel function as follows:
(Skip backward/Search backward):
Skips back to the previous track. Skips back to the top of the current track if pressed during playback. It also searches tracks backward if you press and hold the button.
(Skip forward/Search forward): Skips to the next track. It also searches tracks forward if you press and hold the button.
Playing music files stored on your USB flash drive

You can play music files (stored on your USB flash drive) on this unit. For information on the supported USB flash drives, please refer to “Supported file formats/discs/USB flash drives” (page 20).
- Press CD/USB to switch to USB mode.
The playback media indicator (USB) on the display lights up, and the USB indicator on the front panel lights up orange. - Connect the USB flash drive to the USB jack.
When the unit is ready for playback, the USB indicator on the front panel lights up green.
Notice
• Do not use extension cables - Press
(Play)
The
(Play) indicator on the display lights up and playback starts.
Note
- During audio file playback, the playback media indicator reflecting the file format lights up.
- If compatible music files are stored on your USB flash drive, the unit will play them in chronological order based on date of creation.
Notice
- Do not remove the USB flash drive during playback, or while the information display on the front panel is indicating “USB READING” . In this case, first press CD/USB to switch to Disc mode, make sure that the USB indicator turns off, and then remove the flash drive.
Use the following remote control keys to navigate the operation.
| Available keys | Function |
| The | |
| The | |
| Stops playback. | |
| Searches tracks backward. | |
| Searches tracks forward. | |
| Skips back to the previous track. Skips back to the top of the current track if pressed during playback. | |
| Skips to the next track. | |
| FOLDER , | Enable you to select a folder. |
* The control buttons on the front panel function as follows:
(Skip backward/Search backward):
Skips back to the previous track. Skips back to the top of the current track if pressed during playback. It also searches tracks backward if you press and hold the button.
(Skip forward/Search forward):
Skips to the next track. It also searches tracks forward if you press and hold the button.
Advanced functions
You can configure playback mode and display settings using advanced functions.
Random-sequence playback

Press RANDOM to play tracks in random order. Pressing RANDOM repeatedly will change the Random-sequence playback setting as follows:
| Indicator | Setting |
| RNDM | Plays all tracks in random order. |
| Off | T urns off Random-sequence playback. |
Note
• To cancel Random-sequence playback, open the disc tray.
Repeat playback
Press REPEAT to play tracks repeatedly. Pressing REPEAT repeatedly will change the Repeat playback setting as follows:
| Indicator | Setting |
| REP | Plays one track repeatedly. |
| REP FOLDER (Data CDs and USB flash drives only) | Plays tracks in the current folder repeat |
| REP ALL | Plays all tracks repeatedly. |
| Off | T urns off Repeat playback. |
Note
- To cancel Repeat playback, open the disc tray.
Playing tracks in the specified order (Program playback)
You can play audio CD tracks in the specified order.
- Press PROGRAM while playback is stopped.

- Use the numeric keys to enter the track number of a song you want to program.

- Press ENTER.
Repeat steps 2 and 3 to program each track.
Press CLEAR to cancel each programmed track starting with the last track you programmed. - Press
(Play).
Note
- Program playback does not work with data CDs or USB flash drives.
- You can program up to 24 tracks.
- Do one of the following to clear all programmed tracks:
- Press CLEAR while Program playback is stopped.
- Turn off the power to the unit or set the unit in Standby mode.
- Open the disc tray.
Playing a specified part repeatedly (A-B Repeat playback)

You can specify the start and end points of a track during audio CD playback to play the specified part repeatedly.
- Play an audio CD.
- Press A/B at the point you want to start Repeat playback.

- Press A/B again at the point you want to end Repeat playback.
The unit starts Repeat playback.
Note
- Repeat playback does not work with data CDs or USB flash drives.
- You cannot specify the A-B Repeat setting when the PURE DIRECT function is turned on.
- Do one of the following to cancel A-B Repeat playback:
– Press A/B again.
– Press
(Stop).
– Open the disc tray.
Enjoying high-quality sound playback (PURE DIRECT)
If the PURE DIRECT function is turned on, digital audio will not be output. In this way, the PURE DIRECT function reduces noise that would affect sound quality, enabling you to enjoy playback of highquality sound.
Pressing PURE DIRECT repeatedly will toggle between PURE DIRECT on and off.
Note
- To use the PURE DIRECT function, connect the ANALOG OUT jacks on the rear panel to the amplifier. The DIGITAL OUT jacks will not output any signals.
- When the PURE DIRECT function is turned on:
- The PURE DIRECT indicator lights up.
- The front panel display will be turned off while content is playing.
- Only a minimum number of indicators and messages will appear while you are operating the unit.
- This setting will be maintained after you turn off the power to the unit.
Switching information on the display
Pressing DISPLAY repeatedly during playback will switch the information on the display as follows:
| Playback media | Information on the display |
| Audio CD | Elapsed time → Remaining time of the current track (TRACK REMAIN) → Total remaining time on the CD (TOTAL REMAIN) → Track name* → Artist name* → Album title* * If CD-text has been embedded |
| Data CD, USB flash drive | Elapsed time → Track name* → Artist name* →Album title* * If tags have been embedded |
Note
- The information display indicates up to 64 characters (1-byte alphanumeric characters and several symbols).
Changing the display brightness
Press DIMMER repeatedly to switch between four stages of display brightness.
APPENDIX
Part names
Front panel

| 1. 2. Power indicator (page 11) 3. USB jack (page 13) 4. USB indicator (page 13) 5. CD/USB (pages 12, 13) 6. PURE DIRECT (page 15) 7. PURE DIRECT indicator (page 15) 8. Disc tray (page 12) | 9. 10. Remote control sensor (page 9) 11. 12. 13. 14. 15. |
Display

| 1. 2. Playback media indicator (pages 12, 13) 3. Advanced setting indicator (page 19) | 4. Time indicator (page 15) 5. Playback mode indicator (pages 14, 15) 6. Information display (pages 14, 15, 19) |
Rear panel

- ANALOG OUT jacks (page 10)
- DIGITAL OUT jack (COAXIAL) (page 10)
- DIGITAL OUT jack (OPTICAL) (page 10)
- AC IN connector (page 10)
Remote control
| 1. (Power) (page 11) 2. Remote control signal transmitter (page 9) 3. OPEN/CLOSE (page 12) 4. PROGRAM (page 14) 5. REPEAT (page 14) 6. DIMMER (page 15) 7. RANDOM (page 14) 8. A/B (page 15) 9. DISPLAY (page 15) 10. Numeric keys (pages 12, 14) 11. CLEAR (page 14) 12. ENTER (page 14) 13. 14. CD/USB (pages 12, 13) 15. PURE DIRECT (page 15) |
Advanced settings
This section explains how to configure various advanced functions. You can configure most of these settings from the front panel. (Some settings require remote control operation.)
- Place the unit in Standby mode (page 11).
- Press and hold PURE DIRECT,
(Open/Close), and
(Play), simultaneously for three seconds or longer.
The following indicator appears on the information display of the front panel, and the unit enters setting mode. You can set the Playback Mode Memory, Ready Mode, Automatic Playback, and Auto Power Standby functions in this order.
- Press
or
to turn the function on or off. - Press
(Stop).
The setting is confirmed, and t he next parameter is automatically selected. Repeat steps 3 and 4. When all settings are complete, the following indicator appears on the information display of the front panel, and the unit enters Standby mode.
Note
• If you press
(Play) during this process, the setting at that point will be confirmed, and the unit will enter Standby mode.
Playback Mode Memory (PLAY MEM)
With this function enabled, the unit retains the Repeat playback and Random-sequence playback settings even after the power to the unit is turned off. When the Playback Mode Memory function is turned on, the Advanced setting indicator (RESUM) on the display lights up. Default: Off
Note
If you turn on the power to the unit after enabling the Playback Mode Memory function, the unit will play the most recently-played track or file from the beginning.
Ready Mode (RDY MODE)
With this function enabled, the unit pauses each time the playback of a track has completed. You can start playback of the next track when you choose. When the Ready Mode function is enabled, the Advanced setting indicator (RDY) on the display lights up.
Default: Off
Automatic Playback (AUTO PLAY)
With this function enabled, the unit automatically starts playback when power to the unit is turned on or when you switch to Disc or USB mode. Default: On
Auto Power Standby (AUTO STBY)
With this function enabled, the unit automatically enters Standby mode if you do not interact with it for 20 minutes after the playback has stopped. Default: On
Supported file formats/discs/USB flash drives
Supported file formats
| File | Sampling frequency (kHz) | Bit depth (bit) | Bitrate (kbps) | Number of channels |
| MP3 | 32/44.1/48 | — | 32-320 | 2 |
| WMA | 32/44.1/48 | — | 48-192 | 2 |
| AAC | 32/44.1/48 | — | 8-320 | 2 |
| WAV * | 32/44.1/48/64/88.2/96 | 16/24 | — | 2 |
| FLAC | 32/44.1/48/64/88.2/96 | 16/24 | — | 2 |
* Linear PCM format only.
Note
- Files on a data CD or USB flash drive will be played in chronological order based on date of creation.
- This unit supports ISO9660 format discs.
- If the unit is playing a VBR (variable bitrate) file, an accurate elapsed time might not be displayed.
- Digital Rights Management (DRM) encoded content cannot be played back.
Data CD USB flash drive Number of folder hierarchies
(including the root folder)9 9 Number of folders 512 512 Number of files 65535 65535
Supported discs
Please use discs with the following logos.
Compact discs (audio CDs)
CD-R and CD-RW discs
- Discs with one of the following descriptions:
FOR CONSUMER
FOR CONSUMER USE
FOR MUSIC USE ONLY - For CD-R or CD-RW discs, the unit plays only the finalized discs.
Note - This unit might not play some CD-R/CD-RW discs or discs that were improperly recorded.
CD-TEXT discs
These discs contain embedded text information, such as album titles, song names, and artist names. This information (alphanumeric characters and some symbols only) along with the elapsed time will be displayed.
Notice
- Do not use odd-shaped discs or discs with tape or a decal attached. Otherwise, malfunction of the unit may occur.
- This unit might not play some CD-RW discs or discs that were improperly recorded.
- To play back an 8-cm CD, place it in the inner recessed area of the disc tray. Do not put a normal (12-cm) CD on top of an 8-cm CD.
Handling a disc
- Handle a disc carefully so as not to scratch the recorded surface. Do not bend a disc.
- If there are any fingerprints or dust on the recorded surface, use a soft cloth to wipe the surface straight from the center toward the perimeter.

- Never use a vinyl record cleaner, anti-static agent, or other chemical to wipe a disc.
- Use a soft-tip pen to write only on the label side.
- Do not leave a disc under the direct sunlight or in a location that is exposed to high temperature or humidity for a long period of time.
- Do not use a commercially-available lens cleaner. Otherwise, a malfunction may occur.
Supported USB flash drives
Before you use this unit to play music files stored on a USB flash drive, make sure that the following requirements are satisfied:
- The USB flash drive complies with mass storage class requirements.
- Data has been recorded using the FAT16 or FAT32 file system.
Notice
- Some USB flash drives may not operate properly.
- USB flash drives with encryption cannot be used.
- Yamaha and its dealers are not responsible for the loss of any data stored on a USB flash drive that is connected to this unit. We recommend that you keep backup data in case of loss of data.
- Yamaha will not guarantee the operation or power supply to any USB flash drives.
Specifications
The specifications of this unit are as follows.
Output jacks
- Analog audio x 1 (RCA Unbalanced)
- Digital audio COAXIAL x 1, OPTICAL x 1
Other jacks
- USB × 1 (USB2.0)
Audio section
- Output Level (1 kHz, 0 dB, Fs 44.1 kHz) ……………………………….. 2.0 ± 0.3 V
- S/N Ratio (IHF-A Network) (1 kHz, 0 dB, Fs 44.1 kHz) ………………..105 dB or higher
- Dynamic Range (1 kHz, 0 dB, Fs 44.1 kHz) ……………………………..96 dB or higher
- Harmonic Distortion (1 kHz, 0 dB, Fs 44.1 kHz) ……………………….0.003% or lower
- Frequency Response
Audio CD ……………………………………………………………… 2 Hz 20 kHz
Data CD/USB Fs 48 kHz …………………………………………….. 2 Hz 22 kHz
Fs 96 kHz ……………………………………………………………… 2 Hz 44 kHz, 3 dB
Laser section
- Laser Type …………………………………………………………….. AIGaAs
- Wavelength ……………………………………………………………..790 nm
- Laser Output ………………………………………………………….Max. 1.04 mW
General
- Power Supply U.S.A. and Canada mo…………………………………..AC 120 V, 60 Hz
Australia model ………………………………………………………AC 240 V, 50 Hz
Europe and U.K. models ………………………………………………AC 230 V, 50 Hz
Asia and General models ……………………………………………. AC 110-240 V, 50/60 Hz China model…………………………………………………………………..AC 220 V, 50 Hz - Power Consumption…………………………………………………..11 W
- Standby Power Consumption Power Standby (Standby mode)…………0.2 W
Power Off ……………………………………………………………..0.2 W - Dimensions (W × H × D)…………………………………………….. 435 x 87 x 260 mm
(17-1/8″ × 3-3/8″ × 10-1/4″) - Weight…………………………………………………………………3.5 kg (7.7 lb)
* The contents of this manual apply to the latest specifications as of the publishing date. To obtain the latest manual, access the Yamaha website then download the manual file.
Troubleshooting
Refer to the table below if the unit fails to function properly. If your problem is not listed below, or if the symptoms persist after you follow the instructions below, turn off the power to the unit by pressing
(Power) on the front panel, disconnect the power cord, and contact your nearest authorized Yamaha dealer or service center.
| Problem | Cause | Solution | Page |
| Pressing the power switch does not turn the power on. | The power cord may not be properly plugged in. | Connect the power cord firmly to the AC outlet. | 10 |
| The disc tray does not close completely. | A foreign object is inside the disc tray enclosure. | Check the disc tray and remove any foreign object. | — |
| Unable to play the inserted disc. | The disc is scratched. | Change the disc. | — |
| The lens inside the unit has condensation. | Turn on the power to the unit, wait 20 — 30 minutes, and then try to play the disc again. | ||
| The disc is set upside down. | Be sure to place the disc with its label side up. | — | |
| The disc is dirty or scratched. | Wipe off the dirt from the disc surface, or use an unscratched disc. | 21 | |
| You tried to play files in a format that is not supported by the unit. | Be sure to use a disc that contains files in a format that is supported by the unit. | 20 | |
| You tried to play a disc that is not supported by the unit. | Be sure to use a disc that is supported by the unit. | 20, 21 | |
| The unit is in USB mode. | Press CD/USB to switch to Disc mode. | 12, 16, 18 | |
| Playback does not start immediately or from the correct point. | The disc is dirty or scratched. | Wipe off the dirt from the disc surface, or use an unscratched disc. | 21 |
| Unable to play a music file stored on the USB flash drive. | The USB flash drive may not be properly connected to the unit. | Connect the USB flash drive properly. | 13 |
| You tried to play files in a format that is not supported by the unit. | Be sure to use a USB flash drive that contains files in a format that is supported by the unit. | 20 | |
| The unit is in Disc mode. | Press CD/USB to switch to USB mode. | 13, 16, 18 | |
| No sound | The unit is not connected to the amplifier properly. | Check the connection to the amplifier. | 10 |
| Audio is not output from the device connected to the DIGITAL OUT jacks. | The PURE DIRECT function is turned on. | Turn the PURE DIRECT function off. | 15 |
| The sound skips. | The unit is affected by vibration or impact. | Change the location of the unit. | — |
| The disc is dirty or scratched. | Wipe off the dirt from the disc surface, or use an unscratched disc. | 21 |
| Buzzing or hum noise is heard. | The RCA stereo cable is not connected firmly. | Connect the RCA stereo cable firmly. If the symptom does not improve check to see whether the cable itself is defective. | 10 |
| Noise in the tuner | The unit is located close to the tuner. | Relocate the unit farther away from the tuner, or turn off the power to the unit. | — |
| The disc tray is making noise. | The disc is deformed. | Use a non-deformed disc. | — |
| No indication on the display | The PURE DIRECT function is turned on | Turn the PURE DIRECT function off. | 15 |
| No folder name or file name appears on the information display. | Characters other than one-byte alphanumeric are used for the folder or file name. | Use one byte alphanumeric characters for the folder and file names. | 15 |
| The remote control does not work or function properly. | The batteries are weak. | Replace all batteries. | 9 |
| Wrong distance or angle. | Use the remote control within the operative range. | 9 | |
| Direct sunlight or lighting (from an inverter type of fluorescent lamp, etc.) is striking the remote control sensor of this unit. | Reposition the orientation of the lighting or the unit. | — |


Software licenses
This product uses the following software.
Licences de logiciel
Ce produit utilise le logiciel suivant.
FLAC
Copyright © 20002009 Josh Coalson
Copyright © 20112021 Xiph.Org Foundation
Redistribution and use in source and binary forms, with or without modification, are permitted provided that the following conditions are met:
- Redistributions of source code must retain the above copyright notice, this list of conditions and the following disclaimer.
- Redistributions in binary form must reproduce the above copyright notice, this list of conditions and the following disclaimer in the documentation and/or other materials provided with the distribution.
- Neither the name of the Xiph.org Foundation nor the names of its contributors may be used to endorse or promote products derived from this software without specific prior written permission.
THIS SOFTWARE IS PROVIDED BY THE COPYRIGHT HOLDERS AND CONTRIBUTORS “AS IS” AND ANY EXPRESS OR IMPLIED WARRANTIES, INCLUDING, BUT NOT LIMITED TO, THE IMPLIED WARRANTIES OF MERCHANTABILITY AND FITNESS FOR A PARTICULAR PURPOSE ARE DISCLAIMED. IN NO EVENT SHALL THE FOUNDATION OR CONTRIBUTORS BE LIABLE FOR ANY DIRECT, INDIRECT, INCIDENTAL, SPECIAL, EXEMPLARY, OR CONSEQUENTIAL DAMAGES (INCLUDING, BUT NOT LIMITED TO, PROCUREMENT OF SUBSTITUTE GOODS OR SERVICES; LOSS OF USE, DATA, OR PROFITS; OR BUSINESS INTERRUPTION) HOWEVER CAUSED AND ON ANY THEORY OF LIABILITY, WHETHER IN CONTRACT, STRICT LIABILITY, OR TORT (INCLUDING NEGLIGENCE OR OTHERWISE) ARISING IN ANY WAY OUT OF THE USE OF THIS SOFTWARE, EVEN IF ADVISED OF THE POSSIBILITY OF SUCH DAMAGE.
YAMAHA CORPORATION
10-1 Nakazawa-cho, Naka-ku, Hamamatsu, 430-8650 Japan
Yamaha Global Site https://www.yamaha.com/
Yamaha Downloads https://download.yamaha.com/
Manual Development Group
© 2021 Yamaha Corporation
Published 07/2021 IPOD-B0
VFG4170

CD-S303
CD-S303RK
Compact Disc Player
Update Guide
Updating the firmware
Follow the steps below to update the firmware of the unit.
Checking the firmware version of the unit
- Turn on the unit.
- If the USB indicator on the front panel is lit, press CD/USB to switch to Disc mode.
If a CD has been placed on the disc tray, remove it. - Press and hold A/B on the remote control.
The current firmware version appears on the information display of the front panel for about five seconds. Write down the version number.
Downloading the firmware
- Have the following items ready.
• USB flash drive: Use a USB flash drive that meets all of the following requirements.
–Supports the USB mass storage device class
–Formatted in FAT16 or FAT32 format
–No encryption applied
–No data stored on the device (empty)
• Computer that can be connected to the Internet - Download the firmware.
Check the version number of the latest firmware uploaded on the product pages of Yamaha website. Download the firmware to update only if it is newer than that of the unit. - Save the firmware data file to the USB flash drive.
Decompress the downloaded file and save the firmware data file in a folder at the highest level of hierarchy (i.e., the root folder) of the USB flash drive.
Note
- Do not change the file name when saving the firmware data file to the USB flash drive.
Updating the firmware
Operate the unit to update the firmware.
- Press CD/USB to switch to USB mode.
- Connect the USB flash drive to the USB jack on the front panel. “UNSUPPORT” appears on the information display of the front panel.
- Press and hold (Pause). “UPGRADE” appears on the information display of the front panel, and the unit starts updating its firmware. The updating process takes about 20 seconds to complete. When the process completes, the unit automatically restarts.
Notice
• Do not turn off the power to the unit while updating. T urning off the power while updating the firmware may cause damage to the unit. - Press CD/USB to switch to Disc mode.
- Press and hold A/B on the remote control. Make sure that the firmware version indicated on the display is the same as that of the downloaded firmware.
- Turn off the unit and remove the USB flash drive.
Troubleshooting
If the “UPGRADE” stays on the information display for one minute or longer
The update process might have failed. Turn off the unit and remove the USB flash drive.
Make sure that the following requirements are satisfied, and then perform the operation from step 1 of “Updating the firmware” again.
- The firmware data file has been saved in a folder at the highest level of hierarchy (i.e., the root folder) of the USB flash drive.
- The data file name of the firmware has not been changed.
LIMITED WARRANTY ON HOME AUDIO PRODUCTS
Thank you for selecting a YAMAHA product. YAMAHA products are designed and manufactured to provide a high level of defect-free performance. Yamaha Corporation of America (“YAMAHA”) is proud of the experience and craftsmanship that goes into each and every YAMAHA product. YAMAHA sells its products through a network of reputable, specially authorized dealers and is pleased to offer you, the Original Owner, the following Limited Warranty, which applies only to products that have been (1) directly purchased from YAMAHA’s authorized dealers in the USA, including Puerto Rico (the “Warranted Area”) and (2) used exclusively in the Warranted Area. YAMAHA suggests that you read the Limited Warranty thoroughly, and invites you to contact your authorized YAMAHA dealer or YAMAHA Customer Service if you have any questions.
THIS WARRANTY COVERS THE LISTED PRODUCTS AGAINST DEFECTS IN MATERIALS OR WORKMANSHIP FORTHE NUMBER OFYEARS IDENTIFIED BELOW.
Warranty Term
| Type of Product | Duration of Warranty from Date of Purchase by or for the Original Owner |
| AN and Stereo Receivers, Processor and Integrated Amplifiers, Separate Amplifiers and Preamplifiers, Tuners, CD Players and Changers, HDD Players and Recorders, Network Players, Powered Loudspeakers, Media Controllers and Speaker Systems purchased individually, as a pair, or as part of an Integrated or Packaged System. | …………………… 2 years |
| Cassette Decks, Blu-ray Disc Players, DVD Players and Changers, Integrated Systems (Receiver or Amplifier combined or on same chassis with CD, DVD or Blu-ray Disc Player), Desktop Audio Systems (i.e. TSX and POX Series}, Multimedia Speakers, Headphones, Earphones and Accessories. | …………………… 1 year |
Coverage: YAMAHA will, at its option, repair or replace the product covered by this warranty if it becomes defective, malfunctions or otherwise fails to conform with this warranty under normal use and service during the term of this warranty, without charge for labor or materials. Repairs may be performed using new or refurbished parts that meet or exceed YAMAHA specifications for new parts. If YAMAHA elects to replace the product, the replacement may be a reconditioned unit. You will be responsible for any installation or removal charges and for any initial shipping charges if the product(s) must be shipped for warranty service. However, YAMAHA will pay the return shipping charges to any destination within the USA if the repairs are covered by the warranty. This warranty does not cover (a) damage, deterioration or malfunction resulting from accident, negligence, misuse, abuse, improper installation or operation or failure to follow instructions according to the Owner’s Manual for this product; any shipment of the product (claims must be presented to the carrier) ; repair or attempted repair by anyone other than YAMAHA or an authorized YAMAHA Service Center; (b) any unit which has been altered or on which the serial number has been defaced, modified, or removed; (c) normal wear, battery or battery replacement and any periodic maintenance; (d) deterioration due to perspiration, corrosive atmosphere, or other external causes such as extremes in temperature or humidity; (e) damages attributable to power line surge or related electrical abnormalities, lightning damage, or acts of God ; (f) RFI/EMI (Interference/noise) caused by improper grounding or the improper use of either certified or uncertified equipment, if applicable; or (g) interference arising from the use of wireless communication devices (e.g. 2.4 gHz cordless telephones), or other radio frequency emitting products such as microwave ovens, whether such interference impairs the operation of the product or vice-versa. Consult the Owner’s Manual for guidance on set-up procedures for minimizing the risks of interference. Any evidence of alteration, erasing or forgery of proof-of-purchase documents will cause this warranty to be void. This warranty covers only the Original Owner and is not transferable.
In Order to Obtain Warranty Service: Warranty service will only be provided for defective products within the Warranted Area. Contact your local authorized YAMAHA dealer who will advise you of the procedures to be followed. If this is not successful, contact YAMAHA at the address, telephone number, or website shown below. YAMAHA may request that you send the defective product to a local authorized YAMAHA Servicer or authorize return of the defective product to YAMAHA for repair. For products requiring in-home service, contact your local authorized Yamaha dealer to arrange for service. If you are uncertain as to whether a dealer has been authorized by YAMAHA, please contact YAMAHA’s Service Department at the number shown below, or check Yamaha’s website at http://usa.yamaha.com. Product(s) shipped for service should be packed securely and must be accompanied by a detailed explanation of the problem(s) requiring service, together with the original or a machine reproduction of the bill of sale or other dated, proof-of-purchase document describing the product, as evidence of warranty coverage. Should any product submitted for warranty service be found ineligible therefore, an estimate of repair cost will be furnished and the repair will be accomplished only if requested by you and upon receipt of payment or acceptable arrangement for payment.
Limitation of Implied Warranties and Exclusion of Damages: ANY IMPLIED WARRANTIES, INCLUDING WARRANTIES OF MERCHANTABILITY AND FITNESS FOR A PARTICULAR PURPOSE SHALL BE LIMITED IN DURATION TO THE APPLICABLE PERIOD OF TIME SET FORTH ABOVE. YAMAHA SHALL NOT BE RESPONSIBLE FOR INCIDENTAL OR CONSEQUENTIAL DAMAGES OR FOR DAMAGES BASED UPON INCONVENIENCE, LOSS OF USE, DAMAGE TO ANY OTHER EQUIPMENT OR OTHER ITEMS AT THE SITE OF USE OR INTERRUPTION OF PERFORMANCES OR ANY CONSEQUENCES. YAMAHA’S LIABILITY FOR ANY DEFECTIVE PRODUCT IS LIMITED TO REPAIR OR REPLACEMENT OF THE PRODUCT, AT YAMAHA’S OPTION. SOME STATES DO NOT ALLOW LIMITATIONS ON HOW LONG AN IMPLIED WARRANTY LASTS OR THE EXCLUSION OR LIMITATION OF INCIDENTAL OR CONSEQUENTIAL DAMAGES, SO THE ABOVE LIMITATION OR EXCLUSION MAY NOT APPLY TO YOU . This Warranty gives you specific legal rights, and you may also have other rights which vary from state to state. This is the only express warranty applicable to the product specified herein; Yamaha neither assumes nor authorizes anyone to assume for it any other express warranty.
If you have any questions about service received or if you need assistance in locating an authorized YAMAHA Servicer, please contact:

CUSTOMER SERVICE
Yamaha Corporation of America
6600 Orangethorpe Avenue, Buena Park, California 90620-1373
Telephone: 800-292-2982
http://usa.yamaha.com
Do not return any product to the above address without a written Return Authorization issued by YAMAHA.
©2012 Yamaha Corporation of America
03/2017 ZY48670
YAMAHA AUDIO WARRANTY
Yamaha Canada Music Ltd. warrants to the original purchaser of its audio products that such products are free from defects in workmanship and materials as follows:
Product
Warranty Period from date ~ of Original Purchase E
* Receivers, Amplifiers, Tuners, Compact Disc Players, Digital Sound Projectors,
Speaker Systems and Subwoofers purchased individually ……………. ………. ………… …….. …. .. .. ……… ………………………… …… 2 years
* DVD Players, CD Recorders, Blu-ray Disc Players, Network Music Players and Commanders, Clock Radios, iPod Speaker Systems, Powered Multimedia Speakers, Headphones, Earphones, Integrated Systems (Receiver or Amplifier combined or on same chassis with an Optical Disc Player along with any included Speakers), Accessories ……… 1 year
* Lamp Cartridge for Projectors ……………………………………………………………………………………………………………………………. 180 days
Subject to the following terms and conditions if any Yamaha Canada Music Ltd. audio products become defective during the applicable warranty eriod. Yamaha Canada Music Ltd. will repair such product without charge, including both parts and labour.
Terms and Conditions:
- Defective units must be returned to an authorized Yamaha Audio Service Centre together with a complete description of the defect, and Bill of Sale.
- Any transportation, packing and insurance arrangements are the responsibility of the owner.
- This warranty does not cover normal maintenance of the products and is subject to the products being properly maintained in accordance with the maintenance instructions contained in the Yamaha Owner’s Manual.
- This Warranty does not cover:
a) Physical damage due to abuse:
b) Shipping damage.
c) Burned voice coils on tweeter and midrange speakers (caused by amplifier chipping, i.e. operation of amplifier beyond rated wattage.)
d) Burned voice coils on woofers (caused by overpowering the speakers, i.e. operation of amplifier at power levels beyond speaker capability).
e) Performance checks.
f) Interconnection cables and FM antennas.
g) Blown fuses caused by improper operation. - This warranty does not cover products which have been altered or repaired other than by an authorized Yamaha Audio Service Centre, or products whose trademark name, model, or serial number have been altered or removed.
- THIS WARRANTY COVERS ONLY NEW AND UNUSED MERCHANDISE SOLD BY AUTHORIZED YAMAHA AUDIO DEALERS IN CANADA, AND SUBJECTED TO NORMAL CONSUMER USE, BY THE ORIGINAL PURCHASER.
- This warranty does not apply to Yamaha Canada Music Ltd. audio products sold in Saskatchewan, and to which statutory warranties contained in The Consumer Products Warranties Act, 1977 (Saskatchewan) are applicable.
- This warranty is void where prohibited by law.
Factory Service Centre located at:
135 Milner Avenue, Scarborough, Ontario, M1 S 3R1. (416)298-1311
http://ca.yamaha.com/en/support/getting_service/
For the location of other service centres, contact any Yamaha Audio Dealer or the above.
A WARRANTY REGISTRATION CARD IS NOT REQUIRED.
PLEASE KEEP YOUR BILL OF SALE AS PROOF OF PURCHASE SHOULD WARRANTY REPAIRS BE REQUIRED.
Product Registration
Thank you for purchasing a Yamaha product.
To help us provide better services to our customers via the Internet, we encourage you to complete product registration.

Worldwide Representative Offices
For details of products, please contact your nearest Yamaha representative or the authorized distributor listed below.
Pour plus de details sur les produits, contactez votre representant Yamaha le plus proche de chez vous ou le distributeur agree indique ci-dessous.
Visit the following website for the latest information.
Visitez le site Web suivant pour les routes dernieres informations.

https://manual.yamaha.com/av/support/avsalesrep.html
NORTH AMERICA
CANADA
Yamaha Canada Music Ltd. 135 Milner Avenue, Tronto, Ontario M1 S 3R1 , Canada
U.S.A.
Yamaha Corporation of America 6600 Orangethorpe Avenue, Buena Park, CA 90620, USA
CENTRAL & SOUTH AMERICA
MEXICO
Yamaha de Mexico, S.A. de c. V.
Av. lnsurgentes Sur 1647 Piso 9, Col. San Jose lnsurgentes, Delegaci6n Benito Juarez, CDMX, C.P 03900, Mexico
BRAZIL
Yamaha Musical do Brasil Ltda.
Prac;:a Professor Jose Lannes, 40, Cjs 21 e 22, Brooklin Paulista Novo CEP 04571-100 – Sao Paulo – SP, Brazil
ARGENTINA
Yamaha Music Latin America, S.A.
Sucursal Argentina
Olga Cossettini 1553, Piso 4 Norte Madero Este-C1107CEK Buenos Aires, Argentina
PANAMA AND OTHER LATIN AMERICAN COUNTRIES / CARIBBEAN COUNTRIES
Yamaha Music Latin America, S.A. Edificio Torre Davivienda, Piso: 20 Avenida Balboa, Marbella, Corregimiento de Bella Vista, Ciudad de Panama, Rep. de Panama
EUROPE
EUROPEAN COUNTRIES
Yamaha Music Europe GmbH Siemensstrasse 22-34, 25462 Rellingen, Germany
RUSSIA
Yamaha Music (Russia) LLC. Room37, entrance 7, bid. 7, Kievskaya street, Moscow, 121059, Russia
AFRICA
Yamaha Music Gulf FZE JAFZA-16, Office 512, PO.Box 17328, Jabel Ali FZE, Dubai, U.A.E
Head Office: Yamaha Corporation
10-1 , Nakazawa-cho, Naka-ku, Hamamatsu, 430-8650, Japan
Importer (European Union): Yamaha Music Europe GmbH
Siemensstrasse 22-34, 25462 Rellingen, Germany
Importer (United Kingdom): Yamaha Music Europe GmbH (UK)
Sherbourne Drive, Tilbrook, Milton Keynes, MK7 BBL, United Kingdom
Manual Development Group
© 2014 Yamaha Corporation
Published 03/2021 KS-10
MIDDLE EAST
TURKEY
Yamaha Music Europe GmbH Merkezl Almanya Turkiye Istanbul Subesl Mor Sumbul Sokak Varyap Meridian Business
1.Blok No:1 113-114-115 Bati Atasehir Istanbul, Turkey
OTHER REGIONS
Yamaha Music Gulf FZE
JAFZA-16, Office 512, P.O.Box 17328, Jabel Ali FZE, Dubai, U.A. E
ASIA
THE PEOPLE’S REPUBLIC OF CHINA
Yamaha Music & Electronics (China) Co., Ltd. 2F, Yunhedasha, 1818 Xinzha-lu, Jingan-qu, Shanghai, China
INDIA
Yamaha Music India Private Limited P-401 , JMD Megapolis, Sector-48, Sohna Road, Gurgaon-122018, Haryana, India
INDONESIA
PT Yamaha Musik Indonesia Distributor PT. Nusantik Yamaha Music Center Bldg., Jalan Jend. Gatot Subroto Kav. 4, Jakarta 12930, Indonesia
REPUBLIC OF KOREA
Yamaha Music Korea Ltd. 11 F, Prudential Tower, 298, Gangnam-daero, Gangnam-gu, Seoul, 06253, Korea
MALAYSIA
Yamaha Music (Malaysia) Sdn., Bhd. No.8, Jalan Perbandaran, 47301 Kelana Jaya, Petaling Jaya, Selangor, Malaysia
SINGAPORE
Yamaha Music (Asia) PRIVATE LIMITED Block 202 Hougang Street 21, #02-00, Singapore 530202, Singapore
TAIWAN
Yamaha Music & Electronics Taiwan Co., Ltd. 2F., No.1, Yuandong Rd. Banqiao Dist. New Taipei City 22063 Taiwan (R.O.C.)
THAILAND
Slam Music Yamaha Co., Ltd. 3, 4, 15, 16th Fl., Siam Motors Bldg., 891 /1 Rama 1 Road, Wangmai, Pathumwan, Bangkok 10330, Thailand
VIETNAM
Yamaha Music Vietnam Company Limited 15th Floor, Nam A Bank Tower 201-203 Cach Mang Thang Tam St., Ward 4, Dist.3, Ho Chi Minh City, Vietnam
OTHER REGIONS
Yamaha Corporation Nakazawa-cho 10-1 , Naka-ku, Hamamatsu, Japan 430-8650
OCEANIA
AUSTRALIA/ NEW ZEALAND
Yamaha Music Australia Pty. Ltd.
Level 1, 80 Market Street, South Melbourne, VIC 3205 Australia
As of Mar 2021
AVRO2101A

Notice


Note




Note


















