

Network Bullet Camera
Quick Start Guide
All Rights Reserved
Any and all information, including, among others, wordings, pictures, graphs are the properties of Hangzhou Hikvision Digital Technology Co., Ltd. or its subsidiaries (hereinafter referred to be “Hikvision”).
This user manual (hereinafter referred to be “the Manual”) cannot be reproduced, changed, translated, or distributed, partially or wholly, by any means, without the prior written permission of Hikvision. Unless otherwise stipulated, Hikvision does not make any warranties, guarantees, or representations, express or implied, regarding to the Manual.
About this Manual
Pictures, charts, images, and all other information hereinafter are for description and explanation only. The information contained in the Manual is subject to change, without notice, due to firmware updates or other reasons. Please find the latest version on the company website (http://www.hikvision.com).
Please use this user manual under the guidance of professionals.
Trademarks
and other Hikvision trademarks and logos are the properties of Hikvision in various jurisdictions. Other trademarks and logos mentioned below are the properties of their respective owners.
Disclaimer
TO THE MAXIMUM EXTENT PERMITTED BY APPLICABLE LAW, THE PRODUCT DESCRIBED, WITH ITS HARDWARE, SOFTWARE, AND FIRMWARE, IS PROVIDED “AS IS”, WITH ALL FAULTS AND ERRORS, AND HIKVISION MAKES NO WARRANTIES, EXPRESS OR IMPLIED, INCLUDING WITHOUT LIMITATION, MERCHANTABILITY, SATISFACTORY QUALITY, FITNESS FOR A PARTICULAR PURPOSE, AND NON-INFRINGEMENT OF THIRD PARTY. IN NO EVENT WILL HIKVISION, ITS DIRECTORS, OFFICERS, EMPLOYEES, OR AGENTS BE LIABLE TO YOU FOR ANY SPECIAL, CONSEQUENTIAL, INCIDENTAL, OR INDIRECT DAMAGES, INCLUDING, AMONG OTHERS, DAMAGES FOR LOSS OF BUSINESS PROFITS, BUSINESS INTERRUPTION, OR LOSS OF DATA OR DOCUMENTATION, IN CONNECTION WITH THE USE OF THIS PRODUCT, EVEN IF HIKVISION HAS BEEN ADVISED OF THE
POSSIBILITY OF SUCH DAMAGES.
REGARDING THE PRODUCT WITH INTERNET ACCESS, THE USE OF THE PRODUCT SHALL BE WHOLLY AT YOUR OWN RISK. HIKVISION SHALL
NOT TAKE ANY RESPONSIBILITY FOR ABNORMAL OPERATION, PRIVACY LEAKAGE, OR OTHER DAMAGES RESULTING FROM CYBER ATTACK, HACKER ATTACK, VIRUS INSPECTION, OR OTHER INTERNET SECURITY RISKS; HOWEVER, HIKVISION WILL PROVIDE TIMELY TECHNICAL SUPPORT IF REQUIRED.
SURVEILLANCE LAWS VARY BY JURISDICTION. PLEASE CHECK ALL RELEVANT LAWS IN YOUR JURISDICTION BEFORE USING THIS PRODUCT IN ORDER TO ENSURE THAT YOUR USE CONFORMS TO THE APPLICABLE LAW. HIKVISION SHALL NOT BE LIABLE IN THE EVENT THAT THIS PRODUCT IS USED WITH ILLEGITIMATE PURPOSES.
IN THE EVENT OF ANY CONFLICTS BETWEEN THIS MANUAL AND THE APPLICABLE LAW, THE LATTER PREVAILS.
Regulatory Information
FCC Information
Please take attention that changes or modifications not expressly approved by the party responsible for compliance could void the user’s authority to operate the equipment.
FCC compliance: This equipment has been tested and found to comply with the limits for a Class B digital device, pursuant to part 15 of the FCC Rules. These limits are designed to provide reasonable protection against harmful interference in a residential installation.
This equipment generates, uses, and can radiate radio frequency energy and, if not installed and used in accordance with the instructions, may cause harmful interference to radio communications. However, there is no guarantee that interference will not occur in a particular installation. If this equipment does cause harmful interference to radio or television reception, which can be determined by turning the equipment off and on, the user is encouraged to try to correct the interference by one or more of the following measures:
—Reorient or relocate the receiving antenna.
—Increase the separation between the equipment and receiver.
—Connect the equipment into an outlet on a circuit different from that to which the receiver is connected.
—Consult the dealer or an experienced radio/TV technician for help
FCC Conditions
This device complies with part 15 of the FCC Rules. Operation is subject to the following two conditions:
- This device may not cause harmful interference.
- This device must accept any interference received, including interference that may cause undesired operation.
EU Conformity Statement
| This product and – if applicable – the supplied accessories too are marked with “CE” and comply therefore with the applicable harmonized European standards listed under the EMC Directive 2014/30/EU, the RoHS Directive 2011/65/EU. | |
![]() | 2012/19/EU (WEEE directive): Products marked with this symbol cannot be disposed of as unsorted municipal waste in the European Union. For proper recycling, return this product to your local supplier upon the purchase of equivalent new equipment, or dispose of it at designated collection points. For more information see: www.recyclethis.info |
| 2006/66/EC (battery directive): This product contains a battery that cannot be disposed of as unsorted municipal waste in the European Union. See the product documentation for specific battery information. The battery is marked with this symbol which may include lettering to indicate cadmium (Cd), lead (Pb), or mercury (Hg). For proper recycling, return the battery to your supplier or to a designated collection point. For more information see: www.recyclethis.info |
Industry Canada ICES-003 Compliance
This device meets the CAN ICES-3 (B)/NMB-3(B) standards requirements.
Safety Instruction
These instructions are intended to ensure that user can use the product correctly to avoid danger or property loss.
The precaution measure is divided into “Warnings” and “Cautions”
Warnings: Serious injury or death may occur if any of the warnings are neglected.
Cautions: Injury or equipment damage may occur if any of the cautions are neglected.
Warnings | Warnings Follow these safeguards to prevent serious injury or death. |
Cautions | Cautions Follow these precautions to prevent potential injury or material damage. |
Warnings
- Proper configuration of all passwords and other security settings is the responsibility of the installer and/or end-user.
- In the use of the product, you must be in strict compliance with the electrical safety regulations of the nation and region. Please refer to technical specifications for detailed information.
- The power source should meet limited power source or PS2 requirements according to IEC 60950-1 or IEC 62368-1 standard.
- Do not connect several devices to one power adapter as adapter overload may cause overheating or a fire hazard.
- Please make sure that the plug is firmly connected to the power socket. When the product is mounted on a wall or ceiling, the device shall be firmly fixed.
- If smoke, odor or noise rise from the device, turn off the power at once and unplug the power cable, and then please contact the service center.
Cautions
- CAUTION: Hot parts! Burned fingers when handling the parts.

Wait one-half hour after switching off before handling parts. This sticker is to indicate that the marked item can be hot and should not be touched without taking care. For a device with this sticker, this device is intended for installation in a restricted access location, access can only be gained by service persons or by users who have been instructed about the reasons for the restrictions applied to the location and about any precautions that shall be taken. - Make sure the power supply voltage is correct before using the camera.
- Do not drop the camera or subject it to physical shock.
- Do not touch sensor modules with fingers. If cleaning is necessary, use a clean cloth with a bit of ethanol and wipe it gently. If the camera will not be used for an extended period, please replace the lens cap to protect the sensor from dirt.
- Do not aim the camera at the sun or extra bright places.
Blooming or smearing may occur otherwise (which is not a malfunction), and affect the endurance of the sensor at the same time. - The sensor may be burned out by a laser beam, so when any laser equipment is in use, make sure that the surface of the sensor will not be exposed to the laser beam.
- Do not place the camera in extremely hot, cold (the operating temperature shall be -30°C to 60°C), dusty or damp locations, and do not expose it to high electromagnetic radiation.
- To avoid heat accumulation, good ventilation is required for the operating environment.
- Keep the camera away from the liquid while in use.
- While in delivery, the camera shall be packed in its original packing, or packing of the same texture.
- Regular part replacement: a few parts (e.g. electrolytic capacitor) of the equipment shall be replaced regularly according to their average enduring time. The average time
varies because of differences between the operating environment and using history, so regular checking is recommended for all the users. Please contact with your dealer for more details. - This equipment is not suitable for use in locations where children are likely to be present.
- CAUTION: Risk of explosion if the battery is replaced by an incorrect type. Dispose of used batteries according to the instructions
- Improper replacement of the battery with an incorrect type may defeat a safeguard (for example, in the case of some lithium battery types).
- Do not dispose of the battery into fire or a hot oven, or mechanically crush or cut the battery, which may result in an explosion.
- Do not leave the battery in an extremely high temperature surrounding environment, which may result in an explosion or the leakage of flammable liquid or gas.
- Do not subject the battery to extremely low air pressure, which may result in an explosion or the leakage of flammable liquid or gas.
- If the product does not work properly, please contact your dealer or the nearest service center. Never attempt to disassemble the camera yourself. (We shall not assume any
responsibility for problems caused by unauthorized repair or maintenance.)
Appearance Description
Type I:
Figure 1-1 Type I Bullet Camera Overview
Table 1-1 Description
| No. | Description |
| 1 | Lens |
| 2 | Front Cover |
| 3 | Back Cover |
| 4 | Fix Ring |
| 5 | Power Cord |
| 6 | Network Cable |
Type II:
Figure 1-2 Type II Bullet Camera Overview
Table 1-2 Description
No. | Description |
| 1 | Lens |
| 2 | Front Cover |
| 3 | M IC |
| 4 | Back Cover |
| 5 | Mounting Base |
| 6 | Power Cord |
| 7 | Network Cable |
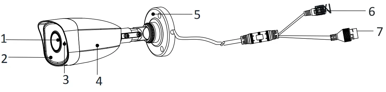
Type III:
Figure 1 -3 Type III Bullet Camera Overview
Table 1- 3 Description
No. | Description |
| 1 | Lens |
| 2 | Front Cover |
| 3 | Memory Card Slot Cover |
| 4 | Back Cover |
| 5 | Mounting Base |
| 6 | Power Cord |
| 7 | Network Cable |
Type IV:
Figure 1-4 Bullet Camera Overview
Table 1-4 Description
| No. | Description |
| 1 | Lens |
| 2 | Main Body |
| 3 | Bracket |
| 4 | Power Cord |
| 5 | Network Cable |
Type V:

Figure 1-5 Bullet Camera Overview
Table 1-5 Description
| No. | Description |
| 1 | Lens |
| 2 | Main Body |
| 3 | Bracket |
| 4 | Power Cord |
| 5 | Network Cable |
Note:
For cameras that support Power over Ethernet (PoE), the power is passed along with data on Ethernet cabling. And a switch that supports the PoE function is required.
Installation
Before you start:
- Make sure the device in the package is in good condition and all the assembly parts are included.
- The standard power supply is PoE or 12 VDC, please make sure your power supply matches with your camera.
- Make sure all the related equipment is power-off during the installation.
- Check the specification of the products for the installation environment.
- Make sure that the wall is strong enough to withstand four times the weight of the camera and the bracket.
- Make sure that there is no reflective surface too close to the camera lens. The IR light from the camera may reflect back into the lens causing reflection.
2.1 Memory Card Installation
Only type III camera supports memory card installation, you can follow the steps to mount and unmount the memory card.
Steps:
- Loosen the screws to remove the memory card slot cover.
Figure 2-1 Unscrew the Cover and Insert Memory Card - Insert the memory card into the memory card slot.
- (Optional) To unmount the memory card, push to get it ejected.
- Screw the cover back to the camera.
2.2 Ceiling Mounting
Before you start:
Both wall mounting and ceiling mounting are suitable for the bullet camera. Ceiling mounting will be taken as an example in this section.
And you can take steps of ceiling mounting as a reference for wall mounting.
This camera series shares a similar structure, and type IV camera is used for demonstration.
Steps:
- Paste the drill template (supplied) to the desired mounting position on the ceiling/wall.
- Drill the screw holes in the ceiling/wall according to the supplied drill template.
Note:
Drill the cable hole, if adopting a ceiling outlet to route the cable.
Figure 2-2 The Drill Template - Route the cables through the cable hole (optional), or the side opening.
- Fix the camera on the ceiling/wall with supplied screws.

Figure 2-3 Fix the Camera on the Ceiling/Wall
Note:
•In the supplied screw package, both self-tapping screws and expansion bolts are contained.
•If the ceiling is cement, expansion bolts are required to fix the camera. If the ceiling is wooden, self-tapping screws are required. - Connect the corresponding power cord and network cable.
- Power on the camera, and set the network configuration (for details, refer to 3 Activate and Access Network Camera) to check whether the image is gotten from the optimum angle. If not, adjust the surveillance angle.
1) Loosen the No.1 adjusting screw to adjust the rotation position [0° to 360°].
2) Tighten the No.1 adjusting screw.
3) Loosen the No.2 adjusting screw to adjust the tilting position [-90° to 90°].
4) Tighten the No. 2 adjusting screw.
5) Loosen the No.3 fix ring to adjust the pan position [0° to 360°].
6) Tighten the No.3 fix ring.
Note:
For some camera models, the tilting adjusting angle is 0° to 90°.
Figure 2-4 3-aix Adjustment - (Optional) Install the waterproof jacket. Refer to 2.4 Install Network Cable Waterproof Jacket for details.
2.3 Mounting with Junction Box
Before you start:
- Both wall mounting and ceiling mounting are suitable for the bullet camera. Wall mounting will be taken as an example in this section. And you can take steps of wall mounting as a reference for ceiling mounting.
- You need to purchase a junction box first.
Steps:
- Paste the drill template (supplied) to the desired mounting position on the wall/ceiling.
- Drill the screw holes and the cable hole (optional) in the wall/ceiling according to the drill template.
Note:
Drill the cable hole, if adopting a ceiling outlet to route the cable.
Figure 2-5 The Drill Template - Take apart the junction box, and align the screw holes of the bullet camera with those on the cover of the junction box
- Fix the camera on the cover of the junction box with three PM4 × 10 screws.
Figure 2-6 Fix the Camera on the Cover Junction Box - Secure the body of the junction box with three supplied screws on the wall.
Figure 2-7 Fix the Junction Box on the Wall - Route the cables through the cable hole. Here we take the bottom cable hole as an example to describe the installation.
1). Separate the waterproof cover and the cable gland from the junction box.
2). Route the cable through the bottom cable hole and the cable gland.
3). Screw the cable gland back on the bottom cable hole.
4). Screw the waterproof cover back on the side cable hole. - Combine the junction box cover with its body with three screws on the cover of the junction box.
Figure 2-8 Combine the Cover of Junction Box with its Body - Repeat steps 4 to 6 of 2.2 Ceiling Mounting to complete the installation.
2.4 Install Network Cable Waterproof Jacket
If the camera is installed outdoor, you should use the waterproof accessory to waterproof the network cable. Otherwise, the cable might get wet or a short circuit occurs.

Figure 2-9 Install Waterproof Jacket
Steps:
- Feed the network cable through ① and ③ in order.
- Fix ② on the network cable between ① and ③.
- Place ⑤ onto the end of ⑥, and plug the RJ45 male connector into the RJ45 female connector.
- Screw ③ to ⑥ clockwise.
- Push ② into ③.
- Secure ① with the ③ in clockwise direction.
Activate and Access Network Camera
Scan the QR code to get Activate and Visit Network Camera. Note that mobile data charges may apply if Wi-Fi is unavailable.

http://enpinfodata.hikvision.com/analysisQR/showQR/37f9f263
© 2020 Hangzhou Hikvision Digital Technology Co., Ltd.
UD19099B

Figure 2-1 Unscrew the Cover and Insert Memory Card
Figure 2-2 The Drill Template
Figure 2-4 3-aix Adjustment
Figure 2-5 The Drill Template
Figure 2-6 Fix the Camera on the Cover Junction Box
Figure 2-7 Fix the Junction Box on the Wall
Figure 2-8 Combine the Cover of Junction Box with its Body

















