MARLEY 346SIUTT Stir It Up Turntable Record Player
Welcome to the House of Marley.
We are honored you have selected the Stir It Up Turntable to become part of your music experience. The Stir It Up features design and material cues from our Get Together BT speaker and retro-design details of turntables from the Bob Marley era (1960-1980). Simple forms with rich materials, fit and finishes. Let the natural materials shine.
BEFORE USE
- Choose unit installation location carefully. Avoid placing it in direct sunlight or close to a source of heat. Also avoid locations subject to vibrations and excessive dust, cold or moisture. Keep away from sources that hum, such as transformers or motors.
- Do not open the cabinet as this may result in damage to the circuitry or electrical shock. If a foreign object should get into the set, contact Customer Service.
- Be sure not to handle record with dirty fingers. Never play a record that has a crack on the surface.
- When removing the power plug from the wall outlet, always pull directly on the plug, never pull the cord.
- To protect the stylus, don’t forget to put on the white protective needle cover after use.
- Do not attempt to clean the unit with chemical solvents as this might damage the finish. Use a clean, dry cloth.
- In order to shut off the power to this product completely, unplug the power cord from the wall outlet. Be sure to unplug the unit if you do not intend to use it for an extended period of time, such as a vacation.
- Keep this manual in a safe place for future reference.
ASSEMBLY
- Take all the components from the package and then place the product on a stable surface.
- Surround the belt on the bottom of metal platter. Make sure the belt is not installed twisted. Use your thumb to stretch the belt as the illustration below.
- Reverse the platter and don’t forget to keep holding the belt. Then match the spindle and insert the platter to the unit.
- Surround the belt which is held with your thumb into the main (white) rotation column of the triangular arrangement gear columns.
- Place the turntable mat on the platter. Then the main assembly is accomplished. NOTE: To disassemble the turntable, directly grasp the turntable and pull it upward
- Remove the counterweight and place it in it’s proper location on the Tone arm (refer to illustration)
- Remove the 45rpm adapter and place it in it’s new home located in the top right corner of the record player.
POWERING YOUR STIR IT UP TURNTABLE
Your Stir It Up turntable uses an AC power supply and is powered by a standard wall outlet.
- Insert the AC power supply into Stir It Up.
- Insert the wall plug into an appropriate wall outlet.
EASY TO USE
- Connect the AC power supply to the household outlet.
- Rotate the OFF / 33/45 knob to turn on the unit and Select the speed according to the record you are playing.
- Put a record on the turntable. Remember to use the 45 RPM adaptor located on the top right corner when playing a 45 RPM record.
- Lift and move the tone arm to turntable. Place the tone arm on the edge of the record and the record starts playing.
- Assemble the balance weight and set it to a proper position.
NOTE: The balance weight is to adjust the pressure of the needle. If the pressure is too much, the sound will become distorted; if the pressure is too little, track skipping will easily happen. Please adjust the balance weight by turning the balance weight clockwise or counter-clockwise. - To pause or stop playing, you need to lift and move the tone arm back to the tone arm rest manually.
- When the end of the record is reached, the tone arm and rotation stop. Lift the tone arm and place it to tone arm rest manually.
CONNECTIONS
CAUTION: Switch off the power to all equipment before making connections. Read the instructions of each component you intend to use with this unit. Be sure to insert each plug securely. To prevent hum and noise, avoid bundling the signal interconnection cables together with the AC power cord.
LINE OUT OPERATION
- Switch the PRE-AMP OFF/ON SWITCH to ON position.
- Plug one end of the RCA cable (included) into the LINE OUT socket at the back of the unit. Be sure to match the color with the socket.
- Plug the other end of the cable into the LINE IN socket of your home amplifier device.
- Switch on the unit and the amplifier device you connected.
- Adjust the volume on the amplifier device.
PHONO OUT OPERATION
- Switch the PRE-AMP OFF/ON SWITCH to OFF position.
- Plug one end of the cable (included) into the PHONO OUT socket at the back of the unit. Be sure to match the color with the socket.
- Plug the other end of the cable into the PHONO IN socket of your home amplifier device.
- Switch on the unit and the amplifier device you connected.
- Adjust the volume on your amplifier device.
HEADPHONE OPERATION
- Connect a set of headphone (not included) on the Earphone socket on the front panel of the unit.
NOTE: Never put on the headphone till you have plugged in the headphone plug
USB-PC Function, Audacity Software
Full instruction for the Audacity Software USB-PC Function can be found at: http://www.audacityteam.org/download/
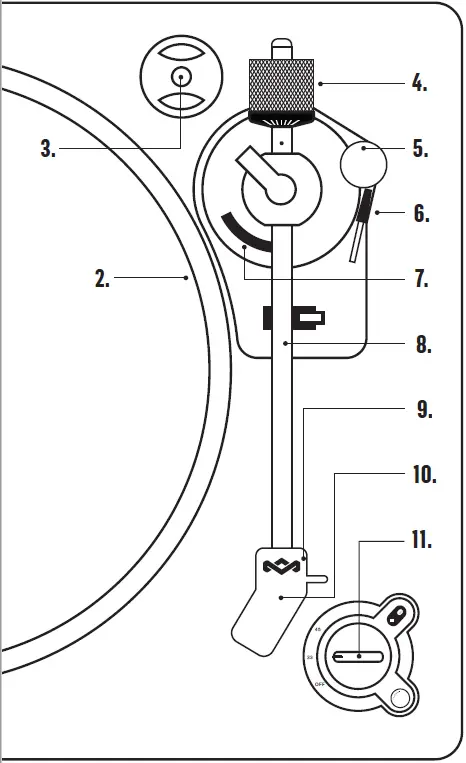
LOCATION OF CONTROLS
- Spindle
- Turntable
- 45 Rpm adaptor
- Balance weight
- Anti-skating knob
- Tone arm lift level
- Tone arm rest holder
- Tone arm
- Stylus
- Off / 33/45 knob
- Needle cover
- Earphone socket
- Rca output sockets
- Pre-amp off/on switch
- Usb socket
- Ac power socket

LISTENING TO RECORDS
- Connect the external amplifier device.
- Place a record on the turntable, over the central spindle. Place the EP adapter over the central spindle when playing 45 rpm records.
- Set the Speed Selector to 33 or 45 rpm according to the record.
- Release the tone arm clamp, and remove the needle cover from the stylus.
- Lift the Tone arm with the Tone arm Lift Lever.
- Move the tone arm to the beginning of the record, or to the start of a particular track.
- Gently lower the tone arm onto the record with the Tone arm Lift lever to start playing.
- When the record is finished the tone arm will automatically stop. To stop manually, lift the tone arm from the record and return it to the rest.
NOTES:
- Remove the needle cover before you balance the tone arm.
- Hold tone arm whenever you make any adjustment or action so as to protect the tone arm.
- Do not try to adjust the balance weight while playing a record as this could break the needle and scratch the record.
- Re-secured the tone arm before transportation to protect the needle.
- Remove the balance weight before transportation to prevent damage or breakage to the unit.
- Do not stop or turn the platter manually. Moving or jarring the turntable without securing the Tone arm clamp could result in damage to the Tone arm.
ANTI-SKATING
Normally the anti-skating should be set to its minimum setting. Anti-skate compensates for inward tracking forces that occur with certain pick-up when the stylus nears the center of the record. If the turntable is experiencing excessive skipping while nearing the center spindle, try increase the anti-skating in the increments indicated on the dial. Start by adding an increment of 1, test its performance, then increase it more, and so on.
NOTE: During adjusting the anti-skating knob, leave the tone arm and balance weight alone to prevent damaging the stylus (needle).
TROUBLESHOOTING GUIDE
In case of trouble with the unit, please look through below and see if you can solve the problem by yourself before calling your dealer.
THE WHOLE UNIT
PHONO PLAYER
WARNINGS AND STANDARD SAFETY INFO ADDED
Safety Precautions
WARNING: To reduce the risk of fire or electric shock, do not expose this appliance to rain or moisture.
CAUTION: Use of controls or adjustments or performance of procedures other than those specified may result in hazardous radiation exposures.
- RISK OF ELECTRIC SHOCKS – DO NOT OPEN!
To reduce the risk of electric shock, do not remove cover or back. No user serviceable parts inside. Refer servicing to qualified service personnel.
- The light flash with arrowhead symbol, within an equilateral triangle, is intended to alert user to the presence of non-insulated “dangerous volt-age” within the product’s enclosure that may be of sufficient magnitude to constitute risk of electric shock to persons.
- The exclamation point within an equilateral triangle is intended to alert user to the presence of important operating and maintenance
(servicing) instructions in the literature accompanying the appliance.
(see markings on the back of the unit.)
This unit operates on 100-240V. If the unit is not used for a long period of time, remove the plug from the AC mains. Ensure all connections are properly made before operating the unit. This unit must not be exposed to moisture or rain. This unit should be positioned so that it is properly ventilated. Avoid placing it, for example, close to curtains, on the carpet or in a built-in installation such as a bookcase. Do not expose this unit to direct sunlight or heat radiating sources.
IMPORTANT SAFETY INSTRUCTIONS
- Follow and keep these instructions.
- Heed all warnings.
- Do not use this apparatus near water.
- Clean only with a dry cloth.
- Do not block any ventilation openings. Install in accordance with the manufacturer’s instructions.
- Do not install near any heat sources such as radiators, heat registers, stoves, or other apparatus (including amplifiers) that produce heat.
- Protect the power cord from being walked on or pinched particularly at plug, convenience receptacles, and the point where they exit from the apparatus.
- Only use attachments/accessories specified by the manufacturer.
- Unplug this apparatus during lightning storms or when unused for long periods of time.
- Refer all servicing to qualified service personnel. Servicing is required when the apparatus has been damaged in any way, such as power-supply cord or plug is damaged, liquid has been spilled or objects have fallen into the apparatus, the apparatus has been exposed to rain or moisture, does not operate normally, or has been dropped.
- To reduce the risk of fire or electric shock, do not expose this apparatus to rain or moisture.
- CAUTION: Danger of explosion if battery is incorrectly replaced. Replace only with the same or equivalent type.
WEEE EXPLANATION
This marking indicates that this product should not be disposed with other household wastes throughout the EU. To prevent possible harm to the environment or human health from uncontrolled waste disposal, recycle it responsibly to promote the sustainable reuse of material resources. To return your used device, please use the return and collection systems or contact the retailer where the product was purchased. They can take this product for environmental safe recycling.
BATTERY DIRECTIVE
This symbol indicates that batteries must not be disposed of in the domestic waste as they contain substances which can be damaging to the environment and health. Please dispose of batteries in designated collection points.
WARNING: The battery (in remote control) shall not be exposed to excessive heat such as sunshine, fire or the like.
- DO NOT INGEST BATTERY, CHEMICAL BURN HAZARD.
This product contains a coin/button cell battery. If the coin/ button cell battery is swallowed, it can cause severe internal burns in just 2 hours and can lead to death. Keep new and used batteries away from children. If the battery compartment does not close securely, stop using the product and keep it away from children. If you think batteries might have been swallowed or placed inside any part of the body, seek immediate medical attention.
FCC STATEMENT
This equipment has been tested and found to comply with the limits for a Class B digital device, pursuant to part 15 of the FCC Rules. These limits are designed to provide reasonable protection against harmful interference in a residential installation. This equipment generates uses and can radiate radio frequency energy and, if not installed and used in accordance with the instructions, may cause harmful interference to radio communications. However, there is no guarantee that interference will not occur in a particular installation. If this equipment does cause harmful interference to radio or television reception, which can be determined by turning the equipment off and on, the user is encouraged to try to correct the interference by one or more of the following measures:
- Reorient or relocate the receiving antenna.
- Increase the separation between the equipment and receiver.
- Connect the equipment into an outlet on a circuit different from that to which the receiver is connected.
- Consult the dealer or an experienced radio/TV technician for help.
CAUTION: Any changes or modifications not expressly approved by the party responsible for compliance could void the user’s authority to operate the equipment.
This appliance can be used by children aged from 8 years and above and persons with reduced physical, sensory or mental capabilities or lack of experience and knowledge if they have been given supervision or instruction concerning use of the appliance in a safe way and understand the hazards involved. Children shall not play with the appliance. Cleaning and user maintenance shall not be made by children without supervision.
EM-JT000
© 2021 House of Marley, LLC. All Rights Reserved.
BOB MARLEY ™ MARLEY ™ BOBMARLEY.COM
©Fifty-Six Hope Road Music Ltd.,©2011–2021. Right of Publicity and Persona Rights Fifty-Six Hope Road Music Ltd.
Made in China.
Distributed by
The House of Marley, LLC
3000 North Pontiac Trail, Commerce Township, MI 48390 USA
Imported into the UK by FKA Brands Ltd, Tonbridge, TN110GP, UK.
Imported into the EU by FKA Brands Ltd, 29 Earlsfort Terrace, Dublin 2. IE
Due to continuous product improvements, pictures on the carton may differ slightly from the actual product. All other brands, product names, company names and trademarks are property of their respective owners.
Customer Support: HouseofMarley.com
ATTENTION, PLEASE READ QUICK START GUIDE BEFORE USE
PRODUCT MAP

LEGEND
- Spindle
- Turntable
- 45 Adaptor
- Balance Weight
- Anti-Skating Knob
- Tone Arm Lift Level
- Tone Arm Rest Holder
- Tone Arm
- Stylus
- Needle Cover
- Off/33/45 Knob
- Power Adaptor With 4 Interchangeable Plugs

FUNCTION LAYOUT
LEGEND
- A. RCA Line Out
- B. Pre-Amp Switch Button
- C. USB to PC Recording
- D. Off/33/45 Knob
- E. Bluetooth® Button
- F. – VOL + Knob
- G. Headphone Jack
- H. Anti-skating Knob

SETUP
POWERING ON YOUR STIR IT UP WIRELESS
- Your Stir It Up Wireless uses an AC power supply and is powered by a standard wall outlet.
- Connect the power adaptor to the wall outlet. SETUP
ATTACHING THE DRIVE BELT
Note: The drive belt is stored underneath the aluminum platter. Look on the under side of the platter, it will be the black elastic band stored around the center.
- To fit the belt, lift the belt over one of the larger holes in the platter and hook it around your finger.
- Keeping the belt looped around your finger, place the platter on the turntable base.
- Line up the large hole with the gold colored spindle and gently loop the belt around it. The belt should now be around the base of the platter and the gold spindle. The platter should be attached to the base.
- Now place the REGRIND™ silicone slip mat on the turntable.
BLUETOOTH® PAIRING
- Power on the external Bluetooth® device first before turning on the BT function on the Turntable.
- Press the BT button on the turntable to turn on Bluetooth® transmitter.
- Press button again to enable the unit to search the Bluetooth® device till BT indicator light becomes solid. This will indicated your devices are paired.
NOTE: If the Turntable does not pair with your Bluetooth® device within 30 seconds, press the Bluetooth® search button again on the turntable and it should pair.
- Blue LED light flash
- Blue LED light stable
DISCONNECT BLUETOOTH® PAIRING
Long press and hold the BT button till the BT indicator light turns off. Turntable will then disconnect from external device.
- Blue LED light will turn off.
PLAYING A RECORD
- Put a vinyl record on the turntable.
- Assemble the balance weight and set it to a proper position.
- To adjust the balance weight rotate the balance weight at counter-clock wise.
- . Lift and move the tone arm to turntable. Place the tone arm on the edge of the record.
- Turn the RPM Dial knob to select the speed according to the record you are playing.
- The turntable platter will auto stop when the music has ended. Lift the tone arm and place it to tone arm rest manually.
To listen to side B, flip record and repeat the above steps.
- 33 RPM speed to play corresponding size 33 vinyl disc
- 45 RPM speed to play corresponding size 45 vinyl disc
To power the unit off Rotate the RPM Dial knob to the off position.
Note
Remove the needle cover before you balance the tone arm.
Hold tone arm whenever you make any adjustment or action so as to protect the tone arm. Do not try to adjust the balance weight while playing a record as this could break the needle and scratch the record. Re-secured the tone arm before transportation to protect the needle. Remove the balance weight before transportation to prevent damage or breakage to the unit. Do not stop or turn the platter manually. Moving or jarring the turntable without securing the Tone arm clamp could result in damage to the Tone arm.
ANTI-SKATING
Normally the anti-skating should be set to its minimum setting. Anti-skate compensates for inward tracking forces that occur with certain pick-up when the stylus nears the center of the record. If the turntable is experiencing excessive skipping while nearing the center spindle, try increase the anti-skating in the increments indicated on the dial. Start by adding an increment of 1, test its performance, then increase it more, and so on.
Note: During adjusting the anti-skating knob, leave the tone arm and balance weight alone to prevent damaging the stylus (needle).
VOLUME CONTROL
Increase Volume: Rotate the Volume Knob clockwise. Decrease Volume: Rotate Volume Knob counter clockwise.
HEADPHONE OPERATION VIA HEADPHONE JACK
Connect a set of headphone (not included) in the headphone jack.
Note: Never put on the headphone till you have plugged in the headphone plug
USB TO PC RECORDING
Download Full instruction for the Audacity Software at: http://www.audacityteam.org/download/
- Connect the Turntable and the computer via the provided USB cable.
- Follow the instruction of the software installation steps and operation interface.
NON BLUETOOTH® CONNECTION SETUP
CAUTION: Switch off the power to all equipment before making connections. Read the instructions of each component you intend to use with this unit. Be sure to insert each plug securely. To prevent hum and noise, avoid bundling the signal interconnection cables together with the AC power cord.
LINE OUT OPERATION
- Switch the PRE-AMP OFF/ON SWITCH to ON position.
- Plug one end of the RCA cable (included) into the LINE OUT socket at the back of the unit. Be sure to match the color with the socket.
- Plug the other end of the cable into the LINE IN socket of your home amplifier device.
- Switch on the unit and the amplifier device you connected.
- Adjust the volume on the amplifier device.

COMPLIANCE INFO
STIR IT UP WIRELESS
READ ALL INSTRUCTIONS BEFORE USE AND SAVE THESE INSTRUCTIONS FOR FUTURE REFERENCE.
This equipment has been tested and found to comply with the limits for a Class B digital device, pursuant to part 15 of the FCC Rules. These limits are designed to provide reasonable protection against harmful interference in a residential installation. This equipment generates uses and can radiate radio frequency energy and, if not installed and used in accordance with the instructions, may cause harmful interference to radio communications. However, there is no guarantee that interference will not occur in a particular installation. If this equipment does cause harmful interference to radio or television reception, which can be determined by turning the equipment off and on, the user is encouraged to try to correct the interference by one or more of the following measures:
- Reorient or relocate the receiving antenna.
- Increase the separation between the equipment and receiver.
- Connect the equipment into an outlet on a circuit different from that to which the receiver is connected.
- Consult the dealer or an experienced radio/TV technician for help.
This device complies with FCC radiation exposure limits set forth for an uncontrolled environment. This device complies with Part 15 of the FCC Rules. Operation is subject to the following two conditions:
- this device may not cause harmful interference, and
- this device must accept any interference received, including interference that may cause undesired operation.
FCC RF EXPOSURE STATEMENT
This transmitter must not be co-located or operating in conjunction with any other antenna or transmitter.
CAUTION!
Any changes or modifications not expressly approved by the party responsible for compliance could void the user’s authority to operate the equipment.
ISEDC STATEMENT
This device complies with Innovation, Science, and Economic Development Canada license-exempt RSS standard(s). Operation is subject to the following two conditions:
- this device may not cause interference, and
- this device must accept any interference, including interference that may cause undesired operation of the device.
This Class B digital apparatus complies with Canadian ICES-003.
ISEDC RF EXPOSURE STATEMENT:
The device is compliance with RF exposure guidelines, users can obtain Canadian information on RF exposure and compliance.
BATTERY REPLACEMENT STATMENT IN EUROPE
Your Stir It Up Wireless includes a rechargeable battery designed to last the lifetime of the product. In the unlikely event that you should require a replacement battery please contact Customer Services who will supply details of the warranty and out-of-warranty replacement battery service.
BATTERY DIRECTIVE
- This symbol indicates that batteries must not be disposed of in the domestic waste as they contain substances which can be damaging to the environment and health. Please dispose of batteries in designated collection points.
WEEE EXPLANATION
- This marking indicates that this product should not be disposed with other household wastes throughout the EU. To prevent possible harm to the environment or human health from uncontrolled waste disposal, recycle it responsibly to promote the sustainable reuse of material resources.
Hereby, FKA Brands Ltd, declares that this radio equipment is in compliance with the essential requirements and other relevant provisions of Directive 2014/53/
EU. A copy of the Declaration of Conformity can be obtained from www.thehouseofmarley.co.uk/declaration-of-conformity
To prevent possible hearing damage, do not listen at high volume levels for long periods. Full instruction and warranty details can be found at http://www.thehouseofmarley.com/instructionbooks
Marley and the Marley logo are registered trademarks of Fifty-Six Hope Road Music Limited and the use of such marks by House of Marley is under license. The Bluetooth® word mark and logos are registered trademarks owned by Bluetooth® SIG, Inc. and any use of such marks by The House of Marley is under license.
Operating frequency band: 2402 – 2480MHz
CE Maximum radio-frequency power transmitted: -5dBm
DISTRIBUTED BY:
The House of Marley, LLC
3000 North Pontiac Trail, Commerce Township, MI 48390 USA
Imported into the UK by
FKA Brands Ltd, Tonbridge, TN110GP, UK.
Imported into the EU by
FKA Brands Ltd, 29 Earlsfort Terrace, Dublin 2. IE
IB-EMJT002
EM-JT002
© 2021 House of Marley, LLC.
All Rights Reserved.
























