LoCo COOKERS LCTSKSS60 1-Burner 31.5-in Propane 20-lb Cylinder Electronic Boiling Kit

This instruction manual contains important information necessary for the proper assembly and safe use of the appliance.
Read and follow all warnings and instructions before assembling and using the appliance.
Follow all warnings and instructions when using the appliance.
Keep this manual for future reference.
DANGER
- Never operate this appliance unattended.
- Never operate this appliance within 10 ft (3.0 m) of any structure, combustible material or other gas cylinder.
- Never operate this appliance within 25 ft (7.5 m) of any flammable liquid.
- Heated liquids remain at scalding temperatures long after the cooking process. Never touch cooking appliance until liquids have cooled to 115ºF (45ºC) or less.
- If a fire should occur, keep away from the appliance and immediately call your fire department.
Failure to follow these instructions could result in fire, explosion or burn hazard which could cause property damage, personal injury or death.
WARNING: This product can expose you to chemicals including lead, known to the State of California to cause cancer, birth defects or other reproductive harm. For more information, go to www.P65Warnings.ca.gov
WARNINGS
- THIS APPLIANCE IS ONLY INTENDED FOR HEATING WATER . . . NOT OIL OR GREASE.
- The installation must conform with local codes or, in absence of local codes, with the National Fuel Gas Code, ANSI Z223.1/NFPA 54, Storage and Handling of Liquefied Petroleum Gases, ANSI/NFPA 58; or Natural Gas and Propane Installation Code, CSA B149.1; Propane Storage and Handling, CSA B149.2.
- This appliance is not designed for use with natural gas.
- Never operate this appliance on or under any apartment or condominium balcony or deck.
- This appliance is for outdoor use only. Never use this appliance in a building, garage or any other enclosed area.
- Never install or use this appliance in or on a boat or recreational vehicle.
- Maintain proper clearances from combustible construction. The minimum clearance to the sides and back of the appliance is 10 ft (3 m) from any structure or combustible material. Do not locate or use the appliance under overhead combustible construction.
- The appliance and LP tank must be arranged so that any wind blows heat from the appliance AWAY from the LP tank.

- Keep the fuel supply hose away from any heated surface(s).
- This appliance is not intended for commercial use.
- The use of alcohol, prescription drugs or non-prescription drugs may impair the consumer’s ability to properly assemble or safely operate the appliance. Do not operate when under the influence.
- When cooking, always have a Type BC or ABC fire extinguisher readily available.
- In the event of a fire do not attempt to extinguish with water. Immediately call the fire department (911). A Type BC or ABC fire extinguisher may, in some circumstances, contain the fire.
- In the event of rain, snow, hail, sleet or other forms of precipitation while cooking, cover the cooking pot immediately and turn off the appliance burners and gas supply. Never attempt to move the appliance or cooking pot.
- When cooking, the appliance must always be on a level, stable, noncombustible surface such as brick, concrete or dirt and in an area free of combustible materials. Never use this appliance on or around surfaces such as asphalt, wood, dry grass or leaves, vinyl or plastic. These surfaces are combustible and may melt or catch fire.
- Do not leave the appliance unattended. Keep children and pets away from the cooking appliance at all times.
- Do not place an empty cooking pot on the appliance or allow a filled pot to boil dry while appliance is in operation. Use caution when placing anything in the cooking pot while the appliance is in operation.
- Do not move the appliance while in use. Allow the cooking pot to cool to 115ºF (46ºC) before moving or storing.
- This appliance is not intended for and should never be used as a heater.
- This appliance will be hot during and after use. Use insulated mitts or gloves for protection from hot surfaces or splatter from cooking liquids. Closed-toed shoes should always be worn during operation of this appliance.
- The appliance’s heat shield must always be in place during use.
- Never overfill the cooking pot with water. Follow instructions in this manual for establishing proper water levels.
- Avoid bumping of or impact with the appliance to prevent spillage or splashing of hot cooking liquid.
- Never drop food or accessories into hot cooking liquid. Lower food and accessories slowly into the cooking liquid in order to prevent splashing or overflow. When removing food from the appliance, care shall be taken to avoid burns from hot cooking liquids. Once food is removed from pot, do not allow pot to boil dry.
- The pressure regulator and hose assembly supplied with the appliance must be used. Replacement pressure regulators and hose assemblies shall be those specified by the appliance manufacturer. Replace only with regulator Model No. GYK-5/8 or JY70A9A-T.
- Hot cooking liquids can remain dangerously hot long after cooking. Never handle the cooking appliance until the cooking liquid has cooled to less than 115ºF (46ºC).
- The minimum outside operating temperature of this appliance is 32ºF (0ºC). Never use this appliance when temperature is below this minimum.
- Use caution when in close proximity to appliance. Falling or tripping near the gas appliance may result in the splashing or igniting of hot cooking liquids and potentially cause personal injury or property damage.
- Keep the cooking area adjacent to the appliance clear of debris and free of anything flammable or combustible.
- Never attempt to attach this appliance to the self-contained LP gas system of a camper, trailer or motor home.
- Check burner/venturi tubes for insects and insect nests and clean if necessary. A clogged tube can lead to a fire beneath the appliance.
- Non-rechargeable batteries are not to be recharged. Batteries are to be inserted with the correct polarity. Exhausted batteries are to be removed from the product. DO NOT DISPOSE OF BATTERIES IN A FIRE. BATTERIES MAY EXPLODE OR LEAK.
![]() | ||||
| Model | Pot Capacity | Dimensions | ||
| LCTSKSS60 | 60 Quarts | W18.9”xL21”xH31.9” | ||
| LCTSKSS80 | 80 Quarts | W20.3”xL22.4”xH33” | ||
| LCTSKSS100 | 100 Quarts | W21.5”xL23.8”xH34.4” | ||
| Maximum Pot Size | ||||
| LCTSKSS60 | 60 Quarts | D17.3”xH15.7” | ||
| LCTSKSS80 | 80 Quarts | D18.9”xH16.9” | ||
| LCTSKSS100 | 100 Quarts | D20”xH18.5” | ||
| • Never use a cooking pot larger than the capacity and diameter recommended by the manufacturer. • Never overfill the cooking pot. Doing so could result in the unit becoming top-heavy and creating an unsafe/unstable condition. | ||||
The manufacturer has properly located the burners with respect to the orifices to allow the appliance to burn sufficiently. Please do not attempt to adjust the burner. It is preset to the factory specifications.

The burner should be removed and cleaned occasionally. When the burner is reassembled, align the threads of the regulator hose to the center line of the burner and wrench-tighten. Doing this is critical for maximum performance and efficiency.

WARNINGS: LP TANK
DANGER
- Do not store a spare LP gas cylinder under or near this appliance.
- NEVER fill the cylinder beyond 80% full.
- If the instructions in 1 and 2 are not followed exactly, a fire causing serious injury or death may occur.
- The safety release valve on the LP tank could activate the leaking of gas and cause a severe fire and increase the risk of serious injury or death.
- If you smell, see or hear leaking gas, IMMEDIATELY get away from the LP tank and contact your FIRE DEPARTMENT (911).
- Only cylinders marked “propane” shall be used.
LP TANK REMOVAL, TRANSPORT AND STORAGE
- Turn control knobs OFF at regulator and LP tank valve. Turn coupling nut counterclockwise by hand only. Never use tools to disconnect.
- Place dust cap on cylinder valve outlet whenever the cylinder is not in use. Only install the type of dust cap on the cylinder valve outlet that is provided with the cylinder valve. Other types of caps or plugs may result in leakage of propane.
- A disconnected LP tank in storage or being transported must have a safety cap installed.
- The cylinder must be stored outdoors out of reach of children. NEVER store the cylinder in enclosed spaces such as a garage, carport, covered porch or any other structure. Never leave an LP tank inside a vehicle which may become overheated by the sun.
- When the appliance is not in use, the gas must be turned off at the supply cylinder.
- Storage of an appliance indoors is permissible only if the cylinder is disconnected and removed from the appliance.
- The cylinder must be disconnected when the appliance is not in use.
LP TANK
The LP tank must meet the following requirements in order to be used with your appliance:

- Measurements must be 12” (30.5 cm) in diameter by 18” (45.7 cm) high with 20 lb (9.1 kg) maximum capacity.
- The LP gas supply cylinder to be used must be constructed and marked in accordance with the specifications for LP gas cylinders of the US Department of Transportation (DOT) or the Standard for Cylinders, Spheres and Tubes for the Transportation of Dangerous Goods, CAN/CSA-B339.

The LP tank must include the following:
- QCC Type 1 outlet compatible with regulator and appliance.
- Safety relief valve.
- UL Listed Overfill Protection Device (OPD). This safety device is identified by the triangular hand wheel. Only use tanks equipped with this type of valve.
- LP tank must be arranged for vapor withdrawal and include collar that protects LP tank valve.

LIQUIFIED PETROLEUM GAS (LP):
- LP gas is odorless, non-toxic and colorless when produced. For your safety, LP gas has been given an odor (similar to rotten eggs) so you can smell if there is any leaking.
- LP gas is highly flammable and can unexpectedly ignite when combined with air.
LP TANK FILLING:
- Use only licensed and experienced dealers.
- LP dealer must purge tanks before filling.
- Dealer should NEVER fill LP tank more than 80% of LP tank volume. Volume of propane in tanks will vary by temperature.
- A frosted regulator indicates gas overfill. Immediately close LP tank valve and call LP gas dealer for assistance.
- Do not release liquid propane (LP) gas into the atmosphere. This is a hazardous practice.
- To remove gas from an LP tank, contact an LP dealer or your local fire department for assistance.
LP TANK EXCHANGE
Many retailers that sell appliances offer you the option of replacing your empty LP tanks through an exchange service. Use only those reputable exchange companies that inspect, precision-fill, test and certify their cylinders. Exchange your tank for an OPD safety feature-equipped tank as described under the “LP TANK” section of this manual.
Always keep new and exchanged LP tanks in an upright position during use, transit or storage.
Leak test new and exchanged LP tanks BEFORE connecting to the appliance.
LP TANK LEAK TEST:
For your safety, a leak test must be repeated each time an LP tank is exchanged or refilled.
- Do not smoke during leak test.
- Do not use an open flame to check for gas leaks.
- LP tank must be leak tested outdoors in a well-ventilated area, away from open flames or sparks.
LP Tank Leak Test Procedure:
- Use a clean paint brush and a 50/50 soap and water solution.
- Use mild soap and water. Do not use household cleaning agents. Damage to gas train components can result.
- Brush soapy solution onto all metal seams and entire valve area. Any “GROWING” bubbles indicate a gas leak.
WARNING
If “growing” bubbles appear, there is a leak. Do not use or move the LP tank. IMMEDIATELY get away from the LP tank and contact an LP gas supplier or your FIRE DEPARTMENT (911).
HOSE CHECK:
Before each use, check for evidence of abrasion, wear, cuts or leaks. If so, the hose must be replaced prior to the appliance being put into operation. The replacement hose assembly must be the assembly specified by the manufacturer.
PARTS DIAGRAM
NOTE: Wash all parts that will come into contact with food with warm soapy water. Rinse and towel dry.


| Part # | Description | Qty | Part # | Description | Qty |
| 1 | Twist & DrainTM/Twist & SteamTM Basket | 1 | 8 | Regulator/Hose Assembly | 1 |
| 2 | Lid w/Lid Assist Hook | 1 | 9 | Match Holder | 1 |
| 3 | Cooking Pot | 1 | 10 | AA Battery | 1 |
| 4 | Double Jet Burner Assembly | 1 | 11 | Venturi Shield | 1 |
| 5 | SureSparkTM Electrode | 1 | 12 | Ignition Panel | 1 |
| 6 | Boiler Stand | 1 | 13 | SureSparkTM Ignitor | 1 |
| 7 | Heat Shield | 1 | |||
Contact customer service if any parts are missing, damaged or if replacement parts are needed. [email protected] • lococookers.com
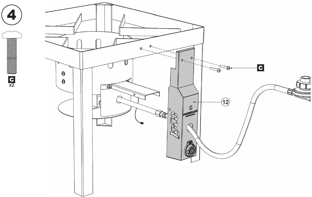
ASSEMBLY INSTRUCTIONS
Tools required: Phillips head screwdriver • Adjustable wrench (Not included)








DETERMINING THE MAXIMUM FILL LEVEL WHEN USING A VESSEL WITHOUT A MAXIMUM FILL LINE:
- Place your food into the basket.
- Place the basket and food into the empty cooking vessel.
- Fill the vessel with water just until the food is completely submerged. There must be a minimum of 3 inches (8 cm) between the water level and the top of the vessel.
- Remove the food from the cooking vessel.
- This is the appropriate amount of water needed to cook your food.
TWIST & DRAINTM
- Lift the basket above the pot.
- Rotate the basket 90 degrees.
- Lower so that bottom tabs on basket rest on tabs inside pot for draining.

TWIST & STEAMTM
- Lower basket halfway into pot.
- Rotate basket 90 degrees.
- Rest top tabs on basket onto tabs inside pot.
Water level in pot should be slightly below bottom of basket.

OPERATING INSTRUCTIONS
CONNECTING REGULATOR TO LP TANK:
- Place LP tank on a secure, level and stable surface.
- Turn regulator control knob to the OFF position by rotating counterclockwise to a full stop.
- Turn LP tank OFF by turning hand wheel clockwise to a full stop.
- Remove the protective cap from LP tank. Always use cap and strap supplied with valve. DO NOT use a POL transport plug. It will defeat the safety feature of the valve.
- Hold regulator, insert nipple into LP tank valve. Hand-tighten the coupling nut while holding the regualtor in a straight line with LP tank valve so as not to cross-thread the connection.

- Turn the coupling nut clockwise and tighten to a full stop. The regulator will seal on the backcheck. An additional one-half to three-quarters turn is required to complete. Tighten by hand only. DO NOT USE TOOLS.
NOTE: If you cannot complete the connection, repeat steps 5 and 6. If you are still unable to complete the connection, DO NOT use this regulator.
LEAK TESTING VALVES, HOSE AND REGULATOR:
- Leak test must be repeated each time LP tank is exchanged or refilled.
- DO NOT smoke or have anything nearby that can easily ignite, such as lighters or matches.
- DO NOT use an open flame to check for gas leaks.
- Appliance must be leak tested outdoors in a well-ventilated area away from open flames or sparks.
STEPS TO LEAK TEST:
- Turn LP tank valve and regulator control knob to the OFF position and make sure regulator is tightly connected to LP tank.
- Completely open LP tank valve by turning hand wheel counterclockwise. If you hear a rushing sound turn gas off immediately. This means there is a major leak at the connection. Correct before proceeding.
- Using a clean paintbrush and 50/50 soap and water solution, brush soapy solution onto areas indicated by arrows below. Use mild soap and water. DO NOT use household cleaning agents. Damage to gas train components could result.

- If “growing” bubbles appear, there is a leak. Close LP tank valve immediately and retighten connections. If leaks cannot be stopped, do not try to repair.
- For assistance with any malfunction related to the LP tank, regulator or hose, contact your propane dealer or customer service.
WARNING: If “growing” bubbles appear, there is a leak. IMMEDIATELY turn off LP tank valve. If bubbles continue, IMMEDIATELY get away from the LP tank and contact your FIRE DEPARTMENT (911).
INSTRUCTIONS FOR LIGHTING BURNER:
- Read all instructions before lighting. Only light burner outdoors.
- Confirm that the regulator control knob and LP tank valve are completely closed and in the OFF position.
- Ensure a minimum of 24 inches (61 cm) separate the LP tank and the appliance.
WARNING LP hose is a tripping hazard. Special Care must be observed.
- Open the LP tank valve fully by turning counterclockwise.
- Electronic
Ignitor Lighting: Press and continually hold the ignition button while rotating the regulator control knob clockwise until the burner is lit. DO NOT stand with head or arms over burner.
Match Lighting: Using a long ignited match (fireplace match), place flame directly over the burner. If using a short/paper book match, first place the unlit match into the match holder which is attached by a chain to the boiler stand, then light the match. DO NOT stand with head or arms over burner. Slowly turn the regulator control knob clockwise until burner is lit.

- When the burner is lit, turn the regulator control knob to the desired heat output position between ON and OFF.

CAUTION: If ignition does not occur in 5 seconds, turn the regulator control knob OFF, wait 5 minutes, then repeat the lighting procedure. If the burner does not light with the regulator control knob on, or if the flame goes out after lighting, gas will continue to flow out of the burner and could accidentally ignite with risk of injury.
BURNER FLAME CHECK
Light the burner and adjust the flame with the regulator control knob. Always check the flame prior to each use. A blue flame with little or no yellow flame will provide the best heat.

WHEN BURNER FLAME IS ACCIDENTALLY EXTINGUISHED:
- Turn LP tank OFF by turning hand wheel clockwise to a full stop.
- Turn regulator control knob counterclockwise to the OFF position.
- Inspect the hose and make sure connections are complete. After waiting 5 minutes, restart the appliance following “INSTRUCTIONS FOR LIGHTING BURNER.”
SHUT DOWN INSTRUCTIONS:
- Turn LP tank OFF by turning hand wheel clockwise to a full stop.
- Turn regulator control knob counterclockwise to the OFF position.
DISCONNECTING REGULATOR FROM LP TANK:
- Turn regulator control knob counterclockwise to the OFF position.
- Turn LP tank OFF by turning hand wheel clockwise to a full stop.
- Turn the coupling nut counterclockwise to loosen the connector. Loosen by hand only. DO NOT use tools.
- When disconnected, the regulator should be hung from the hook attached to the appliance.
CARE AND MAINTENANCE
PROPER CARE AND MAINTENANCE WILL KEEP YOUR APPLIANCE OPERATING SMOOTHLY
CAUTION
- Allow appliance to fully cool to 115ºF (46ºC) before performing any cleaning.
- Keep the appliance area clear and free from combustible materials, gasoline and other flammable vapors and liquids.
- Do not obstruct the flow of combustion and ventilation air.
- Check burner and venturi tube for insects and insect nests. A clogged tube can obstruct gas flow and can result in a fire beneath the appliance. Prevent blockages by inspecting and cleaning burner and venturi tube regularly.
DANGER: NEVER insert any tool or foreign object into the LP tank valve outlet or safety relief valve. You may damage the valve or cause a leak which can lead to explosion, fire, personal injury or death.
CLEAN THOROUGHLY AFTER EVERY USE
NOTE: Clean the entire appliance each year and tighten all hardware 1-2 times a year or more depending on frequency of use.
- Turn the appliance OFF at the regulator control knob and at the LP tank valve before cleaning. Check that there is no flame or gas smell and that all valves are in the OFF position. Make sure that the regulator is properly disconnected from the LP tank prior to any cleaning.
- Any component that has been in contact with food must be hand-washed with warm soapy water and a nylon pad. If the cooking pot(s) have black soot cooked onto the outside finish it can be scrubbed off with steel wool. DO NOT spray oven cleaner on aluminum cooking pots to remove grease or soot as it will cause the finish to become dull.
- If food remains stuck to the basket, place in hot water and allow to soak. After cooling, scrub with nylon pad.
If hard water causes darkening on the interior of the cooking pot(s), fill to the level of the darkened area with a mixture of water, cream of tartar and vinegar (1 quart of water, 2 tablespoons cream of tartar, 1/2 cup vinegar), boil for 10 minutes. - To clean the burner, use a brush to loosen corrosion from the burner exterior. Clean clogged gas ports with an open paper clip. Replace corroded or damaged burners that would emit excess gas.
- To clean the burner tube/venturi, first disconnect the regulator hose from the burner tube. Look inside the burner
tube for nests, webs or mud. To remove obstructions, use a flexible brush or bend a small hook on the end of a flexible wire. When obstructions are clear the regulator hose can be connected to the burner tube. - Confirm that all components are completely dry before using or placing in storage.
- It is recommended to thoroughly clean the appliance prior to every use.
- Store all components in a clean, dry location when not in use.
TROUBLESHOOTING
| PROBLEM | POSSIBLE CAUSE | SOLUTION |
| Burner will not light. | Bad connection between the regulator and LP tank. | Make sure the regulator coupling nut is fully tightened on the LP tank valve. |
| The LP tank is empty. | Refill LP tank at an authorized dealer or purchase new filled LP tank. | |
| Ignition button was not pushed and held. | Press and hold the ignition button until burner is lit. | |
| Battery not installed correctly. | Make sure the + and – ends of the battery are oriented properly. The + end should be toward the battery cap. | |
| Weak or dead battery. | Replace with new alkaline AA battery. | |
| Battery cap not installed correctly. | Unscrew battery cap and reinstall. Make sure threads are aligned and engaged fully. | |
| Burner does not stay lit. | Excessive wind conditions. | When appliance is cool, move appliance to different location where high wind is not a factor. Relight burner. |
| The LP tank is empty. | Refill LP tank at an authorized dealer or purchase new filled LP tank. | |
| Water does not reach desired cooking temperature. | Regulator control knob is not fully opened. | Fully open regulator control knob by rotating it in a clockwise direction. |
| Overfill Protection Device (OPD) on LP tank has been activated/ tripped. | To reset the Overfill Protection Device, turn the regulator control knob and the LP tank valve OFF. Disconnect the regulator from the LP tank and wait at least one minute. Reconnect the regulator to the LP tank and fully open LP tank valve. |
WARRANTY INFORMATION
The appliance has been manufactured under the highest standards of quality and workmanship. We warrant to the original consumer/purchaser that all aspects of this product will be free of defects in material and workmanship for one (1) year from the date of purchase. A replacement for any defective part will be supplied free of charge for installation by the consumer. Requests for expedited shipments of warranted parts will be at the consumer’s/purchaser’s expense. Defects or damage caused by the use of other than genuine parts are not covered by this warranty. This warranty shall be effective from the date of purchase as shown on the purchaser’s receipt.
This warranty is valid for the original consumer/purchaser only and excludes industrial, commercial or business use of the product, product damage due to shipment or failure which results from alteration, product abuse or product misuse whether performed by a contractor, service company or consumer. We will not be responsible for labor charges and/or damage incurred in installation, repair or replacement, nor for incidental or consequential damage.
506 Manchester Expressway • Suite A2 • Columbus, Georgia 31904
Email: [email protected]


























