Herospeed RS485 Thermal Smart IP Camera

Please read this manual carefully and keep it properly before using our network camera products.
Related tools and documents of products, please download from http://www.herospeed.net
Statement
- Thank you for using our products, please read this manual carefully before trying.
- This manual is applicable to network series products.
- This manual may contain information that is technically inaccurate, inconsistent in the product’s function and operation, or in a typographical error. Our company will update the context in the manual according to the enhancement of product features. Updated content will be added in the new version of this manual without further notice.
- If there is manual description of the product does not match with the physical, in order to prevail in kind.
Safety Precautions
- Please do not place the device in an environment with corrosive gas, which will damage the device.
- Please do not place the device in places exposed to direct sunlight, poor ventilation, or near heat sources such as a heater (ignoring this item may cause fire hazard).
- Please do not install the device in extremely cold places, such as the air outlet of an air conditioner.
- Please do not aim the lens at strong light sources, such as the sun, fluorescent lamps and other high-temperature targets; otherwise it will cause damage to the lens or thermal imaging detector.
- If you must aim the lens at a strong light source, please turn on “Anti-burn Protection “.
- Please do not aim the lens at a cold source, such as air conditioning outlets, cold drinks, ice, etc.
- Please keep the device installed in a stable place, taking care to avoid the product falling or being hit by falling objects.
- Please use a very soft dry cloth or other alternatives to wipe the surface, do not use alkaline cleaners, and avoid scratching the device with hard objects.
- Please understand that you are responsible for properly configuring all passwords and other product-related security settings, and keeping your user name and password properly.
Disclaimer
The following exemptions or limitations of liability, please pay special attention to:
- As a result of the following reasons, if the product interrupts or terminates the service for any of the following reasons, the company shall not be liable for personal injury or property damage to you or a third party. Failure to install or use properly as required; for the sake of national or public interest; force majeure; your own or third-party reasons (including but not limited to the use of third-party products, software or components, etc.
- The company has not expressed or implied that this product is applicable to special purpose. This product may not be used in medical / safety equipment or other applications where there is a breakdown of the product that could result in life-threatening or personal injury, as well as hazardous or non-humanitarian hazards such as weapons of mass destruction, biological and chemical weapons, nuclear explosions or any unsafe use of nuclear energy use. Any loss or liability arising out of the above use will be at your own risk.
- This product, when properly installed and used, can detect unauthorized intrusion during a particular delight but can not avoid accidents or personal injury or property damage. In your daily life, you should be vigilant and strengthen your safety awareness.
- The Company is not responsible for any indirect, incidental, special punitive damages, claims, loss of property or loss of any data or documents. To the maximum extent permitted by law, the liability for compensation of company is not exceed than the amount you paid for this product.
Product Introduction
Product Description
Thermal imaging binocular intelligent network camera is a new thermal imaging network camera that integrates network remote monitoring functions, face recognition algorithms, video server functions and high-definition camera functions. It supports visible light and thermal imaging dual video output, human body temperature measurement, face recognition capture and other functions.
The camera has a built-in temperature sensor, which has the characteristics of temperature measurement with high sensitivity, intuitionistic heat map, fast speed, no interference with the measured target, and safe use. The device can measure the temperature of multiple people at the same time, quickly screen out persons with abnormal temperatures, and help users prevent epidemics.
Due to its characteristics, the camera can be widely used in places that require small-scale thermal imaging monitoring, such as schools, office buildings, museums, shopping malls, banks, stations and other places with large flow of people at the entrance and exit.
Introduction Of Product Appearance

Cable Description

- Alarm interface: including alarm input and alarm output, a group of inputs, a group of outputs and RS485 (used to connect external devices with RS-485 interface).
- Reset interface: Long press the reset button for 10 seconds, the device will be restored to the factory default parameters.
- Power interface: support DC12V, POE power supply. If it is DC12V, please connect the positive and negative power supply correctly.
- Network port interface: used to access Ethernet through RJ45 and power the device through POE.
Product Installation
Installation Location Selection
- The camera is set up right in front of the passage to capture the face.
- The recommended installation height is about 2 meters, and the recommended viewing angle of the camera is 0~5 degrees.
- In order to ensure the effect of body temperature detection, the distance between device and personnel collection point should be within 2 meters (range 0.25~3 meters).
Installation Environment Standard
- Illumination requirements: no backlight, no obvious reflection on the face, uniform light and no shadows. In addition, if the face in the lens is not bright enough, in order to ensure sufficient lighting on the scene when capturing faces, it is recommended that lighting equipment needs to be added accordingly to fill up the face light (generally 250~800 Lux).
- Requirements for light and wind: It is recommended that the device be installed indoors to ensure that there is no wind or direct sunlight between the device and personnel, and avoid the phenomenon of excessively low and high temperature measurement caused by blowing and direct sunlight.

Instructions Before Installation
Before installation, please check whether the equipment in the packing box is intact and all accessories are complete.
- The wall to be installed should have a certain thickness and can withstand at least 4 times the weight of the camera and mounting accessories.
- If the device is installed on a concrete wall or ceiling, you need to install expansion screws before installing the bracket. (Please note that the holes of the expansion screws must be consistent with the mounting bracket)
- If the device is installed on a wooden wall, the bracket can be directly installed on the wall with self-tapping screws.
- When you pick up the camera, do not directly pull the cable at the rear of the camera. Otherwise, it may damage the waterproof performance of the camera or cause circuit problems.
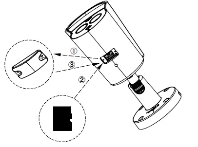
TF Card Installation
If you need to use an TF card to store video, pictures and other data, please install the TF card before installing the device. If you don’t need to use TF card to store data, please skip this chapter.
After installing the TF card in the IPC, you need to install it according to the method before disassembly, otherwise it will affect the airtightness of the camera and thus affect the normal use of the device.
- Step 1: There is a TF card slot on the back of the device, then use a phillips screwdriver to unscrew the TF card slot cover.
- Step 2: Insert the TF card into the card slot slowly, and when you hear a “click” sound, the installation is successful.
- Step 3: Close the TF card cover and tighten the screws.

Install the IPC
The camera supports wall mounting, ceiling mounting and tripod mounting, and different installation methods can be selected according to different installation environments.
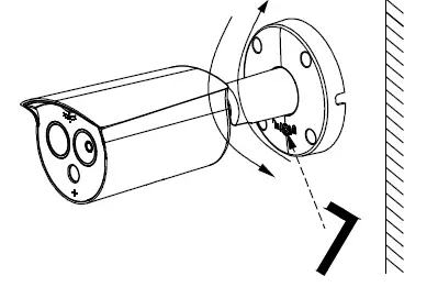
Wall Mounting
Note: Wall mounting and ceiling mounting are the same. For ceiling mounting, please refer to the wall mounting method.
- Choose a suitable installation wall, then paste the attached installation sticker on the wall. Punch 4 φ6mm installation holes according to the label on the sticker, then insert the expansion tube into the hole.
- Arrange and connect the power cables, network cables and other cables of the device, and insulate the power cables. Clip the cable into the cable outlet. Align the base hole with the sticker hole, and fix the device to the wall with screws.

- Use a hexagon wrench to loosen the fixing screws, then adjust the camera to a proper angle, and tighten the fixing screws to complete the installation.

Tripod Mounting
Align the screws on the top of the tripod with the mounting holes on the bottom of the camera and lock the screws to fix.
Instructions
After the IPC is installed, you need to configure functions and set parameters for it. You can configure related functions through the browser.
Network Setting
The default IP of all cameras is 192.168.1.168. The IPv4 address of the computer must be in the same network segment as the IP address of the IP camera. To enable the camera to access the network smoothly, plan the available IP network segments based on the actual network environment.
Prepare the network configuration:
(1) Add the same network segment IP as 192.168.1.168 (camera factory default IP) in the computer, such as 192.168.1.165.
(2) Connect camera and PC by network cable in the same LAN, power on. Connecting as following (PoE switch, camera, PC connection photo).
Steps to add an IP address to the Windows system:
Step 1: Click [ ] Start → [Control Panel] → [Network and Sharing Center] → [Local Network] → [Properties] → [Internet Protocol Version 4 (TCP/IPv4)] → [Advanced] to enter the advanced TCP/IP setting interface.
Steps 2: Click [Add] in the IP address (R) position, enter the IP address as 192.168.1.165 and the subnet mask 255.255.255.0, and click [Add] →[OK]→ [OK] → [OK].

The network configuration steps are as follows:
- Step 1: Open [ Search Tool] (Version 7.2.45.6 and above, please install Search Tool from http://www.herospeed.net).
- Step 2: Check 192.168.1.168.
- Step 3: Modify the relevant network parameters such as IP on the right side of the interface.
- Step 4: Enter the user name (default is admin) and password (default is admin) of the device.
- Step 5: Click [Modify] → [Confirm].

- Step 6: Click [Refresh] to find the IP address that has been modified, which means that the network configuration is successful.
NOTE: When configuring network parameters, ensure that the IPC address and the computer’s IPv4 address are on the same network segment.
Login
- Step 1: Open the IE browser, enter the IP address of IP Camera (if the IP has not been modified, please enter the default address http://192.168.1.168), and press [Enter].
- Step 2: Click [Download], download the plug-in, close the browser, and follow the prompts to install the plug-in.
- Step 3: Enter the user name (admin) and password (admin) of the device, and click [Login].
Real-time Preview
Enter real-time preview interface after login. Select the play window, click the channel on the left side of the interface, and the play window will play real-time video.

Parameter Configuration
Click [Configuration] to enter the parameter configuration interface of the device, which includes local configuration, system, network, video, image, events, temperature measurement and other functional configurations. Users can selectively set these functions according to actual application scenarios to achieve the best monitoring effect.

Temperature Measure Configuration
Step 1: On the main interface, click [Configuration] → [Temperature measure] → [Temperature measure] to enter the temperature measurement basic setup interface.
Step 2: Turn on the temperature measurement function to configure the relevant temperature measurement parameters of Camera 02, and click [Save].
Step 3: Click [Temperature measurement config] to configure the related temperature measurement parameters of Camera 01, and click [Save].

Step 4: Select [Camera 02], draw the bold point (if there is a black body) and reference point, configure related parameters (shutter parameters, temperature compensation, etc.), and click [Save].
[Draw black body point] Draw at the position of the black body.
[Drawing reference point] Choose a place close to the current ambient temperature and preferably not blocked by people to draw the reference point.
Step 5: Select [Camera 01],and Click [Linkage Method] → [Arming Schedule] to set the arming time.
Step 6: Click [Linkage Method] and set the linkage method as required.
Step 7: Click [Save] to complete the configuration.
iVMS330 Client Access
Step 1: Open your browser and visit http://www.herospeed.net/.
Step 2: Click [PC Client] → [iVMS330 (Windows)] or [iVMS330 (Mac)] to download the latest version of the video management system [iVMS330].
Step 3: Follow the prompts to install and add devices to view and manage the devices.























