motoalliance WP-098 Polaris Ranger 12″ EVOLUTION Electric Wiper Kit

Thank you for purchasing our MotoAlliance Wiper Kit. You now own a premium Wiper Kit for use with your SxS. Please note the following instructions and heed all warnings.
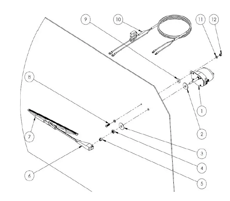
PARTS DESCRIPTIONS

| Item Number | Description | Quantity |
| 1 | Wiper Motor | 1 |
| 2 | Large White Plastic Washer | 1 |
| 3 | M10 Fender Washer | 1 |
| 4 | 3/8” Hex Nut (fine thread) | 1 |
| 5 | Rubber Cap | 1 |
| 6 | Wiper Arm | 1 |
| 7 | Wiper Blade | 1 |
| 8 | M6 x 20mm Round Head Socket | 1 |
| 9 | Small White Plastic Washer | 1 |
| 10 | Wiring Harness (with fuse) | 1 |
| 11 | M6 Lock Washer | 2 |
| 12 | M6 Lock Nut | 1 |
Instructions
- Identify a suitable location to mount the wiper assembly to the windshield. Make certain the motor location will allow for good wiper coverage and won’t interfere with the vehicle frame or dash.
- Using Template 1 as a guide drill a 3/8” hole and ¼” hole where the wiper motor will be mounted. Note: The wiper arm has an adjustable 90-degree sweep from the motor shaft and can be repositioned at any time.
- Install washers, bolts, nuts, rubber cap and motor as shown in Figure 1.
IMPORTANT NOTE: Do NOT exceed a max torque of 25-in/lbs when installing the nut on the brass shaft of wiper motor. Exceeding max torque may cause damage to the wiper motor and will not be covered under warranty. - Take the end of the wire harness with the smaller ring terminals and connect the red wire ring to the positive (+) terminal and the black wire ring to the negative (-) terminal on the wiper motor.
- Take the opposite end of the wire harness and connect the red wire ring to the positive 12 Volt power terminal (+) and the black wire ring to the ground terminal (-) on the battery.
Note: Make sure the included 5-amp fuse is securely in place before turning the power on for the first time. - Attach the wiper blade to the shaft and tighten the attachment bolt. If adjustment is required, loosen the attachment bolt, reposition the wiper arm, and then retighten the bolt.


















