RAIN BIRD ESP-TM2 WiFi Smart Controller User Manual
Features Description
| Feature | Description |
| Maximum zones | 8 |
| Automatic programs | 3 |
| Start times per program | 4 |
| Custom run days | Yes |
| Master valve control | Yes |
| Rain delay | Yes |
| Rain/freeze sensor control | Yes |
| Seasonal adjust | Yes |
| Manual zone run | Yes |
| Manual program run | Yes |
| Manual test all zones | Yes |
| Zone advance | Yes |
| Built-in WiFi | Yes |
| AP Hotspot | Yes |
Installation
If You’re Replacing an Existing Controller
- Take a photo of the wiring details, which will be useful to reference when installing the new controller.
- Unplug the power cord from the AC power outlet and disconnect wires from the controller.
Mount New Controller
- Unless installing with custom wiring, choose a mounting location on a wall within six feet of an AC power outlet and at least 15 feet away from major appliances or air conditioners.
WARNING
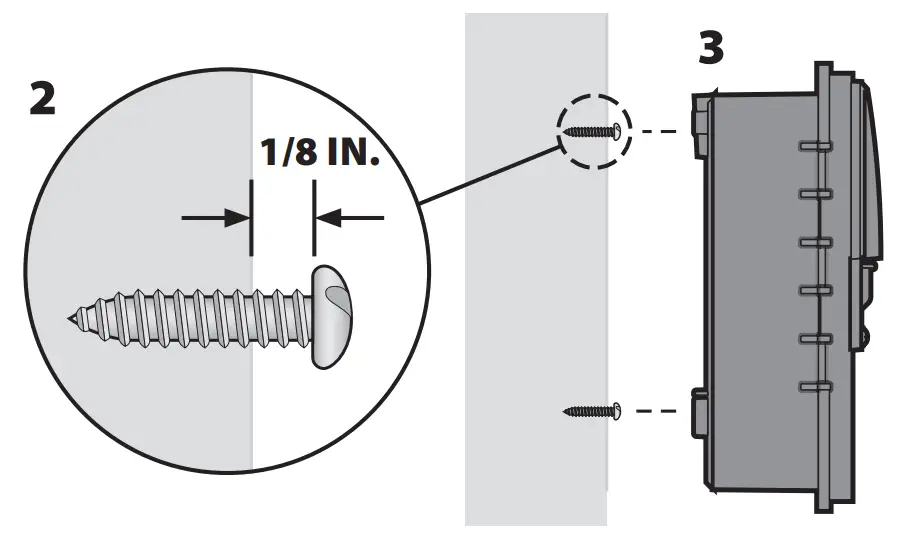
Install the controller with the power supply cord exit side pointing downwards to avoid ingress of water. - Drive a mounting screw into the wall, leaving an 1/8-inch gap between the screw head and the wall surface (use supplied wall anchors if necessary).
- Locate the keyhole slot on back of the controller and hang it securely on the mounting screw.

- Remove the wire bay cover on the lower part of the controller and drive a second screw through the open hole and into the wall (use supplied wall anchors if necessary).

Connect Valve Wiring
- With the wire bay cover removed, route all field wires through the opening at the bottom of the controller.
WARNING
DO NOT route valve wires through the same opening as power wires. - Connect one wire from each valve to one of the numbered zone terminals (1–8) on the controller.
NOTICE
DO NOT connect more than one valve to the same zone terminal (1–8). - Connect a field common wire to the common terminal (C) on the controller.
- For connection of optional accessories (rain or rain/freeze sensor, master valve, pump start relay), refer to the appropriate section within this manual.

Connect Custom Wiring (optional)
WARNING
- Ensure that AC power is disconnected before replacing wiring.
- The strain-relief bar must be resecured for safe and proper function.
- When using fixed wiring to main supply, the installation must incorporate a disconnection device.
- DO NOT apply power until you have completed and checked all wiring connections.
- DO NOT attempt to link two or more controllers together using a single transformer.
- If desired, the provided power cord can be removed and replaced with custom wiring.
- Remove the wire bay cover on the lower part of the controller.
- Locate the transformer box in the left-hand corner of the wire bay and unscrew the wiring compartment cover.
- Unscrew the wire nuts connecting the AC power cord and the transformer wires. Remove the power cord wires from the transformer box.
- Remove the factory installed power cord by loosening the two screws securing the metal strain-relief bar.
- Route the three wires from an external power source into the wiring compartment.
- Connect the external power supply wires using the wire nuts and resecure the metal strain relief bar by tightening the two screws.
Power Wiring Connections 120 VAC
- Black supply wire (live) to the black transformer wire
- White supply wire (neutral) to white transformer wire
- Green supply wire (ground) to the green transformer wire
Connect Rain/Freeze Sensor (optional)
NOTICE
- DO NOT remove the jumper wire unless connecting a rain or rain/freeze sensor. The controller will not function if the jumper wire is removed and a rain or rain/freeze sensor is not connected.
- Rain Bird controllers are only compatible with normally closed rain or rain/freeze sensors.
- Check local and/or state regulations to determine if a rain or rain/freeze sensor is required.
- Remove the yellow jumper wire from the SENS terminals on the controller.

- Connect both rain or rain/freeze sensor wires to the SENS terminals.

- For detailed installation and operation of rain or rain/freeze sensor, refer to sensor manufacturer’s installation instructions.
Connect Master Valve (optional)
WARNING
DO NOT route the master valve wires through the same opening as the power wires.
- Using a direct burial cable, connect one of the wires from the master valve to the master valve terminal (M).
NOTICE
DO NOT connect more than one valve to the master valve terminal (M). - Connect the remaining wire from the master valve to the common terminal (C).

Connect Pump Start Relay (optional)
WARNING
DO NOT route the pump start relay wires through the same opening as the power wires.
NOTICE
- A pump start relay connects to the controller in the same way as a master valve, but connects differently at the water source.
- This controller DOES NOT provide power for a pump.
A relay must be wired according to pump manufacturer’s installation instructions.
- Using a direct burial cable, connect one of the wires from the pump start relay to the master valve terminal (M).
- Connect the remaining wire from the pump start relay to the common terminal (C).
- To avoid possible pump damage in the event run times are assigned to unused zones, connect a short jumper wire from all unused zone terminals to the nearest zone terminal in use.

- For detailed installation and operation of pump start relay, refer to pump manufacturer’s installation instructions.
Connect Power
- The controller comes with a standard six-foot power cord so it can be installed indoors or outdoors (if plugged into a weatherproof external outlet).
- The controller can be wired directly into a power supply by removing the power cord. It has an internal transformer that reduces supply voltage from 120 VAC to 24 VAC. You will need to connect power supply wires to the transformer’s three wires (live, neutral, ground). Refer to “Connect Custom Wiring” section for installation details.
WARNING
- Electric shock can cause severe injury or death.
Ensure power supply is turned OFF before connecting power wires. - DO NOT plug in or apply power to the controller until you have completed and checked all wiring connections.
- Disconnect or turn off the external power source before connecting or disconnecting wires to the controller.
Programming
Add a New Controller to the Rain Bird App
- Before mounting new controller, check the WiFi signal at controller.
- Verify minimum signal strength of two bars at controller.
- Mount controller closer to router or add signal booster if needed.
- Download and launch the Rain Bird App.




- Select “Add Controller” to begin the set-up wizard.
Set Date and Time
- When the controller is connected to WiFi, it will automatically set the date and time according to the local WiFi network settings. In the event of a power outage, the date and time will default to the local WiFi network settings.
- If a local WiFi network is not available at setup and the controller is connected to the Rain Bird App in AP Hotspot mode, the controller will default to the date and time in the mobile device settings. In the event of a power outage, the date and time will need to be manually reset by reconnecting the controller to your mobile device through AP Hotspot mode.
Create a Watering Schedule
- ADD PROGRAM(S): This controller is scheduled using up to three programs (A, B and C). Basic programs include instructions on watering days, start times and durations.
In the Rain Bird App, add a new program by selecting + PGM and an available program.
NOTICE- The first time you connect to the controller, the Rain Bird App will reflect the default program assigned to the controller. You can choose to retain, change, or set up a new program.
- Programming is stored in non-volatile memory and will remain in the controller in the event of a power outage.
- SET PROGRAM START TIME(S): This controller is scheduled using up to four independent starttimes per program. The start time(s) is the time of day at which the program will begin. Each start time will run every zone for its scheduled duration within that program.
- In the Rain Bird App, add a program start time by selecting the
icon. - Set the zone(s) and watering duration(s) associated with the start time by selecting the
icon.
NOTICE
Start times apply to the entire program, not individual zones. Depending on landscaping needs, multiple start times may be assigned for that program. Once the start time is set, the controller begins the watering cycle with the first zone; the other zones in the program follow in sequence.
- In the Rain Bird App, add a program start time by selecting the
- SET PROGRAM RUN DAYS: Run days are the specific days of the week in which watering occurs.
In the Rain Bird App, set the watering frequency by selecting Odd (days of the week), Even (days of the week), Custom or Cyclic (specific intervals).
NOTICE
Watering days apply to the entire program, not the individual zones. - SEASONAL ADJUST changes the watering duration (as a percent) for all zones associated with run times in an individual program. This may be manually adjusted in the Rain Bird App using the slider in the program settings.
NOTICE- The controller must be connected to WiFi to make automatic adjustments.
- An adjustment value of 100% is representative of irrigation during the average hottest time of year, so even if you’re experiencing warm weather on a summer day, you may not see an adjustment above 100%.
- RAIN DELAY: In the Rain Bird App, manually turn off automatic watering for a fixed number of days when it rains even without a rain sensor.
- Suspend watering for up to 14 days by selecting the
icon in the controller settings. - Slide the bar to the desired number of days to delay automatic watering.
- Select “Save” to store the setting.
NOTICE
The maximum numbers of days to delay watering is 14. After the days expire, automatic irrigation will begin again according to the programmed schedule.
- Suspend watering for up to 14 days by selecting the
Manual Watering
ON THE CONTROLLER
- To start manual watering, press the
button. - As a default, each zone will run for 10 minutes; you can choose to retain or change the watering duration in the Rain Bird App.
- The blinking LED will give indication for which zone is active.
- To advance to the next zone, press
the button. - To stop manual watering on the controller, press the
button.
IN RAIN BIRD APP
- To start manual watering, select the
icon and select manual watering preferences. - To advance to the next zone, select the
icon. - To stop manual watering in the Rain Bird App, select the
icon.
Automatic Watering
ON THE CONTROLLER
NOTICE
When operating in automatic mode, each program will run according to the start times, run days, and run times for each zone in sequence until all scheduled watering has been run.
- Press
to start automatic watering according to scheduled program(s). - The blinking LED will give indication for which zone is active.
- To advance to the next zone, press the
button. - To stop automatic watering on the controller, press the
button.
IN RAIN BIRD APP
The Rain Bird App offers a toggle to switch between automatic watering and off status.
Technical Support
For help setting up or operating the Rain Bird WiFi
Smart Controller, please call Rain Bird toll-free
Technical Support at: 1-800-RAIN BIRD
(800-724-6247) or visit www.rainbird.com.
For more information, including troubleshooting, scan the QR code:
Apple and the Apple logo are trademarks of Apple Inc., registered in the U.S. and other countries. App Store is a service mark of Apple Inc.
Google Play is a trademark of Google Inc.
LED Status on Controller
| LED | ACTION |
| STATUS flashing blue | Quick Pair broadcast mode |
| STATUS alternating red and green | AP Hotspot broadcast mode |
| STATUS solid green | WiFi broadcast mode |
| STATUS flashing red | Not connected |
| AUTO solid green | Automatic watering active |
| OFF solid red | Controller off |
| MANUAL flashing green | Manual watering active |
Product Description

- CONTROLLER DOOR: Removable door for protection against inclement weather
- AUTOMATIC WATERING: Watering occurs automatically according to programmed schedules
- OFF: Cancel all active watering immediately and disable automatic irrigation
- MANUAL WATERING: Start watering immediately for all zones in sequence
- PAIRING MODES: Toggles between AP Hotspot and WiFi pairing modes
- WIRING BAY: Contains the AC power transformer and terminal block to connect valve zone wires and optional accessories
- POWER CORD: 120 VAC transformer with six-foot AC power cord
Safety Information
WARNING
This appliance is not intended for use by persons (including children) with reduced physical, sensory or mental capacity, or lack of experience and knowledge unless they have been given supervision or instruction concerning use of the appliance by a person responsible for their safety. Children should be supervised to ensure that they do not play with the appliance.
If the supply cord is damaged, it must be replaced by the manufacturer, its service agent, or similarly qualified persons in order to avoid a hazard.
Special precautions must be taken when valve wires are located adjacent to, or share a conduit with other wires, such as those used for landscape lighting or other electrical systems.
Separate and insulate all conductors carefully, taking care not to damage wire insulation during installation. An electrical “short” (contact) between the valve wires and another power source can damage the controller and create a fire hazard.
CAUTION
This device must be installed to provide a separation distance of at least 20 cm from all persons and must not be co-located or operating in conjunction with any other antenna or transmitter.
NOTICE
Changes or modifications not expressly approved by Rain Bird could void the user’s authority to operate the equipment.
Use only Rain Bird approved accessory devices. Unapproved devices may damage the controller and void warranty.
All electrical connections and wiring runs must comply with local building codes. Some local codes require that only a licensed or certified electrician can install power. Only professional personnel should install the controller. Check your local building codes for guidance.
ISED NOTICE
This device contains licence-exempt transmitter(s)/receiver(s) that comply with Innovation, Science and Economic Development Canada’s licence-exempt RSS(s). Operation is subject to the following two conditions:
- This device may not cause interference.
- This device must accept any interference, including interference that may cause undesired operation of the device.
SUPPLIER’S DECLARATION OF CONFORMITY
47 CFR § 2.1077 Compliance Information
Unique identifier: RC2, ARC8
Responsible Party – Rain Bird Corporation, 9491 Ridgehaven Court, Suite C, San Diego, CA 92123, USA, www.rainbird.com
Note: This equipment has been tested and found to comply with the limits for a Class B digital device, pursuant to part 15 of the FCC Rules. These limits are designed to provide reasonable protection against harmful interference in a residential installation. This equipment generates, uses and can radiate radio frequency energy and, if not installed and used in accordance with the instructions, may cause harmful interference to radio communications. However, there is no guarantee that interference will not occur in a particular installation. If this equipment does cause harmful interference to radio or television reception, which can be determined by turning the equipment off and on, the user is encouraged to try to correct the interference by one or more of the following measures:
- Reorient or relocate the receiving antenna.
- Increase the separation between the equipment and receiver.
- Connect the equipment into an outlet on a circuit difierent from that to which the receiver is connected.
- Consult the dealer or an experienced radio/TV technician for help.
![]()






























